0
MAX5541
  • MAX5541

MAX5541

PRODUCTION

Low-Cost, +5V, Serial-Input, Voltage-Output, 16-Bit DAC Lowest Cost 16-Bit DAC

Analog Devices MAX5541 Product Info

10 February 2026 10

Features

  • Full 16-Bit Performance Without Adjustments
  • +5V Single-Supply Operation
  • Low Power: 1.5mW
  • 1µs Settling Time
  • Unbuffered Voltage Output Directly Drives 60kΩ Loads
  • SPI/QSPI/MICROWIRE-Compatible Serial Interface
  • Power-On Reset Circuit Clears DAC Output to 0V (unipolar mode)
  • Schmitt Trigger Inputs for Direct Optocoupler Interface
  • Choose MAX541 as a 1 LSB (max) INL Upgrade to the MAX5541

Part details & applications

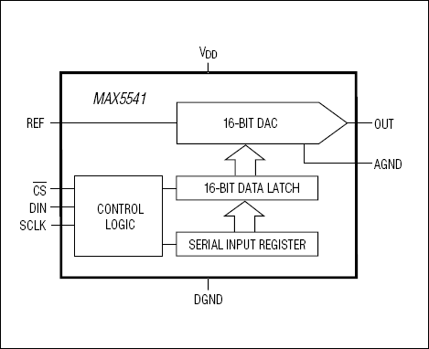
The MAX5541 serial-input, voltage-output, 16-bit monotonic digital-to-analog converter (DAC) operates from a single +5V supply. The DAC output is unbuffered, resulting in a low 0.3mA supply current and low 1 LSB offset error. The DAC output range is 0V to VREF. The DAC latch accepts a 16-bit serial word. A power-on reset (POR) circuit clears the DAC output to 0V (unipolar mode) when power is initially applied.

The 10MHz 3-wire serial interface is SPI™/QSPI™/MICROWIRE™-compatible and interfaces directly with optocouplers for applications requiring isolation. The MAX5541 is available in an 8-pin SO package. For the 1 LSB (max) INL version, refer to the MAX541 data sheet.

Mobile App

Applications

  • Automated Test Equipment (ATE)
  • Data Acquisition
  • High-Resolution Offset and Gain Adjustment
  • Industrial Process Controls

Subscribe to Welllinkchips !
Your Name
* Email
Submit a request