0
SN74AVCH2T45
  • SN74AVCH2T45
  • SN74AVCH2T45
  • SN74AVCH2T45
  • SN74AVCH2T45

SN74AVCH2T45

ACTIVE

Dual-Bit Dual-Supply Bus Transceiver With Configurable Voltage Translation Aan 3-State Outputs

Texas Instruments SN74AVCH2T45 Product Info

1 April 2026 0

Parameters

Bits (#)

2

Data rate (max) (Mbps)

500

Topology

Push-Pull

Vin (min) (V)

1.2

Vin (max) (V)

3.6

Vout (min) (V)

1.2

Vout (max) (V)

3.6

Applications

GPIO, I2S

Features

Bus-hold, Overvoltage tolerant inputs, Partial power down (Ioff)

Prop delay (ns)

6.6

Technology family

AVC

Supply current (max) (mA)

0.02

Rating

Catalog

Operating temperature range (°C)

-40 to 85

Package

DSBGA (YZP)-8-2.8125 mm² 2.25 x 1.25

Features

  • Available in the Texas Instruments NanoFree™ Package
  • VCC Isolation
  • 2-Rail Design
  • I/Os are 4.6V Tolerant
  • Partial Power-Down-Mode Operation
  • Bus Hold on Data Inputs
  • Maximum Data Rates
    • 500Mbps (1.8V to 3.3V)
    • 320Mbps (< 1.8V to 3.3V)
    • 320Mbps (Level-Shifting to 2.5V or 1.8V)
    • 280Mbps (Level-Shifting to 1.5V)
    • 240Mbps (Level-Shifting to 1.2V)
  • Latch-Up Performance Exceeds 100mA Per JESD 78, Class II
  • ESD Protection Exceeds JESD 22
  • Available in the Texas Instruments NanoFree™ Package
  • VCC Isolation
  • 2-Rail Design
  • I/Os are 4.6V Tolerant
  • Partial Power-Down-Mode Operation
  • Bus Hold on Data Inputs
  • Maximum Data Rates
    • 500Mbps (1.8V to 3.3V)
    • 320Mbps (< 1.8V to 3.3V)
    • 320Mbps (Level-Shifting to 2.5V or 1.8V)
    • 280Mbps (Level-Shifting to 1.5V)
    • 240Mbps (Level-Shifting to 1.2V)
  • Latch-Up Performance Exceeds 100mA Per JESD 78, Class II
  • ESD Protection Exceeds JESD 22

Description

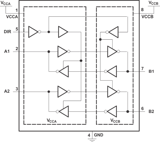
This 2-bit non-inverting bus transceiver uses two separate configurable power-supply rails. The A ports are designed to track VCCA and accepts any supply voltage from 1.2V to 3.6V. The B ports are designed to track VCCB and accepts any supply voltage from 1.2V to 3.6V. This allows for universal low-voltage bidirectional translation and level-shifting between any of the 1.2V, 1.5V, 1.8V, 2.5V, and 3.3V voltage nodes.

The SN74AVCH2T45 is designed for asynchronous communication between two data buses. The logic levels of the direction-control (DIR pin) input activate either the B-port outputs or the A-port outputs. The device transmits data from the A bus to the B bus when the B-port outputs are activated and from the B bus to the A bus when the A-port outputs are activated. The SN74AVCH2T45 features active bus-hold circuitry, which holds unused or un-driven inputs at a valid logic state. TI does not recommend using pull-up or pull-down resistors with the bus-hold circuitry.

This device is fully specified for partial-power-down applications using Ioff. The Ioff circuitry disables the outputs, preventing damaging current backflow through the device when it is powered down. The VCC isolation feature ensures that if either VCC input is at GND, then both outputs are in the high-impedance state. The bus-hold circuitry on the powered-up side always stays active.

Active bus-hold circuitry holds unused or un-driven inputs at a valid logic state. NanoFree package technology is a major breakthrough in IC packaging concepts, using the die as the package.

This 2-bit non-inverting bus transceiver uses two separate configurable power-supply rails. The A ports are designed to track VCCA and accepts any supply voltage from 1.2V to 3.6V. The B ports are designed to track VCCB and accepts any supply voltage from 1.2V to 3.6V. This allows for universal low-voltage bidirectional translation and level-shifting between any of the 1.2V, 1.5V, 1.8V, 2.5V, and 3.3V voltage nodes.

The SN74AVCH2T45 is designed for asynchronous communication between two data buses. The logic levels of the direction-control (DIR pin) input activate either the B-port outputs or the A-port outputs. The device transmits data from the A bus to the B bus when the B-port outputs are activated and from the B bus to the A bus when the A-port outputs are activated. The SN74AVCH2T45 features active bus-hold circuitry, which holds unused or un-driven inputs at a valid logic state. TI does not recommend using pull-up or pull-down resistors with the bus-hold circuitry.

This device is fully specified for partial-power-down applications using Ioff. The Ioff circuitry disables the outputs, preventing damaging current backflow through the device when it is powered down. The VCC isolation feature ensures that if either VCC input is at GND, then both outputs are in the high-impedance state. The bus-hold circuitry on the powered-up side always stays active.

Active bus-hold circuitry holds unused or un-driven inputs at a valid logic state. NanoFree package technology is a major breakthrough in IC packaging concepts, using the die as the package.

Subscribe to Welllinkchips !
Your Name
* Email
Submit a request