0
PCM1794A-Q1
  • PCM1794A-Q1
  • PCM1794A-Q1

PCM1794A-Q1

ACTIVE

132-dB, 24-bit, 192-kHz advanced Segment, Audio Stereo Digital-to-Analog Converter

Texas Instruments PCM1794A-Q1 Product Info

1 April 2026 1

Parameters

Number of DAC channels

2

Sampling rate (min) (kHz)

10

Sampling rate (max) (kHz)

192

THD+N (dB)

-88

Control interface

H/W

Resolution (Bits)

24

DAC SNR (typ) (dB)

127

Analog outputs

2

Architecture

Advanced Segment

Operating temperature range (°C)

-40 to 125

Rating

Automotive

Package

SSOP (DB)-28-79.56 mm² 10.2 x 7.8

Features

  • Qualified for Automotive Applications
  • AEC-Q100 Qualified With the Following Results:
    • Device Temperature Grade 1: –40°C to +125°C Ambient Operating Temperature Range
    • Device HBM Classification Level 2
    • Device CDM Classification Level C6
  • 24-Bit Resolution
  • Analog Performance:
    • Dynamic Range:
      • 132 dB (9 V RMS, Mono)
      • 129 dB (4.5 V RMS, Stereo)
      • 127 dB (2 V RMS, Stereo)
    • THD+N: 0.0004%
  • Differential Current Output: 7.8 mA p-p
  • 8× Oversampling Digital Filter:
    • Stop-Band Attenuation: –130 dB
    • Pass-Band Ripple: ±0.00001 dB
  • Sampling Frequency: 10 kHz to 200 kHz
  • System Clock: 128, 192, 256, 384, 512, or 768 fS With Autodetect
  • Accepts 16-Bit and 24-Bit Audio Data
  • PCM Data Formats: Standard, I2S, and Left-Justified
  • Optional Interface Available to External Digital Filter or DSP
  • Digital De-Emphasis
  • Digital Filter Rolloff: Sharp or Slow
  • Soft Mute
  • Zero Flag
  • Dual-Supply Operation: 5-V Analog, 3.3-V Digital
  • 5-V Tolerant Digital Inputs
  • Small 28-Pin SSOP Package

All trademarks are the property of their respective owners.

  • Qualified for Automotive Applications
  • AEC-Q100 Qualified With the Following Results:
    • Device Temperature Grade 1: –40°C to +125°C Ambient Operating Temperature Range
    • Device HBM Classification Level 2
    • Device CDM Classification Level C6
  • 24-Bit Resolution
  • Analog Performance:
    • Dynamic Range:
      • 132 dB (9 V RMS, Mono)
      • 129 dB (4.5 V RMS, Stereo)
      • 127 dB (2 V RMS, Stereo)
    • THD+N: 0.0004%
  • Differential Current Output: 7.8 mA p-p
  • 8× Oversampling Digital Filter:
    • Stop-Band Attenuation: –130 dB
    • Pass-Band Ripple: ±0.00001 dB
  • Sampling Frequency: 10 kHz to 200 kHz
  • System Clock: 128, 192, 256, 384, 512, or 768 fS With Autodetect
  • Accepts 16-Bit and 24-Bit Audio Data
  • PCM Data Formats: Standard, I2S, and Left-Justified
  • Optional Interface Available to External Digital Filter or DSP
  • Digital De-Emphasis
  • Digital Filter Rolloff: Sharp or Slow
  • Soft Mute
  • Zero Flag
  • Dual-Supply Operation: 5-V Analog, 3.3-V Digital
  • 5-V Tolerant Digital Inputs
  • Small 28-Pin SSOP Package

All trademarks are the property of their respective owners.

Description

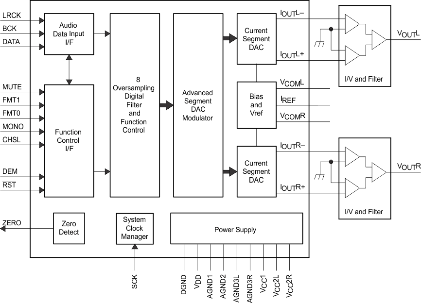
The PCM1794A-Q1 device is a monolithic, CMOS-integrated circuit that includes stereo digital-to-analog converters (DACs) and support circuitry in a small 28-pin SSOP package. The data converters use TI’s advanced segment DAC architecture to achieve excellent dynamic performance and improved tolerance to clock jitter. The PCM1794A-Q1 device provides balanced current outputs, allowing the user to optimize analog performance externally. Sampling rates up to 200 kHz are supported.

For all available packages, see the orderable addendum at the end of the data sheet.

The PCM1794A-Q1 device is a monolithic, CMOS-integrated circuit that includes stereo digital-to-analog converters (DACs) and support circuitry in a small 28-pin SSOP package. The data converters use TI’s advanced segment DAC architecture to achieve excellent dynamic performance and improved tolerance to clock jitter. The PCM1794A-Q1 device provides balanced current outputs, allowing the user to optimize analog performance externally. Sampling rates up to 200 kHz are supported.

For all available packages, see the orderable addendum at the end of the data sheet.

Subscribe to Welllinkchips !
Your Name
* Email
Submit a request