0
LM75B
  • LM75B
  • LM75B
  • LM75B
  • LM75B
  • LM75B

LM75B

ACTIVE

±2°C, 3.0V to 5.5V industry standard temperature sensor with I2C/SMBus interface

Texas Instruments LM75B Product Info

1 April 2026 0

Parameters

Local sensor accuracy (max)

2

Type

Local

Operating temperature range (°C)

-55 to 125

Supply voltage (min) (V)

3

Interface type

I2C, SMBus

Supply voltage (max) (V)

5.5

Features

UL recognized

Supply current (max) (µA)

500

Temp resolution (max) (bps)

9

Remote channels (#)

0

Addresses

8

Rating

Catalog

Package

SOIC (D)-8-29.4 mm² 4.9 x 6

Features

  • No External Components Required
  • Shutdown Mode to Minimize Power Consumption
  • Up to Eight LM75s Can be Connected to a Single Bus
  • Power Up Defaults Permit Stand-alone Operation as Thermostat
  • UL Recognized Component (LM75B and LM75C)
  • Key Specifications:
    • Supply Voltage
      • LM75B, LM75C: 3 V to 5.5 V
    • Supply Current
      • Operating: 280 μA (typical)
      • Shutdown: 4 μA (typical)
    • Temperature Accuracy
      • −25°C to 100°C: ±2°C (maximum)
      • −55°C to 125°C: ±3°C (maximum)

All trademarks are the property of their respective owners.

  • No External Components Required
  • Shutdown Mode to Minimize Power Consumption
  • Up to Eight LM75s Can be Connected to a Single Bus
  • Power Up Defaults Permit Stand-alone Operation as Thermostat
  • UL Recognized Component (LM75B and LM75C)
  • Key Specifications:
    • Supply Voltage
      • LM75B, LM75C: 3 V to 5.5 V
    • Supply Current
      • Operating: 280 μA (typical)
      • Shutdown: 4 μA (typical)
    • Temperature Accuracy
      • −25°C to 100°C: ±2°C (maximum)
      • −55°C to 125°C: ±3°C (maximum)

All trademarks are the property of their respective owners.

Description

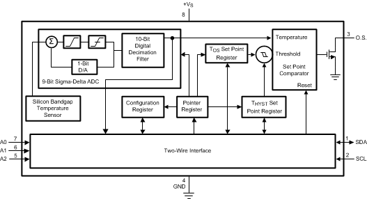
The LM75B and LM75C are industry-standard digital temperature sensors with an integrated Sigma-Delta analog-to-digital converter and I2C interface. The LM75 provides 9-bit digital temperature readings with an accuracy of ±2°C from -25°C to 100°C and ±3°C over –55°C to 125°C.

Communication is accomplished over a 2-wire interface which operates up to 400kHz. The LM75 has three address pins, allowing up to eight LM75 devices to operate on the same 2-wire bus. The LM75 has a dedicated over-temperature output (O.S.) with programmable limit and hystersis. This output has programmable fault tolerance, which allows the user to define the number of consecutive error conditions that must occur before O.S. is activated.

The wide temperature and supply range and I2C interface make the LM75 ideal for a number of applications including base stations, electronic test equipment, office electronics, personal computers, and any other system where thermal management is critical to performance. The LM75B and LM75C are available in an SOIC package or VSSOP package.

The LM75B and LM75C are industry-standard digital temperature sensors with an integrated Sigma-Delta analog-to-digital converter and I2C interface. The LM75 provides 9-bit digital temperature readings with an accuracy of ±2°C from -25°C to 100°C and ±3°C over –55°C to 125°C.

Communication is accomplished over a 2-wire interface which operates up to 400kHz. The LM75 has three address pins, allowing up to eight LM75 devices to operate on the same 2-wire bus. The LM75 has a dedicated over-temperature output (O.S.) with programmable limit and hystersis. This output has programmable fault tolerance, which allows the user to define the number of consecutive error conditions that must occur before O.S. is activated.

The wide temperature and supply range and I2C interface make the LM75 ideal for a number of applications including base stations, electronic test equipment, office electronics, personal computers, and any other system where thermal management is critical to performance. The LM75B and LM75C are available in an SOIC package or VSSOP package.

Subscribe to Welllinkchips !
Your Name
* Email
Submit a request