0
MAX5101
  • MAX5101

MAX5101

PRODUCTION

+2.7V to +5.5V, Low-Power, Triple, Parallel 8-Bit DAC with Rail-to-Rail Voltage Outputs Lowest-Power, Triple, Parallel 8-Bit DAC

Analog Devices MAX5101 Product Info

10 February 2026 8

Features

  • +2.7V to +5.5V Single-Supply Operation
  • Ultra-Low Supply Current
    • 0.3mA while Operating
    • 1µA in Software Shutdown Mode
  • Ultra-Small 16-Pin TSSOP Package
  • Output Buffer Amplifiers Swing Rail-to-Rail
  • Power-On Reset Sets All Registers to Zero

Part details & applications

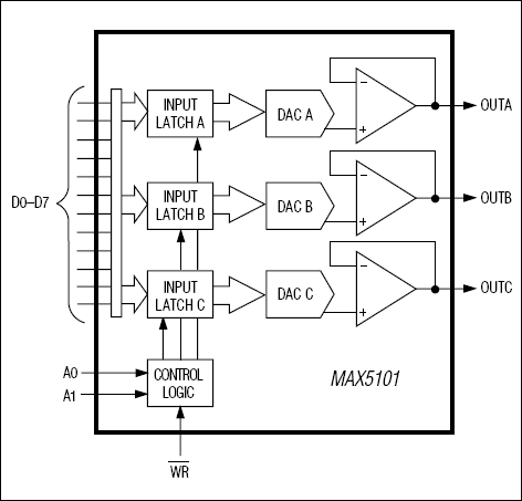
The MAX5101 parallel-input, voltage-output, triple 8-bit digital-to-analog converter (DAC) operates from a single +2.7V to +5.5V supply and comes in a space-saving 16-pin TSSOP package. Internal precision buffers swing Rail-to-Rail. For all three DACs, the internal reference voltage is tied to VDD.

The MAX5101 has separate input latches for each of its three DACs. Data is transferred to the input latches from a common 8-bit input port. The DACs are individually selected through address inputs A0 and A1 and are updated by bringing active-low WR low. The MAX5101 features a 1µA software shutdown mode, as well as a power-on reset mode that resets all registers to code 00 hex on power-up.

Applications

  • Digital Gain and Offset Control
  • Portable Instrumentation
  • Power-Amp Bias Control
  • Programmable Attenuators

Subscribe to Welllinkchips !
Your Name
* Email
Submit a request