0
LTC2193
  • LTC2193
  • LTC2193
  • LTC2193

LTC2193

PRODUCTION

16-Bit, 80Msps Low Power Dual ADCs

Analog Devices LTC2193 Product Info

10 February 2026 7

Features

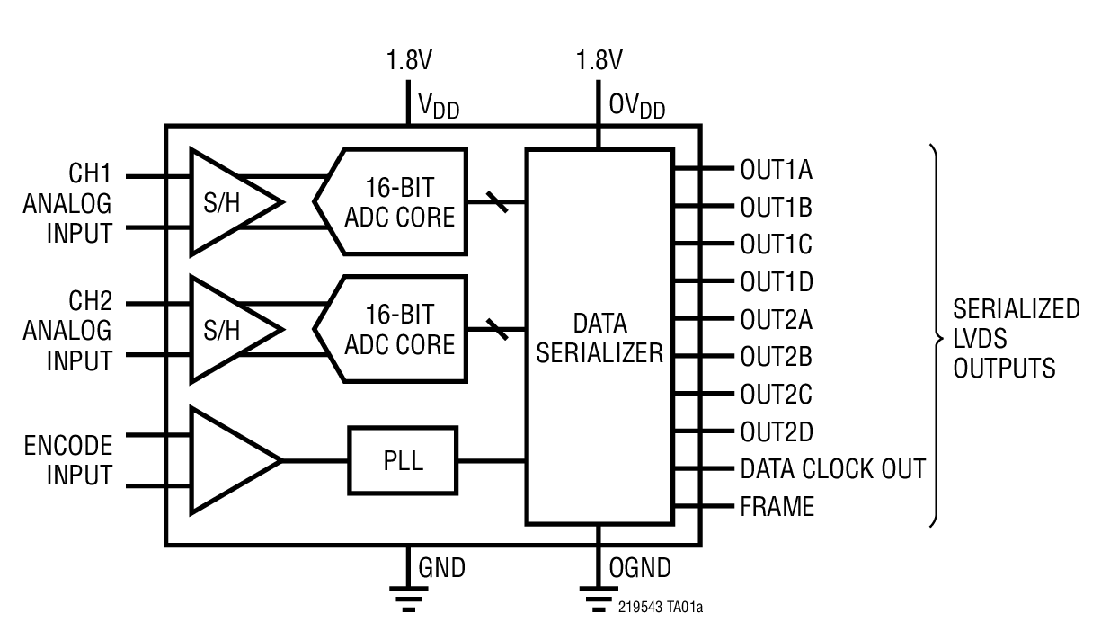
  • 2-Channel Simultaneous Sampling ADC
  • Serial LVDS Outputs: 1, 2 or 4 Bits per Channel
  • 76.8dB SNR
  • 90dB SFDR
  • Low Power: 432mW/360mW/249mW Total
  • 216mW/180mW/125mW per Channel
  • Single 1.8V Supply
  • Selectable Input Ranges: 1VP-P to 2VP-P
  • 550MHz Full-Power Bandwidth S/H
  • Shutdown and Nap Modes
  • Serial SPI Port for Configuration
  • 52-Pin (7mm × 8mm) QFN Package

Part details & applications

The LTC2195/LTC2194/LTC2193 are 2-channel, simultaneous sampling 16-bit A/D converters designed for digitizing high frequency, wide dynamic range signals. They are perfect for demanding communications applications with AC performance that includes 76.8dB SNR and 90dB spurious free dynamic range (SFDR). Ultralow jitter of 0.07psRMS allows undersampling of IF frequencies with excellent noise performance.

DC specs include ±2LSB INL (typ), ±0.5LSB DNL (typ) and no missing codes over temperature. The transition noise is 3.4LSBRMS.

To minimize the number of data lines the digital outputs are serial LVDS. Each channel outputs two bits or four bits at a time. At lower sampling rates there is a one bit per channel option. The LVDS drivers have optional internal termination and adjustable output levels to ensure clean signal integrity.

The ENC+ and ENC inputs may be driven differentially or single ended with a sine wave, PECL, LVDS, TTL or CMOS inputs. An internal clock duty cycle stabilizer allows high performance at full speed for a wide range of clock duty cycles.

Applications

  • Communications
  • Cellular Base Stations
  • Software-Defined Radios
  • Portable Medical Imaging
  • Multi-Channel Data Acquisition
  • Nondestructive Testing

Subscribe to Welllinkchips !
Your Name
* Email
Submit a request