0
TUSB8043
  • TUSB8043
  • TUSB8043

TUSB8043

ACTIVE

4-Port SuperSpeed 5.0 Gbps USB 3.1 Hub with HID to I2C

Texas Instruments TUSB8043 Product Info

1 April 2026 0

Parameters

Function

USB3

USB speed (Mbps)

5000

Type

Hub

Supply voltage (V)

1.1, 3.3

Rating

Catalog

Operating temperature range (°C)

0 to 70

Package

VQFN (RGC)-64-81 mm² 9 x 9

Features

  • Four Port USB 3.1 Gen1 Hub
  • USB 2.0 Hub Features
    • Multi Transaction Translator (MTT) Hub: Four Transaction Translators
    • Two Asynchronous Endpoint Buffers Per Transaction Translator
  • Supports Battery Charging:
    • Supports D+/D- Divider Charging Port (ACP1, ACP2, and ACP3) when the Upstream Port is Unconnected or not Configured
    • Supports Automatic Mode for Transition Between DCP or ACP Modes When the Upstream Port is Unconnected
    • Supports Galaxy Charging
    • CDP Mode (Upstream Port Connected)
    • DCP Mode (Upstream Port Unconnected)
    • DCP Mode Complies with Chinese Telecommunications Industry Standard YD/T 1591-2009
  • Supports Operation as a USB 3.1 Gen1 or USB 2.0 Compound Device
  • Per Port or Ganged Power Switching and Over-Current Notification Inputs
  • Supports Four External Downstream Ports plus internal USB 2.0-Only Port for USB HID to I2C Functionality
  • Internal Downstream Port for I2C Control Through USB HID Supports High-Speed, Full-Speed Operation. Its Speed Matches That of the Upstream Port.
  • Supports Vendor Requests to Read and Write I2C and EEPROM Read at 100 k and 400 k (Default)
  • I2C Master Supports Clock Stretching
  • OTP ROM, Serial EEPROM or I2C/SMBus Slave Interface for Custom Configurations:
    • VID and PID
    • Port Customizations
    • Manufacturer and Product Strings (not by OTP ROM)
    • Serial Number (not by OTP ROM)
  • Application Feature Selection Using Pin Selection or EEPROM or I2C/SMBus Slave Interface
  • Provides 128-Bit Universally Unique Identifier (UUID)
  • Supports On-Board and In-System EEPROM Programming Via the USB 2.0 Upstream Port
  • Single Clock Input, 24-MHz Crystal or Oscillator
  • Downstream Ports Configurable to USB2.0 Only
  • 64-Pin QFN Package (RGC)
  • Four Port USB 3.1 Gen1 Hub
  • USB 2.0 Hub Features
    • Multi Transaction Translator (MTT) Hub: Four Transaction Translators
    • Two Asynchronous Endpoint Buffers Per Transaction Translator
  • Supports Battery Charging:
    • Supports D+/D- Divider Charging Port (ACP1, ACP2, and ACP3) when the Upstream Port is Unconnected or not Configured
    • Supports Automatic Mode for Transition Between DCP or ACP Modes When the Upstream Port is Unconnected
    • Supports Galaxy Charging
    • CDP Mode (Upstream Port Connected)
    • DCP Mode (Upstream Port Unconnected)
    • DCP Mode Complies with Chinese Telecommunications Industry Standard YD/T 1591-2009
  • Supports Operation as a USB 3.1 Gen1 or USB 2.0 Compound Device
  • Per Port or Ganged Power Switching and Over-Current Notification Inputs
  • Supports Four External Downstream Ports plus internal USB 2.0-Only Port for USB HID to I2C Functionality
  • Internal Downstream Port for I2C Control Through USB HID Supports High-Speed, Full-Speed Operation. Its Speed Matches That of the Upstream Port.
  • Supports Vendor Requests to Read and Write I2C and EEPROM Read at 100 k and 400 k (Default)
  • I2C Master Supports Clock Stretching
  • OTP ROM, Serial EEPROM or I2C/SMBus Slave Interface for Custom Configurations:
    • VID and PID
    • Port Customizations
    • Manufacturer and Product Strings (not by OTP ROM)
    • Serial Number (not by OTP ROM)
  • Application Feature Selection Using Pin Selection or EEPROM or I2C/SMBus Slave Interface
  • Provides 128-Bit Universally Unique Identifier (UUID)
  • Supports On-Board and In-System EEPROM Programming Via the USB 2.0 Upstream Port
  • Single Clock Input, 24-MHz Crystal or Oscillator
  • Downstream Ports Configurable to USB2.0 Only
  • 64-Pin QFN Package (RGC)

Description

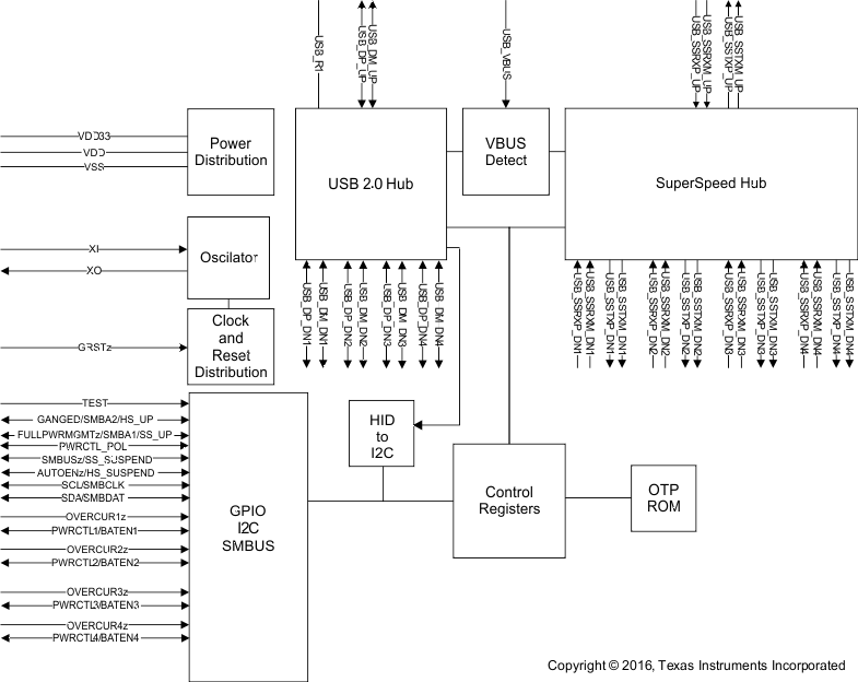
The TUSB8043 is a four-port USB 3.1 Gen1 hub. It provides simultaneous SuperSpeed USB and high-speed/full-speed connections on the upstream port and provides SuperSpeed USB, high-speed, full-speed, or low-speed connections on the downstream ports. When the upstream port is connected to an electrical environment that only supports high-speed or full-speed/low-speed connections, SuperSpeed USB connectivity is disabled on the downstream ports.

When the upstream port is connected to an electrical environment that only supports full-speed/low-speed connections, SuperSpeed USB and high-speed connectivity are disabled on the downstream ports.

The TUSB8043 supports per port or ganged power switching and over-current protection, and supports battery charging applications.

An individually port power controlled hub switches power on or off to each downstream port as requested by the USB host. Also when an individually port power controlled hub senses an over-current event, only power to the affected downstream port will be switched off.

A ganged hub switches on power to all its downstream ports when power is required to be on for any port. The power to the downstream ports is not switched off unless all ports are in a state that allows power to be removed. Also when a ganged hub senses an over-current event, power to all downstream ports will be switched off.

The TUSB8043 downstream ports provide support for battery charging applications by providing Battery Charging Downstream Port (CDP) handshaking support. It also supports a Dedicated Charging Port (DCP) mode when the upstream port is not connected. The DCP mode supports USB devices which support with the USB Battery Charging, Galaxy Charging, and Chinese Telecommunications Industry Standard YD/T 1591-2009. In addition when upstream port is unconnected, the TUSB8043 supports the divider charging port modes (ACPx modes) and an automatic transition through all modes, starting with ACP3 and ending in DCP.

The TUSB8043 provides pin strap configuration for some features including battery charging support, and also provides customization though OTP ROM, I2C EEPROM, or via an I2C/SMBus slave interface for PID, VID, and custom port and phy configurations. Custom string support is also available when using an I2C EEPROM or the I2C/SMBus slave interface.

The TUSB8043 supports programming of an attached EEPROM through its internal USB HID to I2C interface.

The device is available in a 64-pin RGC package and is offered in a commercial version for operation over the temperature range of 0°C to 70°C.

The TUSB8043 is a four-port USB 3.1 Gen1 hub. It provides simultaneous SuperSpeed USB and high-speed/full-speed connections on the upstream port and provides SuperSpeed USB, high-speed, full-speed, or low-speed connections on the downstream ports. When the upstream port is connected to an electrical environment that only supports high-speed or full-speed/low-speed connections, SuperSpeed USB connectivity is disabled on the downstream ports.

When the upstream port is connected to an electrical environment that only supports full-speed/low-speed connections, SuperSpeed USB and high-speed connectivity are disabled on the downstream ports.

The TUSB8043 supports per port or ganged power switching and over-current protection, and supports battery charging applications.

An individually port power controlled hub switches power on or off to each downstream port as requested by the USB host. Also when an individually port power controlled hub senses an over-current event, only power to the affected downstream port will be switched off.

A ganged hub switches on power to all its downstream ports when power is required to be on for any port. The power to the downstream ports is not switched off unless all ports are in a state that allows power to be removed. Also when a ganged hub senses an over-current event, power to all downstream ports will be switched off.

The TUSB8043 downstream ports provide support for battery charging applications by providing Battery Charging Downstream Port (CDP) handshaking support. It also supports a Dedicated Charging Port (DCP) mode when the upstream port is not connected. The DCP mode supports USB devices which support with the USB Battery Charging, Galaxy Charging, and Chinese Telecommunications Industry Standard YD/T 1591-2009. In addition when upstream port is unconnected, the TUSB8043 supports the divider charging port modes (ACPx modes) and an automatic transition through all modes, starting with ACP3 and ending in DCP.

The TUSB8043 provides pin strap configuration for some features including battery charging support, and also provides customization though OTP ROM, I2C EEPROM, or via an I2C/SMBus slave interface for PID, VID, and custom port and phy configurations. Custom string support is also available when using an I2C EEPROM or the I2C/SMBus slave interface.

The TUSB8043 supports programming of an attached EEPROM through its internal USB HID to I2C interface.

The device is available in a 64-pin RGC package and is offered in a commercial version for operation over the temperature range of 0°C to 70°C.

Subscribe to Welllinkchips !
Your Name
* Email
Submit a request