0
TS3L500AE
  • TS3L500AE
  • TS3L500AE

TS3L500AE

ACTIVE

3.3-V, 2:1 (SPDT), 8-channel gigachannel LAN switch with LED switch & enhanced ESD protection

Texas Instruments TS3L500AE Product Info

1 April 2026 1

Parameters

Protocols

10 BASE-T, 100 BASE-T, 1000 BASE-T, LAN, LVDS

Configuration

2:1 SPDT

Number of channels

11

Bandwidth (MHz)

950

Supply voltage (max) (V)

3.6

Supply voltage (min) (V)

3

Ron (typ) (mΩ)

4000

Input/output voltage (min) (V)

0

Input/output voltage (max) (V)

3.6

Supply current (typ) (µA)

250

ESD HBM (typ) (kV)

14

Operating temperature range (°C)

-40 to 85

Crosstalk (dB)

-37

ESD CDM (kV)

8

Input/output continuous current (max) (mA)

128

COFF (typ) (pF)

3

CON (typ) (pF)

3

Off isolation (typ) (dB)

-37

OFF-state leakage current (max) (µA)

1

Propagation delay time (µs)

0.00025

Ron (max) (mΩ)

6000

Ron channel match (max) (Ω)

1

RON flatness (typ) (Ω)

0.5

Turnoff time (disable) (max) (ns)

9

Turnon time (enable) (max) (ns)

15

VIH (min) (V)

2

VIL (max) (V)

0.8

Rating

Catalog

Package

WQFN (RHU)-56-55 mm² 11 x 5

Features

  • Wide Bandwidth (BW = 950 MHz Typ)
  • Low Crosstalk (XTALK = –37 dB Typ)
  • Low Bit-to-Bit Skew (tsk(o) = 100 ps Max)
  • Low and Flat ON-State Resistance
    (ron = 4 Typ, ron(flat) = 0.5 Typ)
  • Low Input/Output Capacitance
    (CON = 8 pF Typ)
  • Rail-to-Rail Switching on Data I/O Ports
    (0 to 3.6 V)
  • VCC Operating Range From 3 V to 3.6 V
  • Latch-Up Performance Exceeds 100 mA Per JESD 78, Class II
  • ESD Performance
    • 8-kV IEC61000-4-2, Contact Discharge on Switch IOs
    • 3-kV Human Body Model Per JESD22-A114E
    • 14-kV Human Body Model (Switch Pins to GND)
  • APPLICATIONS
    • 10/100/1000 Base-T Signal Switching
    • Differential (LVDS, LVPECL) Signal Switching
    • Audio/Video Switching
    • Hub and Router Signal Switching

  • Wide Bandwidth (BW = 950 MHz Typ)
  • Low Crosstalk (XTALK = –37 dB Typ)
  • Low Bit-to-Bit Skew (tsk(o) = 100 ps Max)
  • Low and Flat ON-State Resistance
    (ron = 4 Typ, ron(flat) = 0.5 Typ)
  • Low Input/Output Capacitance
    (CON = 8 pF Typ)
  • Rail-to-Rail Switching on Data I/O Ports
    (0 to 3.6 V)
  • VCC Operating Range From 3 V to 3.6 V
  • Latch-Up Performance Exceeds 100 mA Per JESD 78, Class II
  • ESD Performance
    • 8-kV IEC61000-4-2, Contact Discharge on Switch IOs
    • 3-kV Human Body Model Per JESD22-A114E
    • 14-kV Human Body Model (Switch Pins to GND)
  • APPLICATIONS
    • 10/100/1000 Base-T Signal Switching
    • Differential (LVDS, LVPECL) Signal Switching
    • Audio/Video Switching
    • Hub and Router Signal Switching

Description

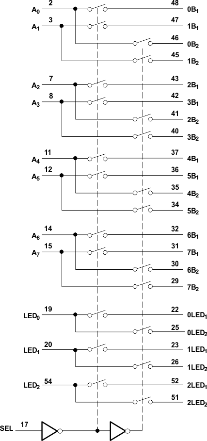
The TS3L500AE is a 16-bit to 8-bit multiplexer/demultiplexer LAN switch with a single select (SEL) input. SEL controls the data path of the multiplexer/demultiplexer. The device provides additional I/Os for switching status indicating LED signals and includes high ESD protection.

The device provides a low and flat ON-state resistance (ron) and an excellent ON-state resistance match. Low input/output capacitance, high bandwidth, low skew, and low crosstalk among channels make this device suitable for various LAN applications, such as 10/100/1000 Base-T.

This device can be used to replace mechanical relays in LAN applications. It also can be used to route signals from a 10/100 Base-T ethernet transceiver to the RJ-45 LAN connectors in laptops or in docking stations.

The TS3L500AE is a 16-bit to 8-bit multiplexer/demultiplexer LAN switch with a single select (SEL) input. SEL controls the data path of the multiplexer/demultiplexer. The device provides additional I/Os for switching status indicating LED signals and includes high ESD protection.

The device provides a low and flat ON-state resistance (ron) and an excellent ON-state resistance match. Low input/output capacitance, high bandwidth, low skew, and low crosstalk among channels make this device suitable for various LAN applications, such as 10/100/1000 Base-T.

This device can be used to replace mechanical relays in LAN applications. It also can be used to route signals from a 10/100 Base-T ethernet transceiver to the RJ-45 LAN connectors in laptops or in docking stations.