0
TPS65708
  • TPS65708
  • TPS65708

TPS65708

ACTIVE

4 Channel Power Management IC (PMIC) in Small Chipscale

Texas Instruments TPS65708 Product Info

1 April 2026 2

Parameters

Product type

Processor and FPGA

Regulated outputs (#)

4

Step-down DC/DC converter

2

Step-up DC/DC converter

0

LDO

2

Vin (min) (V)

0.8

Vin (max) (V)

6

Vout (min) (V)

1.2

Vout (max) (V)

3.3

Iout (max) (A)

0.4

Configurability

Factory programmable

Features

Power good, Power sequencing

Rating

Catalog

Operating temperature range (°C)

-40 to 85

Step-down DC/DC controller

0

Step-up DC/DC controller

0

Iq (typ) (mA)

0.14

Switching frequency (max) (kHz)

2250

Shutdown current (ISD) (typ) (µA)

6

Switching frequency (typ) (kHz)

2250

Package

DSBGA (YZH)-16-5.0625 mm² 2.25 x 2.25

Features

  • Two 400-mA Step-Down Converters
  • Up to 95% Efficiency
  • VIN Range for DC-DC Converters From
    3.6 V to 6 V
  • 2.25-MHz Fixed-Frequency Operation
  • Power Save Mode at Light Load Current
  • Output Voltage Accuracy in PWM mode ±1.5%
  • 100% Duty Cycle for Lowest Dropout
  • 180° Out-of-Phase Operation
  • 2 General Purpose 200-mA LDOs
  • LDOs Optionally Powered From Step-Down
    Converters
  • 7.5-mA PWM Dimmable Current Sink
  • Available in a 16-Ball DSBGA (WCSP) With
    0.5-mm Pitch
  • Device Options:
    • VDCDC1 = 3.3 V
    • VDCDC2 = 1.8 V
    • VLDO1 = 2.8 V
    • VLDO2 = 1.2 V
    • ISINK(PWM=1) = 7.5 mA
    • SEQUENCING : DCDC1, LDO1, DCDC2,
      LDO2
  • APPLICATIONS
    • Monitors
    • Laptops
    • Handheld Equipment

All other trademarks are the property of their respective owners

  • Two 400-mA Step-Down Converters
  • Up to 95% Efficiency
  • VIN Range for DC-DC Converters From
    3.6 V to 6 V
  • 2.25-MHz Fixed-Frequency Operation
  • Power Save Mode at Light Load Current
  • Output Voltage Accuracy in PWM mode ±1.5%
  • 100% Duty Cycle for Lowest Dropout
  • 180° Out-of-Phase Operation
  • 2 General Purpose 200-mA LDOs
  • LDOs Optionally Powered From Step-Down
    Converters
  • 7.5-mA PWM Dimmable Current Sink
  • Available in a 16-Ball DSBGA (WCSP) With
    0.5-mm Pitch
  • Device Options:
    • VDCDC1 = 3.3 V
    • VDCDC2 = 1.8 V
    • VLDO1 = 2.8 V
    • VLDO2 = 1.2 V
    • ISINK(PWM=1) = 7.5 mA
    • SEQUENCING : DCDC1, LDO1, DCDC2,
      LDO2
  • APPLICATIONS
    • Monitors
    • Laptops
    • Handheld Equipment

All other trademarks are the property of their respective owners

Description

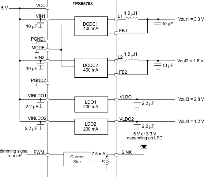
The TPS65708 device is a power management unit targeted for embedded camera modules or other portable low-power consumer end equipment. The device contains two high-efficiency step-down converters, two low-dropout linear regulators, and a 7.5-mA current sink for driving a LED. The 2.25-MHz step-down converter enters a low-power mode at light load for maximum efficiency across the widest possible range of load currents. For low-noise applications, the devices can be forced into fixed-frequency PWM mode using the MODE pin. The device allows the use of small inductors and capacitors to achieve a small solution size. The TPS65708 device provides an output current of up to 400 mA on both DC-DC converters and up to 200 mA on each of the LDOs. The enable signal to the DC-DC converters and LDOs is generated internally by the undervoltage lockout circuit.

The TPS65708 comes in a small 16-pin wafer chip-scale package (WCSP) with 0.5-mm ball pitch.

The TPS65708 device is a power management unit targeted for embedded camera modules or other portable low-power consumer end equipment. The device contains two high-efficiency step-down converters, two low-dropout linear regulators, and a 7.5-mA current sink for driving a LED. The 2.25-MHz step-down converter enters a low-power mode at light load for maximum efficiency across the widest possible range of load currents. For low-noise applications, the devices can be forced into fixed-frequency PWM mode using the MODE pin. The device allows the use of small inductors and capacitors to achieve a small solution size. The TPS65708 device provides an output current of up to 400 mA on both DC-DC converters and up to 200 mA on each of the LDOs. The enable signal to the DC-DC converters and LDOs is generated internally by the undervoltage lockout circuit.

The TPS65708 comes in a small 16-pin wafer chip-scale package (WCSP) with 0.5-mm ball pitch.

Subscribe to Welllinkchips !
Your Name
* Email
Submit a request