0
TPS62177
  • TPS62177
  • TPS62177

TPS62177

ACTIVE

28V, 0.5A Step-Down Converter with SNOOZE Mode Step Down Converter With Snooze/Sleep/Standby Mode Evaluation Module Board

Texas Instruments TPS62177 Product Info

1 April 2026 0

Parameters

Rating

Catalog

Topology

Buck

Iout (max) (A)

0.5

Vin (max) (V)

28

Vin (min) (V)

4.7

Vout (max) (V)

3.3

Vout (min) (V)

3.3

Features

Enable, Light-load efficiency, Output discharge, Power good, Synchronous rectification

Control mode

Constant on-time (COT), DCS-Control

Operating temperature range (°C)

-40 to 85

Iq (typ) (A)

0.0000048

Duty cycle (max) (%)

100

Package

WSON (DQC)-10-6 mm² 3 x 2

Features

  • DCS-Control™ Topology
  • Input Voltage Range 4.75 V to 28 V
  • Quiescent Current Typically 4.8 µA (Sleep Mode)
  • 100% Duty Cycle Mode
  • Active Output Discharge
  • Power Good Output
  • Output Current of 500 mA
  • Output Voltage Range 1 VDC to 6 V
  • Switching Frequency of Typically 1 MHz
  • Seamless Power Save Mode Transition
  • Undervoltage Lockout
  • Short Circuit Protection
  • Over Temperature Protection
  • Available in 2-mm × 3-mm 10-pin WSON Package
  • DCS-Control™ Topology
  • Input Voltage Range 4.75 V to 28 V
  • Quiescent Current Typically 4.8 µA (Sleep Mode)
  • 100% Duty Cycle Mode
  • Active Output Discharge
  • Power Good Output
  • Output Current of 500 mA
  • Output Voltage Range 1 VDC to 6 V
  • Switching Frequency of Typically 1 MHz
  • Seamless Power Save Mode Transition
  • Undervoltage Lockout
  • Short Circuit Protection
  • Over Temperature Protection
  • Available in 2-mm × 3-mm 10-pin WSON Package

Description

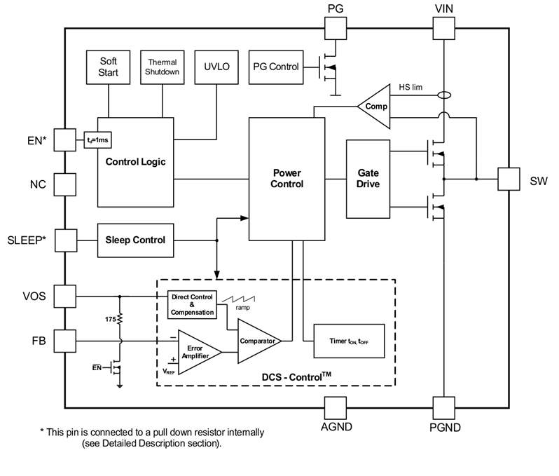
The TPS6217x is a high efficiency synchronous step-down DC/DC converter, based on the DCS-Control™ topology.

With a wide operating input voltage range of 4.75 V to 28 V, the device is ideally suited for systems powered from multi cell Li-Ion as well as 12 V and even higher intermediate supply rails, providing up to 500-mA output current.

The TPS6217x automatically enters power save mode at light loads, to maintain high efficiency across the whole load range. As well, it features a sleep mode to supply applications with advanced power save modes like ultra low power micro controllers. The power good output may be used for power sequencing and/or power on reset.

The device features a typical quiescent current of 22 µA in normal mode and 4.8 µA in sleep mode. In sleep mode, the efficiency at very low load currents can be increased by as much as 20%. In shutdown mode, the shutdown current is less than 2 µA and the output is actively discharged.

The TPS6217x, available in an adjustable and a fixed output voltage version, is packaged in a small 2-mm × 3-mm 10-pin WSON package.

The TPS6217x is a high efficiency synchronous step-down DC/DC converter, based on the DCS-Control™ topology.

With a wide operating input voltage range of 4.75 V to 28 V, the device is ideally suited for systems powered from multi cell Li-Ion as well as 12 V and even higher intermediate supply rails, providing up to 500-mA output current.

The TPS6217x automatically enters power save mode at light loads, to maintain high efficiency across the whole load range. As well, it features a sleep mode to supply applications with advanced power save modes like ultra low power micro controllers. The power good output may be used for power sequencing and/or power on reset.

The device features a typical quiescent current of 22 µA in normal mode and 4.8 µA in sleep mode. In sleep mode, the efficiency at very low load currents can be increased by as much as 20%. In shutdown mode, the shutdown current is less than 2 µA and the output is actively discharged.

The TPS6217x, available in an adjustable and a fixed output voltage version, is packaged in a small 2-mm × 3-mm 10-pin WSON package.

Subscribe to Welllinkchips !
Your Name
* Email
Submit a request