0
LM27762
  • LM27762
  • LM27762

LM27762

ACTIVE

Low-Noise Positive- and Negative-Output Charge Pump With Integrated LDO

Texas Instruments LM27762 Product Info

1 April 2026 1

Parameters

Rating

Catalog

Iout (max) (A)

0.25

Vin (max) (V)

5.5

Vin (min) (V)

2.7

Vout (max) (V)

5

Vout (min) (V)

-5

Features

Enable, Integrated LDO, Light-load efficiency, Multiple Outputs, Output discharge, Power good, Regulated, Split output, Split-supply, Synchronous rectification

Operating temperature range (°C)

-40 to 125

Iq (typ) (A)

0.00039

Package

WSON (DSS)-12-6 mm² 3 x 2

Features

  • Generates low-noise adjustable positive supply voltage between 1.5V and 5V and negative supply voltage between –1.5V and –5V
  • 2.7V to 5.5V input voltage range
  • ±250mA output current
  • Inverting charge pump followed by negative LDO
  • 2MHz low-noise fixed-frequency operation
  • 2.5Ω inverter output impedance, VIN = 5V
  • 30mV at 100mA negative LDO dropout voltage, VOUT = –5V
  • Positive LDO with 45mV dropout voltage at 100mA, VOUT = 5V
  • 390µA quiescent current (typical)
  • Shutdown quiescent current to 0.5µA (typical)
  • Current limit and thermal protection
  • Power-Good pin (active low)
  • Generates low-noise adjustable positive supply voltage between 1.5V and 5V and negative supply voltage between –1.5V and –5V
  • 2.7V to 5.5V input voltage range
  • ±250mA output current
  • Inverting charge pump followed by negative LDO
  • 2MHz low-noise fixed-frequency operation
  • 2.5Ω inverter output impedance, VIN = 5V
  • 30mV at 100mA negative LDO dropout voltage, VOUT = –5V
  • Positive LDO with 45mV dropout voltage at 100mA, VOUT = 5V
  • 390µA quiescent current (typical)
  • Shutdown quiescent current to 0.5µA (typical)
  • Current limit and thermal protection
  • Power-Good pin (active low)

Description

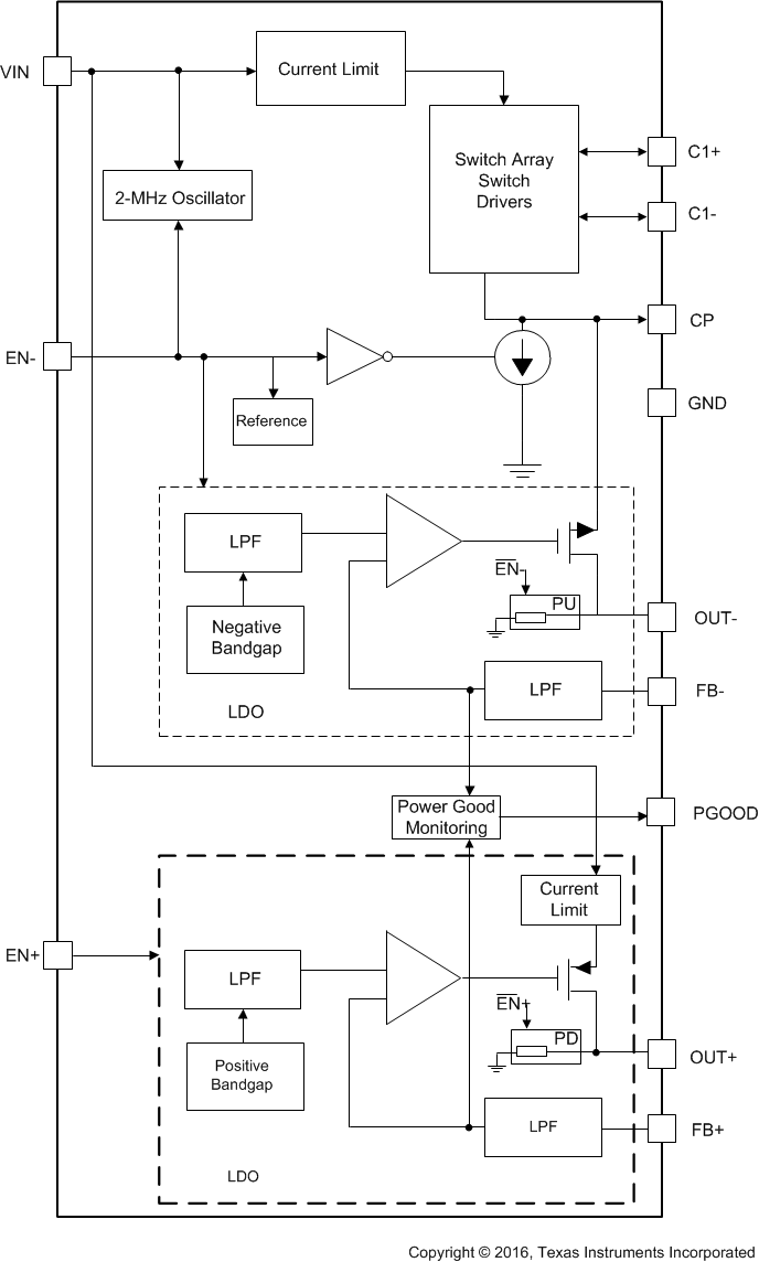
The LM27762 delivers very low-noise positive and negative outputs that are adjustable between ±1.5V and ±5V. Input voltage range is from 2.7V to 5.5V, and output current goes up to ±250mA. With an operating current of only 390µA and 0.5µA typical shutdown current, the LM27762 provides excellent performance for power amplifier and DAC bias and other high-current, low-noise negative voltage needs. The device provides a small design size with few external components.

Negative voltage is generated by a regulated inverting charge pump followed by a low-noise negative LDO. The inverting charge pump of the LM27762 device operates at 2MHz (typical) switching frequency to reduce output resistance and voltage ripple. Positive voltage is generated from the input by a low-noise positive LDO.

Positive and negative outputs of LM27762 have dedicated enable inputs. These outputs support independent timing for the positive and negative rails for specific system power-sequence needs. Enable inputs can be also shorted together and connected to the input voltage. The LM27762 has an optional Power-Good feature.

The LM27762 delivers very low-noise positive and negative outputs that are adjustable between ±1.5V and ±5V. Input voltage range is from 2.7V to 5.5V, and output current goes up to ±250mA. With an operating current of only 390µA and 0.5µA typical shutdown current, the LM27762 provides excellent performance for power amplifier and DAC bias and other high-current, low-noise negative voltage needs. The device provides a small design size with few external components.

Negative voltage is generated by a regulated inverting charge pump followed by a low-noise negative LDO. The inverting charge pump of the LM27762 device operates at 2MHz (typical) switching frequency to reduce output resistance and voltage ripple. Positive voltage is generated from the input by a low-noise positive LDO.

Positive and negative outputs of LM27762 have dedicated enable inputs. These outputs support independent timing for the positive and negative rails for specific system power-sequence needs. Enable inputs can be also shorted together and connected to the input voltage. The LM27762 has an optional Power-Good feature.

Subscribe to Welllinkchips !
Your Name
* Email
Submit a request