0
BQ40Z60
  • BQ40Z60
  • BQ40Z60

BQ40Z60

ACTIVE

Complete multi-cell battery manager | battery fuel (gas) gauge

Texas Instruments BQ40Z60 Product Info

1 April 2026 0

Parameters

Cell chemistry

Li-Ion/Li-Polymer, LiFePO4

Number of series cells

2-4 Cells

Communication interface

SMBus

Battery capacity (min) (mAh)

100

Battery capacity (max) (mAh)

29000

Implementation

Pack, System

External capacity indication

LED

Features

Battery Management Unit, Cell balancing, Integrated Protector, SHA-1 Authentication, Turbo Mode

Operating temperature range (°C)

-40 to 85

Cell balancing

External, Internal

Rating

Catalog

Package

VQFN (RHB)-32-25 mm² 5 x 5

Features

  • Fully Integrated 2-Series to 4-Series Cell Li-Ion or Li-Polymer Battery Management Unit
  • Input Voltage Range on Pack+: 2.5 V to 25 V
  • Battery Charger Efficiency > 92%
  • Battery Charger Operation Range: 4 V to 25 V
  • Battery Charger, 1-MHz Synchronous Buck Controller for External NFETs
    • Soft Start to Limit In-Rush Current
    • Current Limit Protection for External Switches
    • Programmable Charging
      • Supports JEITA/Enhanced Charging Modes
  • Fuel Gauging
    • High Resolution 16-Bit Integrator for Coulomb Counter
    • ADC, 16-Bit for Precision V, I, and T Measurements with 16-Channel Multiplexer
    • Support for Simultaneous CC and ADC Sampling (Power Conversion)
    • Supports Two-Wire SMBus v2.0 Interface with Accelerated 400-kHz Programming Option
    • SHA-1 Hash Message Authentication Code (HMAC) Responder for Increased Battery Pack Security
      • Split Key (2 × 64) Stored in Secure Memory
    • Supports Field Updates
  • AFE Protection
    • Programmable Current Protection
      • Overcurrent in Discharge
      • Short-Circuit Current in Charge
      • Short-Circuit Current in Discharge
  • N-FET High-Side Protection FET Drive
  • Support for Four LEDs
  • Thermistor inputs for NTC
  • Compact 32-Pin QFN Package (RHB)
  • Fully Integrated 2-Series to 4-Series Cell Li-Ion or Li-Polymer Battery Management Unit
  • Input Voltage Range on Pack+: 2.5 V to 25 V
  • Battery Charger Efficiency > 92%
  • Battery Charger Operation Range: 4 V to 25 V
  • Battery Charger, 1-MHz Synchronous Buck Controller for External NFETs
    • Soft Start to Limit In-Rush Current
    • Current Limit Protection for External Switches
    • Programmable Charging
      • Supports JEITA/Enhanced Charging Modes
  • Fuel Gauging
    • High Resolution 16-Bit Integrator for Coulomb Counter
    • ADC, 16-Bit for Precision V, I, and T Measurements with 16-Channel Multiplexer
    • Support for Simultaneous CC and ADC Sampling (Power Conversion)
    • Supports Two-Wire SMBus v2.0 Interface with Accelerated 400-kHz Programming Option
    • SHA-1 Hash Message Authentication Code (HMAC) Responder for Increased Battery Pack Security
      • Split Key (2 × 64) Stored in Secure Memory
    • Supports Field Updates
  • AFE Protection
    • Programmable Current Protection
      • Overcurrent in Discharge
      • Short-Circuit Current in Charge
      • Short-Circuit Current in Discharge
  • N-FET High-Side Protection FET Drive
  • Support for Four LEDs
  • Thermistor inputs for NTC
  • Compact 32-Pin QFN Package (RHB)

Description

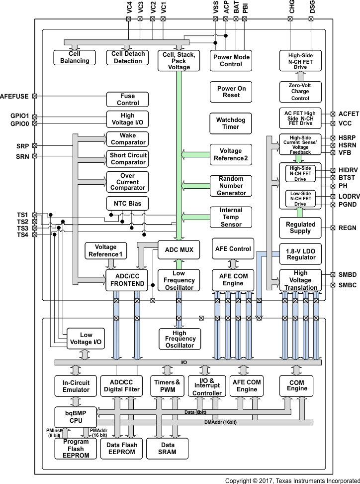
The Texas Instruments bq40z60 device is a Programmable Battery Management Unit that integrates battery charging control output, gas gauging, and protection for completely autonomous operation of 2-series to 4-series cell Li-Ion and Li-Polymer battery packs. The architecture enables internal communication between the fuel gauging processor and battery charger controller to optimize the charging profile based on the external load conditions and power path source management during load transients and adaptor current limitations in the system. The charging current efficiency is scalable for power transfer based on the external components, such as the NFETs, inductor, and sensing resistor.

The device provides an array of battery and system safety functions, including overcurrent in discharge, short circuit in charge, and short circuit in discharge protection for the battery, as well as FET protection for the N-CH FETs, internal AFE watchdog, and cell disconnection detection. Through firmware, the device can provide a larger array of protection features including overvoltage, undervoltage, overtemperature, and more.

The Texas Instruments bq40z60 device is a Programmable Battery Management Unit that integrates battery charging control output, gas gauging, and protection for completely autonomous operation of 2-series to 4-series cell Li-Ion and Li-Polymer battery packs. The architecture enables internal communication between the fuel gauging processor and battery charger controller to optimize the charging profile based on the external load conditions and power path source management during load transients and adaptor current limitations in the system. The charging current efficiency is scalable for power transfer based on the external components, such as the NFETs, inductor, and sensing resistor.

The device provides an array of battery and system safety functions, including overcurrent in discharge, short circuit in charge, and short circuit in discharge protection for the battery, as well as FET protection for the N-CH FETs, internal AFE watchdog, and cell disconnection detection. Through firmware, the device can provide a larger array of protection features including overvoltage, undervoltage, overtemperature, and more.

Subscribe to Welllinkchips !
Your Name
* Email
Submit a request