0
MAX6605
  • MAX6605

MAX6605

PRODUCTION

Low-Power Analog Temperature Sensor in SC70 Package Low-Power Analog Temperature Sensor in an SC-70 Package

Analog Devices MAX6605 Product Info

10 February 2026 8

Features

  • Low Current Consumption (10µA max)
  • Small SC70 Package
  • Accurate (±0.75°C max at TA = +25°C)
  • Optimized to Drive Large Capacitive Loads

Part details & applications

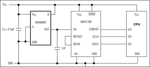
The MAX6605 precision, low-power, analog output temperature sensor is available in a 5-pin SC70 package. The device has a +2.7V to +5.5V supply voltage range and 10µA supply current over the -55°C to +125°C temperature range. For the -40°C to +105°C temperature range, the supply voltage can go as low as +2.4V. Accuracy is ±1°C at TA = +25°C and ±3°C from 0°C to +70°C.

The MAX6605 output voltage is dependent on its die temperature and has a slope of 11.9mV/°C and an offset of 744mV at 0°C. The output typically shows only +0.4°C of nonlinearity over the -20°C to +85°C temperature range.

Applications

  • Battery Packs
  • Cell Phones
  • Digital Still Cameras
  • GPS Equipment

Subscribe to Welllinkchips !
Your Name
* Email
Submit a request