0
TPS63070
  • TPS63070
  • TPS63070

TPS63070

ACTIVE

Wide input voltage (2V-16V) buck-boost converter

Texas Instruments TPS63070 Product Info

1 April 2026 1

Parameters

Rating

Catalog

Topology

Buck-Boost

Vin (max) (V)

16

Vin (min) (V)

2

Vout (max) (V)

5, 9

Vout (min) (V)

2.5, 5

Switch current limit (typ) (A)

3.6

Features

Dynamic voltage scaling, Enable, Frequency synchronization, Light-load efficiency, Load Disconnect, Output discharge, Power good, Synchronous rectification, USB C/PD compatible, UVLO fixed, Voltage Margining

Operating temperature range (°C)

-40 to 125

Iq (typ) (A)

0.00005

Duty cycle (max) (%)

100

Package

VQFN-HR (RNM)-15-7.5 mm² 3 x 2.5

Features

  • Input Voltage Range: 2.0 V to 16 V
  • Output Voltage Range: 2.5 V to 9 V
  • Up to 95% Efficiency
  • +/- 1% dc accuracy in PWM mode
  • +3% / -1% dc accuracy in PFM mode
  • 2 A Output Current in Buck Mode
  • 2 A Output Current in Boost Mode
    (VIN = 4 V; Vout = 5 V)
  • Precise ENABLE input allows
    • user defined undervoltage lockout
    • exact sequencing
  • Automatic Transition Between Step Down and Boost Mode
  • Typical Device Quiescent Current: 50 µA
  • Fixed and Adjustable Output Voltage Options
  • Output Discharge Option
  • Power Save Mode for Improved Efficiency at Low Output Power
  • Forced Fixed Frequency Operation at 2.4 MHz and Synchronization Option
  • Power Good Output
  • VSEL simply allows output voltage change
  • Load Disconnect During Shutdown
  • Overtemperature Protection
  • Input / Output Overvoltage Protection
  • Available in QFN Package
  • Input Voltage Range: 2.0 V to 16 V
  • Output Voltage Range: 2.5 V to 9 V
  • Up to 95% Efficiency
  • +/- 1% dc accuracy in PWM mode
  • +3% / -1% dc accuracy in PFM mode
  • 2 A Output Current in Buck Mode
  • 2 A Output Current in Boost Mode
    (VIN = 4 V; Vout = 5 V)
  • Precise ENABLE input allows
    • user defined undervoltage lockout
    • exact sequencing
  • Automatic Transition Between Step Down and Boost Mode
  • Typical Device Quiescent Current: 50 µA
  • Fixed and Adjustable Output Voltage Options
  • Output Discharge Option
  • Power Save Mode for Improved Efficiency at Low Output Power
  • Forced Fixed Frequency Operation at 2.4 MHz and Synchronization Option
  • Power Good Output
  • VSEL simply allows output voltage change
  • Load Disconnect During Shutdown
  • Overtemperature Protection
  • Input / Output Overvoltage Protection
  • Available in QFN Package

Description

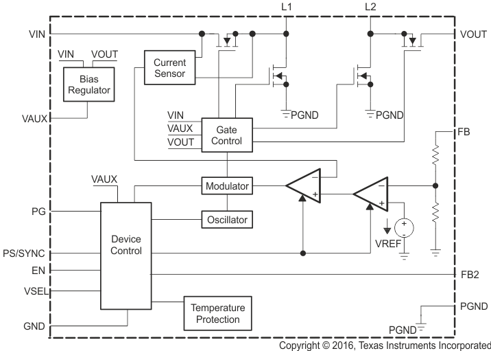
The TPS6307x is a high efficiency, low quiescent current buck-boost converter suitable for applications where the input voltage can be higher or lower than the output voltage. Output currents can go as high as 2 A in boost mode and in buck mode. The buck-boost converter is based on a fixed frequency, pulse-width-modulation (PWM) controller using synchronous rectification to obtain maximum efficiency. At low load currents, the converter enters Power Save Mode to maintain high efficiency over a wide load current range. The converter can be disabled to minimize battery drain. During shutdown, the load is disconnected from the battery. The device is available in a 2.5 mm x 3 mm QFN package.

The TPS6307x is a high efficiency, low quiescent current buck-boost converter suitable for applications where the input voltage can be higher or lower than the output voltage. Output currents can go as high as 2 A in boost mode and in buck mode. The buck-boost converter is based on a fixed frequency, pulse-width-modulation (PWM) controller using synchronous rectification to obtain maximum efficiency. At low load currents, the converter enters Power Save Mode to maintain high efficiency over a wide load current range. The converter can be disabled to minimize battery drain. During shutdown, the load is disconnected from the battery. The device is available in a 2.5 mm x 3 mm QFN package.

Subscribe to Welllinkchips !
Your Name
* Email
Submit a request