0
TPS61161A
  • TPS61161A
  • TPS61161A
  • TPS61161A

TPS61161A

ACTIVE

White LED driver with PWM brightness control in 2mm x 2mm WSON Package. up to 10 LEDs in Series

Texas Instruments TPS61161A Product Info

1 April 2026 0

Parameters

Number of channels

1

Vin (min) (V)

2.7

Vin (max) (V)

18

Vout (min) (V)

2.7

Vout (max) (V)

38

Type

Inductive

Switching frequency (max) (kHz)

600

Duty cycle (max) (%)

93

LED current per channel (mA)

20

Peak efficiency (%)

90

Topology

Boost

Features

EasyScale 1-Wire Interface, Load Disconnect During Shutdown

Operating temperature range (°C)

-40 to 85

Rating

Catalog

Package

WSON (DRV)-6-4 mm² 2 x 2

Features

  • Input Voltage Range: 2.7 V to 18 V
  • 26-V Open LED Protection for TPS61160A
    38-V Open LED Protection for TPS61161A
  • 200mV Reference Voltage With ±2% Accuracy
  • PWM Interface for Brightness Control
  • Built-in Soft Start
  • Up to 90% Efficiency
  • 2-mm × 2-mm × 0.8-mm 6-Pin WSON Package With Thermal Pad
  • Input Voltage Range: 2.7 V to 18 V
  • 26-V Open LED Protection for TPS61160A
    38-V Open LED Protection for TPS61161A
  • 200mV Reference Voltage With ±2% Accuracy
  • PWM Interface for Brightness Control
  • Built-in Soft Start
  • Up to 90% Efficiency
  • 2-mm × 2-mm × 0.8-mm 6-Pin WSON Package With Thermal Pad

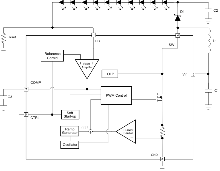
Description

With a 40-V rated integrated switch FET, the TPS61160A/61A is a boost converter that drives LEDs in series. The boost converter runs at 600-kHz fixed switching frequency to reduce output ripple, improve conversion efficiency, and allows for the use of small external components.

The default white LED current is set with the external sensor resistor Rset, and the feedback voltage is regulated to 200 mV, as shown in the typical application. During the operation, the LED current can be controlled by a pulse width modulation (PWM) signal applied to the CTRL pin through which the duty cycle determines the feedback reference voltage. In PWM dimming mode, the TPS61160A/61A does not burst the LED current; therefore, it does not generate audible noises on the output capacitor. For maximum protection, the device features integrated open LED protection that disables the TPS61160A/61A to prevent the output from exceeding the absolute maximum ratings during open LED conditions.

The TPS61160A/61A is available in a space-saving, 2-mm × 2-mm WSON package with thermal pad.

For all available packages, see the orderable addendum at the end of the data sheet.

With a 40-V rated integrated switch FET, the TPS61160A/61A is a boost converter that drives LEDs in series. The boost converter runs at 600-kHz fixed switching frequency to reduce output ripple, improve conversion efficiency, and allows for the use of small external components.

The default white LED current is set with the external sensor resistor Rset, and the feedback voltage is regulated to 200 mV, as shown in the typical application. During the operation, the LED current can be controlled by a pulse width modulation (PWM) signal applied to the CTRL pin through which the duty cycle determines the feedback reference voltage. In PWM dimming mode, the TPS61160A/61A does not burst the LED current; therefore, it does not generate audible noises on the output capacitor. For maximum protection, the device features integrated open LED protection that disables the TPS61160A/61A to prevent the output from exceeding the absolute maximum ratings during open LED conditions.

The TPS61160A/61A is available in a space-saving, 2-mm × 2-mm WSON package with thermal pad.

For all available packages, see the orderable addendum at the end of the data sheet.

Subscribe to Welllinkchips !
Your Name
* Email
Submit a request