0
TPS61161
  • TPS61161
  • TPS61161
  • TPS61161

TPS61161

ACTIVE

White LED driver with Digital and PWM brightness control in 2mm x 2mm WSON Package

Texas Instruments TPS61161 Product Info

1 April 2026 0

Parameters

Number of channels

1

Vin (min) (V)

2.7

Vin (max) (V)

18

Vout (min) (V)

2.7

Vout (max) (V)

38

Type

Inductive

Switching frequency (max) (kHz)

600

Duty cycle (max) (%)

93

LED current per channel (mA)

20

Peak efficiency (%)

90

Topology

Boost

Features

EasyScale 1-Wire Interface, Load Disconnect During Shutdown

Operating temperature range (°C)

-40 to 85

Rating

Catalog

Package

WSON (DRV)-6-4 mm² 2 x 2

Features

  • 2.7-V to 18-V Input Voltage Range
  • 26-V Open LED Protection (TPS61160)
  • 38-V Open LED Protection (TPS61161)
  • 200-mV Reference Voltage With ±2% Accuracy
  • Flexible Digital and PWM Brightness Control
  • Built-in Soft Start
  • Up to 90% Efficiency
  • 2.7-V to 18-V Input Voltage Range
  • 26-V Open LED Protection (TPS61160)
  • 38-V Open LED Protection (TPS61161)
  • 200-mV Reference Voltage With ±2% Accuracy
  • Flexible Digital and PWM Brightness Control
  • Built-in Soft Start
  • Up to 90% Efficiency

Description

With a 40-V rated integrated switch FET, the TPS61160 and TPS61161 are boost converters that drive LEDs in series. The boost converters run at 600-kHz fixed switching frequency to reduce output ripple, improve conversion efficiency, and allow for the use of small external components.

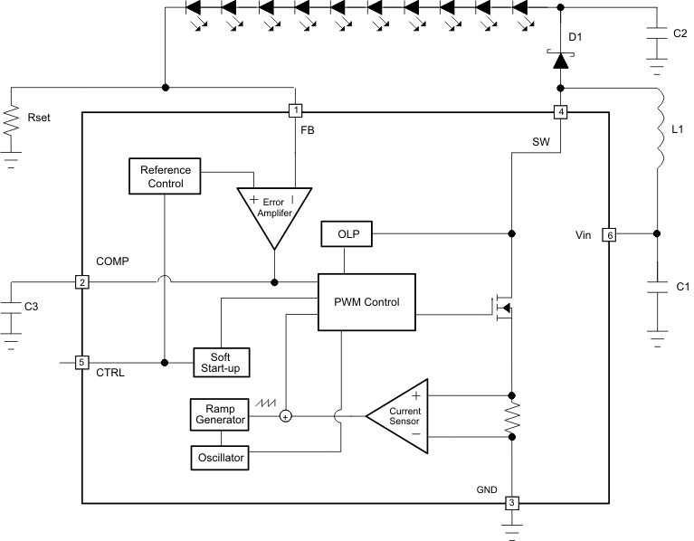
The default white LED current is set with the external sensor resistor RSET, and the feedback voltage is regulated to 200 mV, as shown in the . During the operation, the LED current can be controlled using the one-wire digital interface (EasyScale protocol) through the CTRL pin. Alternatively, a pulse width modulation (PWM) signal can be applied to the CTRL pin through which the duty cycle determines the feedback reference voltage. In either digital or PWM mode, the TPS61160 and TPS61161 do not burst the LED current; therefore, they do not generate audible noises on the output capacitor. For maximum protection, the device features integrated open LED protection that disable the TPS61160 and/or TPS61161 to prevent the output voltage from exceeding the device's absolute maximum voltage ratings during open LED conditions.

The TPS61160 and TPS61161 are available in a space-saving, 2-mm × 2-mm WSON package with thermal pad.

For all available packages, see the orderable addendum at the end of the data sheet.

With a 40-V rated integrated switch FET, the TPS61160 and TPS61161 are boost converters that drive LEDs in series. The boost converters run at 600-kHz fixed switching frequency to reduce output ripple, improve conversion efficiency, and allow for the use of small external components.

The default white LED current is set with the external sensor resistor RSET, and the feedback voltage is regulated to 200 mV, as shown in the . During the operation, the LED current can be controlled using the one-wire digital interface (EasyScale protocol) through the CTRL pin. Alternatively, a pulse width modulation (PWM) signal can be applied to the CTRL pin through which the duty cycle determines the feedback reference voltage. In either digital or PWM mode, the TPS61160 and TPS61161 do not burst the LED current; therefore, they do not generate audible noises on the output capacitor. For maximum protection, the device features integrated open LED protection that disable the TPS61160 and/or TPS61161 to prevent the output voltage from exceeding the device's absolute maximum voltage ratings during open LED conditions.

The TPS61160 and TPS61161 are available in a space-saving, 2-mm × 2-mm WSON package with thermal pad.

For all available packages, see the orderable addendum at the end of the data sheet.

Subscribe to Welllinkchips !
Your Name
* Email
Submit a request