0
TPS4H160-Q1
  • TPS4H160-Q1
  • TPS4H160-Q1
  • TPS4H160-Q1
  • TPS4H160-Q1

TPS4H160-Q1

ACTIVE

40-V, 160-mΩ, 4-ch automotive smart high-side switch with adjustable current limit

Texas Instruments TPS4H160-Q1 Product Info

1 April 2026 1

Parameters

Number of channels

4

Rating

Automotive

Operating voltage (max) (V)

40

Operating voltage (min) (V)

4

Ron (typ) (mΩ)

160

Imax (A)

2.5

Current limit (max) (A)

7

Current limit (min) (A)

0.25

Current limit type

Adjustable

FET

Internal

Features

Current sense/monitor, Digital output, Thermal shutdown, Under voltage lock out

TI functional safety category

Functional Safety-Capable

Current limit accuracy

+/- 15% @ 0.5A

Current sense accuracy

+/- 3.25mA@ 5mA

Operating temperature range (°C)

-40 to 125

Function

Adjustable current limit, Automotive load dump compatibility, Current monitoring, Inductive load compatibility, Inrush current control, Short circuit protection, Thermal shutdown

Package

HTSSOP (PWP)-28-62.08 mm² 9.7 x 6.4

Features

  • Qualified for automotive applications
  • AEC-Q100 qualified with the following results:
    • Device temperature grade 1: –40°C to 125°C ambient operating temperature range
    • Device HBM ESD classification level H3A
    • Device CDM ESD classification level C4B
  • Functional Safety-Capable
  • Quad-channel 160mΩ smart high-side switch with full diagnostics
    • Version A: open-drain digital output
    • Version B: current-sense analog output
  • Wide operating voltage 3.4V to 40V
  • Ultra-low standby current: <500nA
  • High-accuracy current sense: ±15% under >25mA load
  • Adjustable current limit with external resistor, ±15% under >500mA load
  • Protection
    • Short-to-GND protection by current limit (internal or external)
    • Thermal shutdown with latch off option and thermal swing
    • Inductive load negative voltage clamp with optimized slew rate
    • Loss-of-GND and loss-of-battery protection
  • Diagnostics
    • Overcurrent and short-to-ground detection
    • Open-load and short-to-battery detection
    • Global fault report for fast interrupt
  • 28-pin thermally-enhanced PWP package
  • Qualified for automotive applications
  • AEC-Q100 qualified with the following results:
    • Device temperature grade 1: –40°C to 125°C ambient operating temperature range
    • Device HBM ESD classification level H3A
    • Device CDM ESD classification level C4B
  • Functional Safety-Capable
  • Quad-channel 160mΩ smart high-side switch with full diagnostics
    • Version A: open-drain digital output
    • Version B: current-sense analog output
  • Wide operating voltage 3.4V to 40V
  • Ultra-low standby current: <500nA
  • High-accuracy current sense: ±15% under >25mA load
  • Adjustable current limit with external resistor, ±15% under >500mA load
  • Protection
    • Short-to-GND protection by current limit (internal or external)
    • Thermal shutdown with latch off option and thermal swing
    • Inductive load negative voltage clamp with optimized slew rate
    • Loss-of-GND and loss-of-battery protection
  • Diagnostics
    • Overcurrent and short-to-ground detection
    • Open-load and short-to-battery detection
    • Global fault report for fast interrupt
  • 28-pin thermally-enhanced PWP package

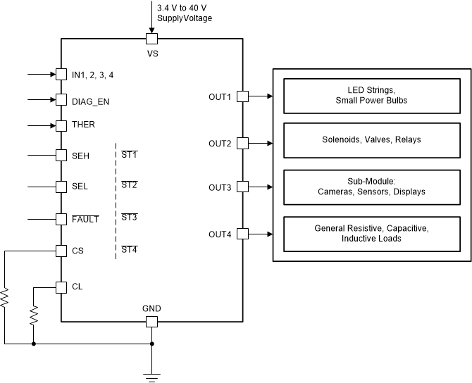
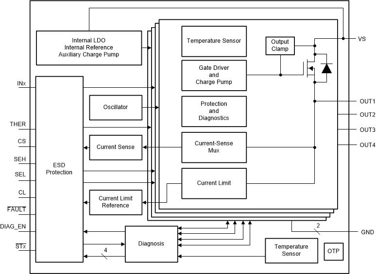
Description

The TPS4H160-Q1 device is fully protected quad-channel smart high-side switch with four integrated 160mΩ NMOS power FETs.

Full diagnostics and high-accuracy current sense enable intelligent control of the load.

An external adjustable current limit improves the reliability of whole system by limiting the inrush or overload current.

The TPS4H160-Q1 device is fully protected quad-channel smart high-side switch with four integrated 160mΩ NMOS power FETs.

Full diagnostics and high-accuracy current sense enable intelligent control of the load.

An external adjustable current limit improves the reliability of whole system by limiting the inrush or overload current.

Subscribe to Welllinkchips !
Your Name
* Email
Submit a request