0
TPS1H200A-Q1
  • TPS1H200A-Q1
  • TPS1H200A-Q1
  • TPS1H200A-Q1

TPS1H200A-Q1

ACTIVE

40-V, 200-mΩ, 1-ch automotive smart high-side switch with adjustable current limit

Texas Instruments TPS1H200A-Q1 Product Info

1 April 2026 0

Parameters

Number of channels

1

Rating

Automotive

Operating voltage (max) (V)

40

Operating voltage (min) (V)

4

Ron (typ) (mΩ)

200

Imax (A)

2

Current limit (max) (A)

5

Current limit (min) (A)

0.25

Current limit type

Adjustable

FET

Internal

Features

Digital output, Programmable current limit, Thermal shutdown

TI functional safety category

Functional Safety-Capable

Current limit accuracy

+/-15% @ 0.5A

Operating temperature range (°C)

-40 to 125

Function

Adjustable current limit, Automotive load dump compatibility, Inductive load compatibility, Inrush current control, Short circuit protection, Thermal shutdown

Package

HVSSOP (DGN)-8-14.7 mm² 3 x 4.9

Features

  • Qualified for automotive applications
  • AEC-Q100 qualified with the following results:
    • Device temperature grade 1: –40°C to +125°C ambient operating temperature range
    • Device HBM ESD Classification Level H2
    • Device CDM ESD Classification Level C4B
  • Functional Safety-Capable
  • Single-channel 200-mω smart high-side switch
  • Wide operating voltage: 3.4 V to 40 V
  • Ultra-low standby current, < 500 nA
  • Adjustable current limit with external resistor
    • ±15% when ≥ 500 mA
    • ±10% when ≥ 1.5 A
  • Configurable behavior after current limit
    • Holding mode
    • Latch-off mode with adjustable delay time
    • Auto-retry mode
  • Supports stand-alone operation without an MCU
  • Protection:
    • Short-to-GND and overload protection
    • Thermal shutdown and thermal swing
    • Negative voltage clamp for inductive loads
    • Loss of GND and loss of battery protection
  • Diagnostics:
    • Overload and short-to-GND detection
    • Open-load and short-to-battery detection in ON or OFF state
    • Thermal shutdown and thermal swing
  • Qualified for automotive applications
  • AEC-Q100 qualified with the following results:
    • Device temperature grade 1: –40°C to +125°C ambient operating temperature range
    • Device HBM ESD Classification Level H2
    • Device CDM ESD Classification Level C4B
  • Functional Safety-Capable
  • Single-channel 200-mω smart high-side switch
  • Wide operating voltage: 3.4 V to 40 V
  • Ultra-low standby current, < 500 nA
  • Adjustable current limit with external resistor
    • ±15% when ≥ 500 mA
    • ±10% when ≥ 1.5 A
  • Configurable behavior after current limit
    • Holding mode
    • Latch-off mode with adjustable delay time
    • Auto-retry mode
  • Supports stand-alone operation without an MCU
  • Protection:
    • Short-to-GND and overload protection
    • Thermal shutdown and thermal swing
    • Negative voltage clamp for inductive loads
    • Loss of GND and loss of battery protection
  • Diagnostics:
    • Overload and short-to-GND detection
    • Open-load and short-to-battery detection in ON or OFF state
    • Thermal shutdown and thermal swing

Description

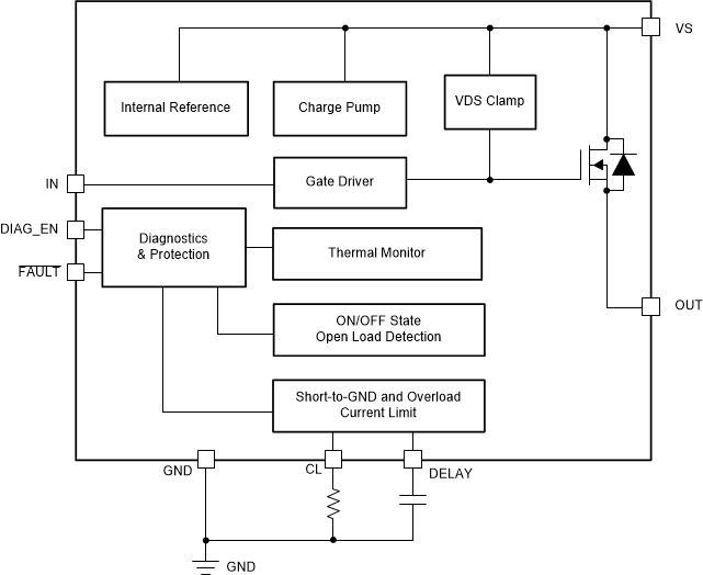
The TPS1H200A-Q1 device is a fully protected single-channel high-side power switch with an integrated 200-mΩ NMOS power FET.

An adjustable current limit improves system reliability by limiting the inrush or overload current. The high accuracy of the current limit improves overload protection, simplifying the front-stage power design. Configurable features besides current limit provide design flexibility in functionality, cost, and thermal dissipation.

The device supports full diagnostics with the digital status output. Open-load detection is available in ON and OFF states. The device supports operation with or without an MCU. Stand-alone mode allows isolated systems to use the device.

The TPS1H200A-Q1 device is a fully protected single-channel high-side power switch with an integrated 200-mΩ NMOS power FET.

An adjustable current limit improves system reliability by limiting the inrush or overload current. The high accuracy of the current limit improves overload protection, simplifying the front-stage power design. Configurable features besides current limit provide design flexibility in functionality, cost, and thermal dissipation.

The device supports full diagnostics with the digital status output. Open-load detection is available in ON and OFF states. The device supports operation with or without an MCU. Stand-alone mode allows isolated systems to use the device.

Subscribe to Welllinkchips !
Your Name
* Email
Submit a request