0
TMS320VC5407
  • TMS320VC5407
  • TMS320VC5407

TMS320VC5407

ACTIVE

Digital Signal Processor

Texas Instruments TMS320VC5407 Product Info

1 April 2026 1

Parameters

CPU

16-bit

Operating system

DSP/BIOS

Rating

Catalog

Operating temperature range (°C)

0 to 100

Package

LQFP (PGE)-144-484 mm² 22 x 22

Features

  • Advanced Multibus Architecture With Three Separate 16-Bit Data Memory Buses and One Program Memory Bus
  • 40-Bit Arithmetic Logic Unit (ALU) Including a 40-Bit Barrel Shifter and Two Independent 40-Bit Accumulators
  • 17- × 17-Bit Parallel Multiplier Coupled to a 40-Bit Dedicated Adder for Non-Pipelined Single-Cycle Multiply/Accumulate (MAC) Operation
  • Compare, Select, and Store Unit (CSSU) for the Add/Compare Selection of the Viterbi Operator
  • Exponent Encoder to Compute an Exponent Value of a 40-Bit Accumulator Value in a Single Cycle
  • Two Address Generators With Eight Auxiliary Registers and Two Auxiliary Register Arithmetic Units (ARAUs)
  • Data Bus With a Bus Holder Feature
  • Extended Addressing Mode for 8M × 16-Bit Maximum Addressable External Program Space
  • On-Chip ROM
    • 128K × 16-Bit (5407) Configured for Program Memory
    • 64K × 16-Bit (5404) Configured for Program Memory
  • On-Chip RAM
    • 40K × 16-Bit (5407) Composed of Five Blocks of 8K × 16-Bit On-Chip Dual-Access Program/Data RAM
    • 16K x 16-Bit (5404) Composed of Two Blocks of 8K × 16-Bit On-Chip Dual-Access Program/Data RAM
  • Enhanced External Parallel Interface (XIO2)
  • Single-Instruction-Repeat and Block-Repeat Operations for Program Code
  • Block-Memory-Move Instructions for Better Program and Data Management
  • Instructions With a 32-Bit Long Word Operand
  • Instructions With Two- or Three-Operand Reads
  • Arithmetic Instructions With Parallel Store and Parallel Load
  • Conditional Store Instructions
  • Fast Return From Interrupt
  • On-Chip Peripherals
    • Software-Programmable Wait-State Generator and Programmable Bank-Switching
    • On-Chip Programmable Phase-Locked Loop (PLL) Clock Generator With External Clock Source
    • Two 16-Bit Timers
    • Six-Channel Direct Memory Access (DMA) Controller
    • Three Multichannel Buffered Serial Ports (McBSPs)
    • 8/16-Bit Enhanced Parallel Host-Port Interface (HPI8/16)
    • Universal Asynchronous Receiver/Transmitter (UART) With Integrated Baud Rate Generator
  • Power Consumption Control With IDLE1, IDLE2, and IDLE3 Instructions With Power-Down Modes
  • CLKOUT Off Control to Disable CLKOUT
  • On-Chip Scan-Based Emulation Logic, IEEE Std 1149.1 (JTAG) Boundary Scan Logic
  • 144-Pin Ball Grid Array (BGA) (GGU Suffix)
  • 144-Pin Low-Profile Quad Flatpack (LQFP) (PGE Suffix)
  • 8.33-ns Single-Cycle Fixed-Point Instruction Execution Time (120 MIPS)
  • 3.3-V I/O Supply Voltage
  • 1.5-V Core Supply Voltage

IEEE Standard 1149.1-1990 Standard-Test-Access Port and Boundary Scan Architecture.
All trademarks are the property of their respective owners.
TMS320C54x is a trademark of Texas Instruments.

  • Advanced Multibus Architecture With Three Separate 16-Bit Data Memory Buses and One Program Memory Bus
  • 40-Bit Arithmetic Logic Unit (ALU) Including a 40-Bit Barrel Shifter and Two Independent 40-Bit Accumulators
  • 17- × 17-Bit Parallel Multiplier Coupled to a 40-Bit Dedicated Adder for Non-Pipelined Single-Cycle Multiply/Accumulate (MAC) Operation
  • Compare, Select, and Store Unit (CSSU) for the Add/Compare Selection of the Viterbi Operator
  • Exponent Encoder to Compute an Exponent Value of a 40-Bit Accumulator Value in a Single Cycle
  • Two Address Generators With Eight Auxiliary Registers and Two Auxiliary Register Arithmetic Units (ARAUs)
  • Data Bus With a Bus Holder Feature
  • Extended Addressing Mode for 8M × 16-Bit Maximum Addressable External Program Space
  • On-Chip ROM
    • 128K × 16-Bit (5407) Configured for Program Memory
    • 64K × 16-Bit (5404) Configured for Program Memory
  • On-Chip RAM
    • 40K × 16-Bit (5407) Composed of Five Blocks of 8K × 16-Bit On-Chip Dual-Access Program/Data RAM
    • 16K x 16-Bit (5404) Composed of Two Blocks of 8K × 16-Bit On-Chip Dual-Access Program/Data RAM
  • Enhanced External Parallel Interface (XIO2)
  • Single-Instruction-Repeat and Block-Repeat Operations for Program Code
  • Block-Memory-Move Instructions for Better Program and Data Management
  • Instructions With a 32-Bit Long Word Operand
  • Instructions With Two- or Three-Operand Reads
  • Arithmetic Instructions With Parallel Store and Parallel Load
  • Conditional Store Instructions
  • Fast Return From Interrupt
  • On-Chip Peripherals
    • Software-Programmable Wait-State Generator and Programmable Bank-Switching
    • On-Chip Programmable Phase-Locked Loop (PLL) Clock Generator With External Clock Source
    • Two 16-Bit Timers
    • Six-Channel Direct Memory Access (DMA) Controller
    • Three Multichannel Buffered Serial Ports (McBSPs)
    • 8/16-Bit Enhanced Parallel Host-Port Interface (HPI8/16)
    • Universal Asynchronous Receiver/Transmitter (UART) With Integrated Baud Rate Generator
  • Power Consumption Control With IDLE1, IDLE2, and IDLE3 Instructions With Power-Down Modes
  • CLKOUT Off Control to Disable CLKOUT
  • On-Chip Scan-Based Emulation Logic, IEEE Std 1149.1 (JTAG) Boundary Scan Logic
  • 144-Pin Ball Grid Array (BGA) (GGU Suffix)
  • 144-Pin Low-Profile Quad Flatpack (LQFP) (PGE Suffix)
  • 8.33-ns Single-Cycle Fixed-Point Instruction Execution Time (120 MIPS)
  • 3.3-V I/O Supply Voltage
  • 1.5-V Core Supply Voltage

IEEE Standard 1149.1-1990 Standard-Test-Access Port and Boundary Scan Architecture.
All trademarks are the property of their respective owners.
TMS320C54x is a trademark of Texas Instruments.

Description

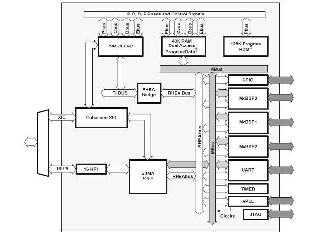
This data manual discusses features and specifications of the TMS320VC5407 and TMS320VC5404 (hereafter referred to as the 5407/5404 unless otherwise specified) digital signal processors (DSPs). The 5407 and 5404 are essentially the same device except for differences in their memory maps.

This section lists the pin assignments and describes the function of each pin. This data manual also provides a detailed description section, electrical specifications, parameter measurement information, and mechanical data about the available packaging.

NOTE: This data sheet is designed to be used in conjunction with the TMS320C5000 DSP Family Functional Overview (literature number SPRU307).

The 5407/5404 are based on an advanced modified Harvard architecture that has one program memory bus and three data memory buses. These processors provide an arithmetic logic unit (ALU) with a high degree of parallelism, application-specific hardware logic, on-chip memory, and additional on-chip peripherals. The basis of the operational flexibility and speed of these DSPs is a highly specialized instruction set.

Separate program and data spaces allow simultaneous access to program instructions and data, providing a high degree of parallelism. Two read operations and one write operation can be performed in a single cycle. Instructions with parallel store and application-specific instructions can fully utilize this architecture. In addition, data can be transferred between data and program spaces. Such parallelism supports a powerful set of arithmetic, logic, and bit-manipulation operations that can all be performed in a single machine cycle. These DSPs also include the control mechanisms to manage interrupts, repeated operations, and function calls.

This data manual discusses features and specifications of the TMS320VC5407 and TMS320VC5404 (hereafter referred to as the 5407/5404 unless otherwise specified) digital signal processors (DSPs). The 5407 and 5404 are essentially the same device except for differences in their memory maps.

This section lists the pin assignments and describes the function of each pin. This data manual also provides a detailed description section, electrical specifications, parameter measurement information, and mechanical data about the available packaging.

NOTE: This data sheet is designed to be used in conjunction with the TMS320C5000 DSP Family Functional Overview (literature number SPRU307).

The 5407/5404 are based on an advanced modified Harvard architecture that has one program memory bus and three data memory buses. These processors provide an arithmetic logic unit (ALU) with a high degree of parallelism, application-specific hardware logic, on-chip memory, and additional on-chip peripherals. The basis of the operational flexibility and speed of these DSPs is a highly specialized instruction set.

Separate program and data spaces allow simultaneous access to program instructions and data, providing a high degree of parallelism. Two read operations and one write operation can be performed in a single cycle. Instructions with parallel store and application-specific instructions can fully utilize this architecture. In addition, data can be transferred between data and program spaces. Such parallelism supports a powerful set of arithmetic, logic, and bit-manipulation operations that can all be performed in a single machine cycle. These DSPs also include the control mechanisms to manage interrupts, repeated operations, and function calls.

Subscribe to Welllinkchips !
Your Name
* Email
Submit a request