0
TLC5947
  • TLC5947
  • TLC5947
  • TLC5947
  • TLC5947

TLC5947

ACTIVE

24-channel, 12-bit PWM LED driver with internal Oscillator

Texas Instruments TLC5947 Product Info

1 April 2026 1

Parameters

Number of channels

24

LED current per channel (mA)

30

Vin (min) (V)

3

Vin (max) (V)

5.5

Features

PWM control, Thermal shutdown

Operating temperature range (°C)

-40 to 85

Rating

Catalog

Package

HTSSOP (DAP)-32-89.1 mm² 11 x 8.1

Features

  • 24 Channels, Constant-Current Sink Output
  • 30-mA Capability (Constant-Current Sink)
  • 12-Bit (4096 Steps) PWM Grayscale Control
  • LED Power-Supply Voltage Up to 30 V
  • VCC = 3.0 V to 5.5 V
  • Constant-Current Accuracy:
    • Channel-to-Channel = ±2% (Typical)
    • Device-to-Device = ±2% (Typical)
  • CMOS Logic Level I/O
  • 30-MHz Data Transfer Rate (Standalone)
  • 15-MHz Data Transfer Rate (Cascaded Devices,
    SCLK Duty = 50%)
  • Shift Out Data Changes With Falling Edge to
    Avoid Data Shift Errors
  • Auto Display Repeat
  • 4-MHz Internal Oscillator
  • Thermal Shutdown (TSD):
    • Automatic Shutdown at OverTemperature Conditions
    • Restart Under Normal Temperature
  • Noise Reduction:
    • 4-Channel Grouped Delay to Prevent Inrush Current
  • Operating Temperature: –40°C to 85°C
  • 24 Channels, Constant-Current Sink Output
  • 30-mA Capability (Constant-Current Sink)
  • 12-Bit (4096 Steps) PWM Grayscale Control
  • LED Power-Supply Voltage Up to 30 V
  • VCC = 3.0 V to 5.5 V
  • Constant-Current Accuracy:
    • Channel-to-Channel = ±2% (Typical)
    • Device-to-Device = ±2% (Typical)
  • CMOS Logic Level I/O
  • 30-MHz Data Transfer Rate (Standalone)
  • 15-MHz Data Transfer Rate (Cascaded Devices,
    SCLK Duty = 50%)
  • Shift Out Data Changes With Falling Edge to
    Avoid Data Shift Errors
  • Auto Display Repeat
  • 4-MHz Internal Oscillator
  • Thermal Shutdown (TSD):
    • Automatic Shutdown at OverTemperature Conditions
    • Restart Under Normal Temperature
  • Noise Reduction:
    • 4-Channel Grouped Delay to Prevent Inrush Current
  • Operating Temperature: –40°C to 85°C

Description

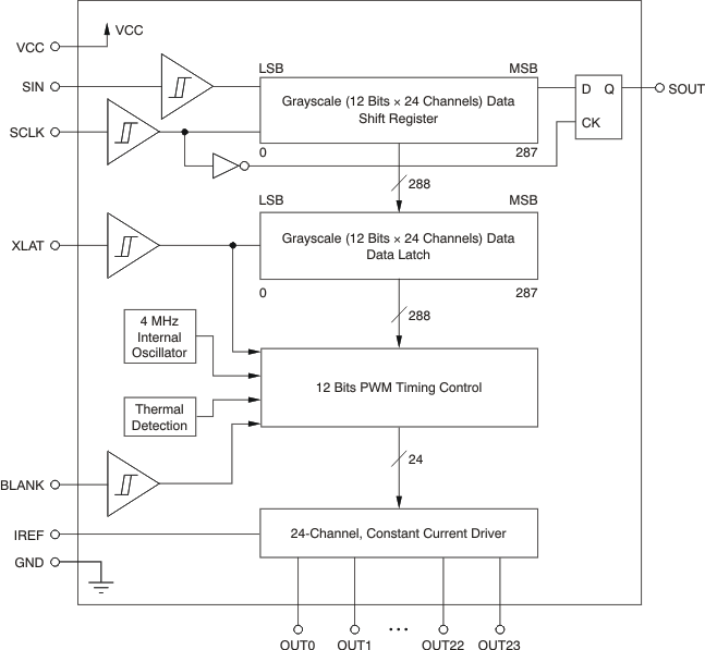
The TLC5947 is a 24-channel, constant-current sink LED driver. Each channel is individually adjustable with 4096 pulse-width modulated (PWM) steps. PWM control is repeated automatically with the programmed grayscale (GS) data. GS data are written via a serial interface port. The current value of all 24 channels is set by a single external resistor.

The TLC5947 has a thermal shutdown (TSD) function that turns off all output drivers during an over-temperature condition. All of the output drivers automatically restart when the temperature returns to normal conditions.

The TLC5947 is a 24-channel, constant-current sink LED driver. Each channel is individually adjustable with 4096 pulse-width modulated (PWM) steps. PWM control is repeated automatically with the programmed grayscale (GS) data. GS data are written via a serial interface port. The current value of all 24 channels is set by a single external resistor.

The TLC5947 has a thermal shutdown (TSD) function that turns off all output drivers during an over-temperature condition. All of the output drivers automatically restart when the temperature returns to normal conditions.

Subscribe to Welllinkchips !
Your Name
* Email
Submit a request