0
THS7375
  • THS7375
  • THS7375

THS7375

ACTIVE

4-Channel SDTV Video Amplifier with 6th-Order Filters and 15-dB Gain

Texas Instruments THS7375 Product Info

1 April 2026 0

Parameters

Number of channels

4

Diff gain (%)

0.5

Iout (typ) (A)

0.09

Vs (min) (V)

2.85

Vs (max) (V)

5.5

Diff phase (°)

0.5

Iq (typ) (mA)

14

Number of filter poles

6

Features

GPIO control method

Operating temperature range (°C)

-40 to 85

Rating

Catalog

Package

TSSOP (PW)-14-32 mm² 5 x 6.4

Features

  • Four SDTV Video Amplifiers for CVBS, S-Video, Y'P'BP'R 480i/576i, Y'U'V', G'B'R' (R'G'B'), or SCART
  • Integrated Low-Pass Filters:
    • Sixth-Order 9.5-MHz (–3dB) Butterworth
    • –0.1-dB Bandwidth at 6 MHz
    • –1-dB Passband Bandwidth at 8 MHz
    • 54-dB Attenuation at 27 MHz
  • Versatile Input Biasing
    • DC-Coupled with 320-mV Output Shift
    • AC-Coupled with Sync-Tip Clamp
    • AC-Coupled with Biasing Allowed
  • Built-in 5.6-V/V Gain (14.95 dB)
  • +3-V to +5-V Single-Supply Operation
  • Rail-to-Rail Output:
    • Output Swings Within 100 mV from the Rails to Allow AC or DC Output Coupling
    • Supports Driving Two Lines per Channel
  • Low 9.8-mA at 3.3-V Total Quiescent Current
  • Low Differential Gain/Phase of 0.2%/0.35°
  • Lead-Free and Green TSSOP-14 Package
  • APPLICATIONS
    • Set Top Box Output Video Buffering
    • Portable Media Player Video Buffering
    • Security/Surveillance Systems
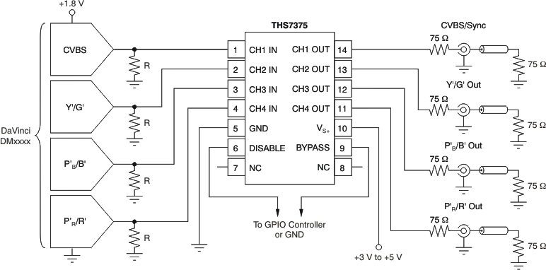
    • DaVinci/OMAP/DMxxx Video Buffering

    DaVinci is a trademark of Texas Instruments Incorporated.
    All other trademarks are the property of their respective owners.

    • Four SDTV Video Amplifiers for CVBS, S-Video, Y'P'BP'R 480i/576i, Y'U'V', G'B'R' (R'G'B'), or SCART
    • Integrated Low-Pass Filters:
      • Sixth-Order 9.5-MHz (–3dB) Butterworth
      • –0.1-dB Bandwidth at 6 MHz
      • –1-dB Passband Bandwidth at 8 MHz
      • 54-dB Attenuation at 27 MHz
    • Versatile Input Biasing
      • DC-Coupled with 320-mV Output Shift
      • AC-Coupled with Sync-Tip Clamp
      • AC-Coupled with Biasing Allowed
    • Built-in 5.6-V/V Gain (14.95 dB)
    • +3-V to +5-V Single-Supply Operation
    • Rail-to-Rail Output:
      • Output Swings Within 100 mV from the Rails to Allow AC or DC Output Coupling
      • Supports Driving Two Lines per Channel
    • Low 9.8-mA at 3.3-V Total Quiescent Current
    • Low Differential Gain/Phase of 0.2%/0.35°
    • Lead-Free and Green TSSOP-14 Package
  • APPLICATIONS
    • Set Top Box Output Video Buffering
    • Portable Media Player Video Buffering
    • Security/Surveillance Systems
    • DaVinci/OMAP/DMxxx Video Buffering

    DaVinci is a trademark of Texas Instruments Incorporated.
    All other trademarks are the property of their respective owners.

    Description

    Fabricated using the revolutionary complementary Silicon-Germanium (SiGe) BiCom3X process, the THS7375 is a low-power, single-supply, 3 V to 5 V four-channel integrated video buffer. It incorporates a sixth-order Butterworth filter (able to be bypassed) that is useful as a digital-to-analog converter (DAC) reconstruction filter or an analog-to-digital converter (ADC) anti-aliasing filter. The 9.5-MHz filter is a perfect choice for SDTV video that includes composite (CVBS), S-video, Y'U'V', G'B'R' (R'G'B'), Y'P'BP'R 480i/576i, and SCART systems.

    As part of the THS7375 flexibility, the input can be configured for either ac or dc-coupled inputs. The 320-mV output level shift allows for a full sync dynamic range at the output with 0-V input. The ac-coupled modes include a transparent sync-tip clamp option for CVBS, Y', and G'B'R' signals with sync. AC-coupled biasing for C'/P'B/P'R channels can easily be achieved by adding an external resistor to VS+.

    The THS7375 is the perfect choice for all video buffer applications. Its rail-to-rail output stage with 5.6-V/V gain allows for both ac and dc line driving. This architecture makes the THS7375 an ideal choice for DaVinci™ processors. The ability to drive two lines per channel, or 75-Ω loads, allows for maximum flexibility as a video line driver. The 9.8-mA total quiescent current at 3.3 V and 0.1-µA disabled current makes it an excellent choice for USB-powered, portable, or other power-sensitive applications.

    The THS7375 is available in a TSSOP-14 package that is lead-free and green (RoHS) compliant.

    Fabricated using the revolutionary complementary Silicon-Germanium (SiGe) BiCom3X process, the THS7375 is a low-power, single-supply, 3 V to 5 V four-channel integrated video buffer. It incorporates a sixth-order Butterworth filter (able to be bypassed) that is useful as a digital-to-analog converter (DAC) reconstruction filter or an analog-to-digital converter (ADC) anti-aliasing filter. The 9.5-MHz filter is a perfect choice for SDTV video that includes composite (CVBS), S-video, Y'U'V', G'B'R' (R'G'B'), Y'P'BP'R 480i/576i, and SCART systems.

    As part of the THS7375 flexibility, the input can be configured for either ac or dc-coupled inputs. The 320-mV output level shift allows for a full sync dynamic range at the output with 0-V input. The ac-coupled modes include a transparent sync-tip clamp option for CVBS, Y', and G'B'R' signals with sync. AC-coupled biasing for C'/P'B/P'R channels can easily be achieved by adding an external resistor to VS+.

    The THS7375 is the perfect choice for all video buffer applications. Its rail-to-rail output stage with 5.6-V/V gain allows for both ac and dc line driving. This architecture makes the THS7375 an ideal choice for DaVinci™ processors. The ability to drive two lines per channel, or 75-Ω loads, allows for maximum flexibility as a video line driver. The 9.8-mA total quiescent current at 3.3 V and 0.1-µA disabled current makes it an excellent choice for USB-powered, portable, or other power-sensitive applications.

    The THS7375 is available in a TSSOP-14 package that is lead-free and green (RoHS) compliant.

    Subscribe to Welllinkchips !
    Your Name
    * Email
    Submit a request