0
MSP430F147
  • MSP430F147
  • MSP430F147
  • MSP430F147
  • MSP430F147

MSP430F147

ACTIVE

8 MHz MCU with 32 KB Flash, 1KB SRAM, 12-bit ADC, comparator, SPI/UART

Texas Instruments MSP430F147 Product Info

1 April 2026 1

Parameters

CPU

MSP430

Frequency (MHz)

8

Flash memory (kByte)

32

RAM (kByte)

1

ADC type

12-bit SAR

UART

2

Number of ADC channels

8

SPI

2

USB

No

Hardware accelerators

0

Operating temperature range (°C)

-40 to 85

Rating

Catalog

Communication interface

SPI, UART

Operating system

BareMetal (No OS), TI RTOS

Nonvolatile memory (kByte)

32

Number of GPIOs

48

Number of I2Cs

0

Security

Secure debug

Package

LQFP (PM)-64-144 mm² 12 x 12

Features

  • Low Supply Voltage Range, 1.8 V to 3.6 V
  • Ultra-Low Power Consumption:
    • Active Mode: 280 µA at 1 MHz, 2.2 V
    • Standby Mode: 1.6 µA
    • Off Mode (RAM Retention): 0.1 µA
  • Five Power-Saving Modes
  • Wakeup From Standby Mode in Less Than 6 µs
  • 16-Bit RISC Architecture, 125-ns Instruction Cycle Time
  • 12-Bit Analog-to-Digital Converter (ADC) With Internal Reference, Sample-and-Hold, and Autoscan Feature
  • 16-Bit Timer_B With Seven Capture/Compare-With-Shadow Registers
  • 16-Bit Timer_A With Three Capture/Compare Registers
  • On-Chip Comparator
  • Serial Onboard Programming, No External Programming Voltage Needed, Programmable Code Protection by Security Fuse
  • Serial Communication Interface (USART), Functions as Asynchronous UART or Synchronous SPI Interface
    • Two USARTs (USART0, USART1) On MSP430F14x and MSP430F14x1 Devices
    • One USART (USART0) On MSP430F13x Devices
  • Family Members (Also See Device Comparison)
    • MSP430F133
      • 8KB + 256 Bytes of Flash Memory,
        256 Bytes of RAM
    • MSP430F135
      • 16KB + 256 Bytes of Flash Memory,
        512 Bytes of RAM
    • MSP430F147, MSP430F1471
      • 32KB + 256 Bytes of Flash Memory,
        1KB of RAM
    • MSP430F148, MSP430F1481
      • 48KB + 256 Bytes of Flash Memory,
        2KB of RAM
    • MSP430F149, MSP430F1491
      • 60KB + 256 Bytes of Flash Memory,
        2KB of RAM
  • Low Supply Voltage Range, 1.8 V to 3.6 V
  • Ultra-Low Power Consumption:
    • Active Mode: 280 µA at 1 MHz, 2.2 V
    • Standby Mode: 1.6 µA
    • Off Mode (RAM Retention): 0.1 µA
  • Five Power-Saving Modes
  • Wakeup From Standby Mode in Less Than 6 µs
  • 16-Bit RISC Architecture, 125-ns Instruction Cycle Time
  • 12-Bit Analog-to-Digital Converter (ADC) With Internal Reference, Sample-and-Hold, and Autoscan Feature
  • 16-Bit Timer_B With Seven Capture/Compare-With-Shadow Registers
  • 16-Bit Timer_A With Three Capture/Compare Registers
  • On-Chip Comparator
  • Serial Onboard Programming, No External Programming Voltage Needed, Programmable Code Protection by Security Fuse
  • Serial Communication Interface (USART), Functions as Asynchronous UART or Synchronous SPI Interface
    • Two USARTs (USART0, USART1) On MSP430F14x and MSP430F14x1 Devices
    • One USART (USART0) On MSP430F13x Devices
  • Family Members (Also See Device Comparison)
    • MSP430F133
      • 8KB + 256 Bytes of Flash Memory,
        256 Bytes of RAM
    • MSP430F135
      • 16KB + 256 Bytes of Flash Memory,
        512 Bytes of RAM
    • MSP430F147, MSP430F1471
      • 32KB + 256 Bytes of Flash Memory,
        1KB of RAM
    • MSP430F148, MSP430F1481
      • 48KB + 256 Bytes of Flash Memory,
        2KB of RAM
    • MSP430F149, MSP430F1491
      • 60KB + 256 Bytes of Flash Memory,
        2KB of RAM

Description

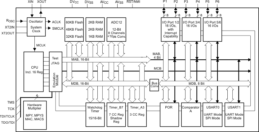
The Texas Instruments MSP430™ family of ultra-low-power microcontrollers (MCUs) consist of several devices featuring different sets of peripherals targeted for various applications. The architecture, combined with five low-power modes is optimized to achieve extended battery life in portable measurement applications. The device features a powerful 16-bit RISC CPU, 16-bit registers, and constant generators that attribute to maximum code efficiency. The digitally controlled oscillator (DCO) allows wake-up from low-power modes to active mode in less than 6 µs.

The MSP430F13x, MSP430F14x, and MSP430F14x1 MCUs support two built-in 16-bit timers, a fast 12-bit ADC on the MSP430F13x and the MSP430F14x devices, one USART on the MSP430F13x devices or two USARTs on the MSP430F14x and MSP430F14x1 devices, and 48 I/O pins. The hardware multiplier enhances the performance and offers a broad code and hardware-compatible family solution.

For complete module descriptions, see the MSP430x1xx Family User’s Guide.

The Texas Instruments MSP430™ family of ultra-low-power microcontrollers (MCUs) consist of several devices featuring different sets of peripherals targeted for various applications. The architecture, combined with five low-power modes is optimized to achieve extended battery life in portable measurement applications. The device features a powerful 16-bit RISC CPU, 16-bit registers, and constant generators that attribute to maximum code efficiency. The digitally controlled oscillator (DCO) allows wake-up from low-power modes to active mode in less than 6 µs.

The MSP430F13x, MSP430F14x, and MSP430F14x1 MCUs support two built-in 16-bit timers, a fast 12-bit ADC on the MSP430F13x and the MSP430F14x devices, one USART on the MSP430F13x devices or two USARTs on the MSP430F14x and MSP430F14x1 devices, and 48 I/O pins. The hardware multiplier enhances the performance and offers a broad code and hardware-compatible family solution.

For complete module descriptions, see the MSP430x1xx Family User’s Guide.

Subscribe to Welllinkchips !
Your Name
* Email
Submit a request