0
OPA2196
  • OPA2196
  • OPA2196
  • OPA2196

OPA2196

ACTIVE

Dual, 36-V, low power, all-purpose amplifier with mux-friendly input

Texas Instruments OPA2196 Product Info

1 April 2026 0

Parameters

Number of channels

2

Total supply voltage (+5 V = 5, ±5 V = 10) (max) (V)

36

Total supply voltage (+5 V = 5, ±5 V = 10) (min) (V)

4.5

Vos (offset voltage at 25°C) (max) (mV)

0.1

Offset drift (typ) (µV/°C)

0.5

Input bias current (max) (pA)

20

GBW (typ) (MHz)

2.5

Features

EMI Hardened, High Cload Drive

Slew rate (typ) (V/µs)

5.5

Rail-to-rail

In, Out

Iq per channel (typ) (mA)

0.14

Vn at 1 kHz (typ) (nV√Hz)

15

CMRR (typ) (dB)

140

Rating

Catalog

Operating temperature range (°C)

-40 to 125

Iout (typ) (A)

0.065

Architecture

CMOS

Input common mode headroom (to negative supply) (typ) (V)

-0.1

Input common mode headroom (to positive supply) (typ) (V)

0.1

Output swing headroom (to negative supply) (typ) (V)

0.05

Output swing headroom (to positive supply) (typ) (V)

-0.05

THD + N at 1 kHz (typ) (%)

0.0012

Package

SOIC (D)-8-29.4 mm² 4.9 x 6

Features

  • Low Offset Voltage: ±100 µV (maximum)
  • Low Offset Voltage Drift: ±0.5 µV/°C (typical)
  • Low Bias Current: ±5 pA (typical)
  • High Common-Mode Rejection: 140 dB
  • Low Noise: 15 nV/√Hz at 1 kHz
  • Rail-to-Rail Input and Output
  • Differential Input Voltage Range to Supply Rail
  • Wide Bandwidth: 2.5-MHz GBW
  • Low Quiescent Current: 140 µA per Amplifier (typical)
  • Wide Supply: ±2.25 V to ±18 V, 4.5 V to 36 V
  • EMI/RFI Filtered Inputs
  • High Capacitive Load Drive Capability: 1 nF
  • Industry Standard Packages:
    • Single in SOIC-8, SOT-5, and VSSOP-8
    • Dual in SOIC-8 and VSSOP-8
    • Quad in SOIC-14, TSSOP-14, and QFN-16
  • Low Offset Voltage: ±100 µV (maximum)
  • Low Offset Voltage Drift: ±0.5 µV/°C (typical)
  • Low Bias Current: ±5 pA (typical)
  • High Common-Mode Rejection: 140 dB
  • Low Noise: 15 nV/√Hz at 1 kHz
  • Rail-to-Rail Input and Output
  • Differential Input Voltage Range to Supply Rail
  • Wide Bandwidth: 2.5-MHz GBW
  • Low Quiescent Current: 140 µA per Amplifier (typical)
  • Wide Supply: ±2.25 V to ±18 V, 4.5 V to 36 V
  • EMI/RFI Filtered Inputs
  • High Capacitive Load Drive Capability: 1 nF
  • Industry Standard Packages:
    • Single in SOIC-8, SOT-5, and VSSOP-8
    • Dual in SOIC-8 and VSSOP-8
    • Quad in SOIC-14, TSSOP-14, and QFN-16

Description

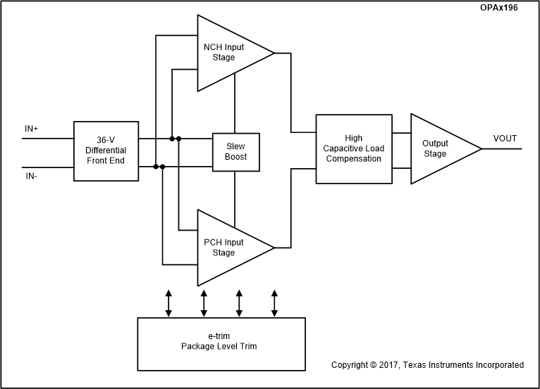
The OPAx196 family (OPA196, OPA2196, and OPA4196) is a new generation of 36-V, rail-to-rail e-trim™ operational amplifiers (op amps).

These devices offer very low offset voltage (±25 µV, typical), drift (±0.5 µV/°C, typical), and low bias current (±5 pA, typical) combined with very low quiescent current (140 µA/channel, typical) across the entire output range.

Unique features, such as differential input-voltage range to the supply rail, high output current (±65 mA), and high capacitive load drive of up to 1 nF make the OPAx196 a robust, high-performance operational amplifier for high-voltage industrial applications.

The OPAx196 family of op amps is available in standard packages and is specified from –40°C to +125°C.

The OPAx196 family (OPA196, OPA2196, and OPA4196) is a new generation of 36-V, rail-to-rail e-trim™ operational amplifiers (op amps).

These devices offer very low offset voltage (±25 µV, typical), drift (±0.5 µV/°C, typical), and low bias current (±5 pA, typical) combined with very low quiescent current (140 µA/channel, typical) across the entire output range.

Unique features, such as differential input-voltage range to the supply rail, high output current (±65 mA), and high capacitive load drive of up to 1 nF make the OPAx196 a robust, high-performance operational amplifier for high-voltage industrial applications.

The OPAx196 family of op amps is available in standard packages and is specified from –40°C to +125°C.

Subscribe to Welllinkchips !
Your Name
* Email
Submit a request