0
MSP430F477
  • MSP430F477
  • MSP430F477
  • MSP430F477
  • MSP430F477

MSP430F477

ACTIVE

8-MHz Sensing MCU with 1 16-bit Sigma-Delta ADC, 12-bit DAC, 128-segment LCD, 32KB Flash, 2KB RAM

Texas Instruments MSP430F477 Product Info

1 April 2026 0

Parameters

CPU

MSP430

Frequency (MHz)

8

Flash memory (kByte)

32

RAM (kByte)

2

ADC type

16-bit Sigma Delta

Features

Advanced sensing, DAC, LCD, Real-time clock

UART

1

Number of ADC channels

5

SPI

2

USB

No

Operating temperature range (°C)

-40 to 85

Rating

Catalog

Communication interface

I2C, SPI, UART

Operating system

BareMetal (No OS), TI RTOS

Hardware accelerators

0

Nonvolatile memory (kByte)

32

Number of GPIOs

48

Number of I2Cs

1

Security

Secure debug

Package

JRBGA (ZQW)-113-49 mm² 7 x 7

Features

  • Low supply-voltage range: 1.8 V to 3.6 V
  • Ultra-low power consumption
    • Active mode: 262 µA at 1 MHz, 2.2 V
    • Standby mode: 1.1 µA
    • Off mode (RAM retention): 0.1 µA
  • Five power-saving modes
  • Wakeup from standby mode in less than 6 µs
  • 16-bit RISC architecture, extended memory, 125‑ns instruction cycle time
  • 16-bit sigma-delta analog-to-digital converter (ADC) with internal reference and five differential analog inputs
  • One 12-bit digital-to-analog converter (DAC)
  • 16-bit Timer_A with three capture/compare registers
  • 16-bit Timer_B with seven capture/compare-with-shadow registers
  • Two universal serial communication interfaces (USCIs)
    • USCI_A0
      • Enhanced UART supports automatic baud-rate detection
      • IrDA encoder and decoder
      • Synchronous SPI
    • USCI_B0
      • I2C
      • Synchronous SPI
  • Integrated LCD driver up to 160 segments with regulated charge pump
  • Brownout detector
  • Basic timer with real-time clock (RTC) feature
  • Supply voltage supervisor and monitor with programmable level detection
  • On-Chip Comparator
  • Serial onboard programming, programmable code protection by security fuse
  • Bootloader
  • On chip emulation module
  • Device Comparison summarizes the available family members
    • MSP430F477: 32KB + 256 bytes of flash, 2KB of RAM
    • MSP430F478: 48KB + 256 bytes of flash, 2KB of RAM
    • MSP430F479: 60KB + 256 bytes of flash, 2KB of RAM
  • Available in 113-ball MicroStar Junior™ BGA (ZQW), 113-ball nFBGA (ZCA), and 80-pin QFP (PN) packages (see Device Comparison)
  • Low supply-voltage range: 1.8 V to 3.6 V
  • Ultra-low power consumption
    • Active mode: 262 µA at 1 MHz, 2.2 V
    • Standby mode: 1.1 µA
    • Off mode (RAM retention): 0.1 µA
  • Five power-saving modes
  • Wakeup from standby mode in less than 6 µs
  • 16-bit RISC architecture, extended memory, 125‑ns instruction cycle time
  • 16-bit sigma-delta analog-to-digital converter (ADC) with internal reference and five differential analog inputs
  • One 12-bit digital-to-analog converter (DAC)
  • 16-bit Timer_A with three capture/compare registers
  • 16-bit Timer_B with seven capture/compare-with-shadow registers
  • Two universal serial communication interfaces (USCIs)
    • USCI_A0
      • Enhanced UART supports automatic baud-rate detection
      • IrDA encoder and decoder
      • Synchronous SPI
    • USCI_B0
      • I2C
      • Synchronous SPI
  • Integrated LCD driver up to 160 segments with regulated charge pump
  • Brownout detector
  • Basic timer with real-time clock (RTC) feature
  • Supply voltage supervisor and monitor with programmable level detection
  • On-Chip Comparator
  • Serial onboard programming, programmable code protection by security fuse
  • Bootloader
  • On chip emulation module
  • Device Comparison summarizes the available family members
    • MSP430F477: 32KB + 256 bytes of flash, 2KB of RAM
    • MSP430F478: 48KB + 256 bytes of flash, 2KB of RAM
    • MSP430F479: 60KB + 256 bytes of flash, 2KB of RAM
  • Available in 113-ball MicroStar Junior™ BGA (ZQW), 113-ball nFBGA (ZCA), and 80-pin QFP (PN) packages (see Device Comparison)

Description

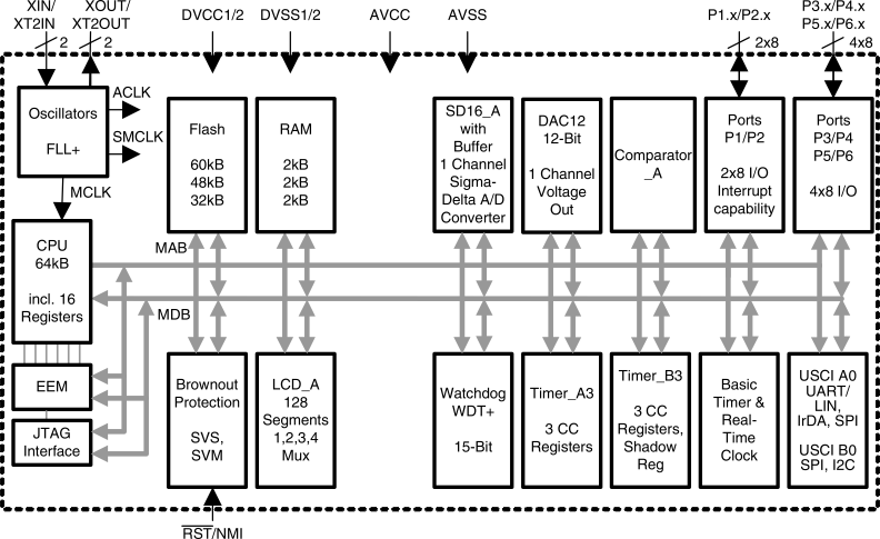
The Texas Instruments MSP430™ family of ultra-low-power microcontrollers consists of several devices featuring different sets of peripherals targeted for various applications. The architecture, combined with five low-power modes, is optimized to achieve extended battery life in portable measurement applications. The device features a powerful 16-bit RISC CPU, 16-bit registers, and constant generators that contribute to maximum code efficiency.The digitally controlled oscillator (DCO) allows wake-up from low-power modes to active mode in less than 6 µs.

The MSP430F47x is a microcontroller configuration with two 16-bit timers, a basic timer with a real-time clock, a high-performance 16-bit sigma-delta A/D converter, single 12-bit D/A converter, two universal serial communication interface, 48 I/O pins, and a liquid crystal display driver.

For complete module descriptions, see the MSP430x4xx Family User’s Guide.

The Texas Instruments MSP430™ family of ultra-low-power microcontrollers consists of several devices featuring different sets of peripherals targeted for various applications. The architecture, combined with five low-power modes, is optimized to achieve extended battery life in portable measurement applications. The device features a powerful 16-bit RISC CPU, 16-bit registers, and constant generators that contribute to maximum code efficiency.The digitally controlled oscillator (DCO) allows wake-up from low-power modes to active mode in less than 6 µs.

The MSP430F47x is a microcontroller configuration with two 16-bit timers, a basic timer with a real-time clock, a high-performance 16-bit sigma-delta A/D converter, single 12-bit D/A converter, two universal serial communication interface, 48 I/O pins, and a liquid crystal display driver.

For complete module descriptions, see the MSP430x4xx Family User’s Guide.

Subscribe to Welllinkchips !
Your Name
* Email
Submit a request