0
LM36272
  • LM36272
  • LM36272

LM36272

ACTIVE

Two-channel LCD backlight and Bias power Linux Mainline Status

Texas Instruments LM36272 Product Info

1 April 2026 0

Parameters

Number of channels

2

Vin (min) (V)

2.7

Vin (max) (V)

5

Vout (min) (V)

27

Vout (max) (V)

30

Type

Inductive

Switching frequency (max) (kHz)

1050

Duty cycle (max) (%)

92

LED current per channel (mA)

30

Peak efficiency (%)

92

Topology

Boost, Current Sink

Features

Adjustable Switch Frequency, CABC, Direct PWM Dimming, I2C control, OVP, Thermal shutdown

Operating temperature range (°C)

-40 to 85

Rating

Catalog

Package

DSBGA (YFF)-24-4.67999999999999928 mm² 1.8 x 2.5999999999999996

Features

  • Drives up to Two Parallel White LED Strings
    (29-V Maximum VOUT)
  • 11-Bit Exponential and Linear Dimming Control
  • PWM and I2C Brightness Control
  • Backlight Operation With 4.7-µH to 15-µH Inductor
  • Backlight and LCD Bias Efficiency up to 92%
  • Programmable LCD Bias Voltages (±4 V to ±6.5 V With 50-mV resolution) With Up to 80-mA per Output
  • 0.2% Matched LED Current From 60 µA to 30 mA
  • 1% Accurate LED Current From 60 µA to 30 mA
  • 2.7-V to 5-V Input Voltage Range
  • Drives up to Two Parallel White LED Strings
    (29-V Maximum VOUT)
  • 11-Bit Exponential and Linear Dimming Control
  • PWM and I2C Brightness Control
  • Backlight Operation With 4.7-µH to 15-µH Inductor
  • Backlight and LCD Bias Efficiency up to 92%
  • Programmable LCD Bias Voltages (±4 V to ±6.5 V With 50-mV resolution) With Up to 80-mA per Output
  • 0.2% Matched LED Current From 60 µA to 30 mA
  • 1% Accurate LED Current From 60 µA to 30 mA
  • 2.7-V to 5-V Input Voltage Range

Description

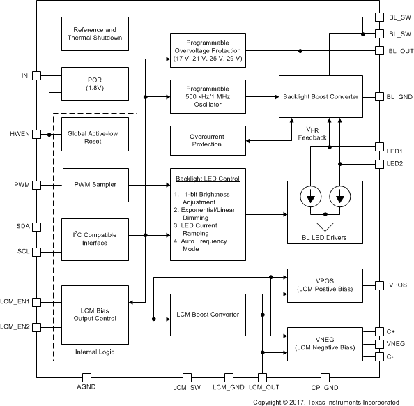
The LM36272 is an integrated two-channel WLED driver and LCD bias supply. The ultra-compact size, high efficiency, high level of integration, and programmability allow the LM36272 to address a variety of applications without the need for hardware changes while minimizing the overall solution area.

The backlight boost provides the power to bias two parallel LED strings with up to 29-V total output voltage. The 11-bit LED current is programmable via the I2C bus and/or controlled via a logic level PWM input from 60 µA to 30 mA. Each LED string can be independently enabled or disabled to provide zone dimming capabilities. The backlight boost can be operated efficiently with an inductance range from 4.7 µH to 15 µH, allowing for efficiency and solution size optimization.

The LCD bias boost provides the power to both a positive LDO and an inverting charge pump. Both positive and negative bias supplies have programmable output voltages of ±4 V to ±6.5 V with 50-mV steps and up to ±80 mA of current capability. An auto-sequencing feature provides a programmed delay from positive to negative bias activation, with additional programmable voltage slew rate control. Two wake-up modes allow both bias outputs to be controlled with a single external signal and stay active while consuming very low quiescent current.

The LM36272 is an integrated two-channel WLED driver and LCD bias supply. The ultra-compact size, high efficiency, high level of integration, and programmability allow the LM36272 to address a variety of applications without the need for hardware changes while minimizing the overall solution area.

The backlight boost provides the power to bias two parallel LED strings with up to 29-V total output voltage. The 11-bit LED current is programmable via the I2C bus and/or controlled via a logic level PWM input from 60 µA to 30 mA. Each LED string can be independently enabled or disabled to provide zone dimming capabilities. The backlight boost can be operated efficiently with an inductance range from 4.7 µH to 15 µH, allowing for efficiency and solution size optimization.

The LCD bias boost provides the power to both a positive LDO and an inverting charge pump. Both positive and negative bias supplies have programmable output voltages of ±4 V to ±6.5 V with 50-mV steps and up to ±80 mA of current capability. An auto-sequencing feature provides a programmed delay from positive to negative bias activation, with additional programmable voltage slew rate control. Two wake-up modes allow both bias outputs to be controlled with a single external signal and stay active while consuming very low quiescent current.

Subscribe to Welllinkchips !
Your Name
* Email
Submit a request