0
LP8733
  • LP8733
  • LP8733
  • LP8733

LP8733

ACTIVE

Dual high-current buck converters and dual linear regulators

Texas Instruments LP8733 Product Info

1 April 2026 2

Parameters

Processor supplier

NXP, Texas Instruments

Processor name

AM6411, AM68, AM68A, AM68x, i.MX 8M Mini/Nano

Product type

Processor and FPGA

Regulated outputs (#)

4

Step-down DC/DC converter

2

Step-up DC/DC converter

0

LDO

2

Vin (min) (V)

2.8

Vin (max) (V)

5.5

Vout (min) (V)

0.7

Vout (max) (V)

3.36

Iout (max) (A)

3

Configurability

Factory programmable, Software configurable

Features

Enable pin, I2C control, Power good, Power sequencing, Spread-Spectrum Clock (SSC) Generation, Thermal shutdown, UVLO adjustable

Rating

Catalog

Operating temperature range (°C)

-40 to 125

Step-down DC/DC controller

0

Step-up DC/DC controller

0

Iq (typ) (mA)

0.009

Switching frequency (max) (kHz)

2200

Switching frequency (typ) (kHz)

2000

LDO Iout (typ) (A)

0.3, 0.3

Step-down DC/DC Iout (typ) (A)

3, 3

Package

VQFN (RHD)-28-25 mm² 5 x 5

Features

  • Device operating temperature range: –40°C to +125°C ambient temperature
  • Input voltage: 2.8 V to 5.5 V
  • Two high-efficiency step-down DC/DC converters:
    • Output voltage: 0.7 V to 3.36 V
    • Maximum output current 3 A per phase
    • Adding and shedding auto phase and force multi-phase operations in dual-phase configuration
    • Remote differential feedback voltage sensing in dual-phase configuration
    • Programmable output-voltage slew rate from 0.5 mV/µs to 10 mV/µs
    • 2-MHz switching frequency
    • Spread-spectrum mode and phase interleaving for EMI reduction
  • Two linear regulators:
    • Input voltage: 2.5 V to 5.5 V
    • Output voltage: 0.8 V to 3.3 V
    • Maximum output current 300 mA
  • Configurable general-purpose output signals (GPO, GPO2)
  • Interrupt function with programmable masking
  • Programmable power-good signal (PGOOD)
  • Output short-circuit and overload protection
  • Overtemperature warning and protection
  • Overvoltage protection (OVP) and undervoltage lockout (UVLO)
  • 28-pin, 5-mm × 5-mm VQFN package with wettable flanks
  • Device operating temperature range: –40°C to +125°C ambient temperature
  • Input voltage: 2.8 V to 5.5 V
  • Two high-efficiency step-down DC/DC converters:
    • Output voltage: 0.7 V to 3.36 V
    • Maximum output current 3 A per phase
    • Adding and shedding auto phase and force multi-phase operations in dual-phase configuration
    • Remote differential feedback voltage sensing in dual-phase configuration
    • Programmable output-voltage slew rate from 0.5 mV/µs to 10 mV/µs
    • 2-MHz switching frequency
    • Spread-spectrum mode and phase interleaving for EMI reduction
  • Two linear regulators:
    • Input voltage: 2.5 V to 5.5 V
    • Output voltage: 0.8 V to 3.3 V
    • Maximum output current 300 mA
  • Configurable general-purpose output signals (GPO, GPO2)
  • Interrupt function with programmable masking
  • Programmable power-good signal (PGOOD)
  • Output short-circuit and overload protection
  • Overtemperature warning and protection
  • Overvoltage protection (OVP) and undervoltage lockout (UVLO)
  • 28-pin, 5-mm × 5-mm VQFN package with wettable flanks

Description

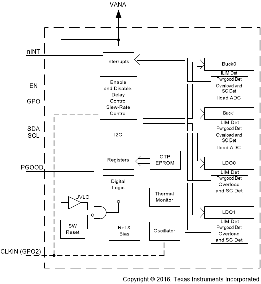
The LP8733xx is designed to meet the power management requirements in industrial applications. The device has two step-down DC/DC converters (which can be configured as a single dual-phase regulator or two single-phase regulators), two linear regulators, and two general-purpose digital-output signals. The device is controlled by an I2C-compatible serial interface and by an enable signal.

The automatic PWM/PFM (AUTO mode) operation together with the automatic phase adding/shedding gives high efficiency over a wide output-current range. The LP8733xx supports remote voltage sensing (differential in dual-phase configuration) to compensate IR drop between the regulator output and the point-of-load (POL), thus improving the accuracy of the output voltage. In addition, the switching clock can be forced to PWM mode and also synchronized to an external clock to minimize the disturbances.

The LP8733xx device supports programmable start-up and shutdown delays and sequences including GPO signals synchronized to the enable signal. During start-up and voltage change, the device controls the output slew rate to minimize output voltage overshoot and the in-rush current.

The LP8733xx is designed to meet the power management requirements in industrial applications. The device has two step-down DC/DC converters (which can be configured as a single dual-phase regulator or two single-phase regulators), two linear regulators, and two general-purpose digital-output signals. The device is controlled by an I2C-compatible serial interface and by an enable signal.

The automatic PWM/PFM (AUTO mode) operation together with the automatic phase adding/shedding gives high efficiency over a wide output-current range. The LP8733xx supports remote voltage sensing (differential in dual-phase configuration) to compensate IR drop between the regulator output and the point-of-load (POL), thus improving the accuracy of the output voltage. In addition, the switching clock can be forced to PWM mode and also synchronized to an external clock to minimize the disturbances.

The LP8733xx device supports programmable start-up and shutdown delays and sequences including GPO signals synchronized to the enable signal. During start-up and voltage change, the device controls the output slew rate to minimize output voltage overshoot and the in-rush current.

Subscribe to Welllinkchips !
Your Name
* Email
Submit a request