0
MSP430F67671A
  • MSP430F67671A
  • MSP430F67671A

MSP430F67671A

ACTIVE

Polyphase metering SoC with 6 Sigma-Delta ADCs, LCD, real-time clock, 256KB Flash, 32KB RAM

Texas Instruments MSP430F67671A Product Info

1 April 2026 0

Parameters

CPU

MSP430

Frequency (MHz)

25

Flash memory (kByte)

256

RAM (kByte)

32

ADC type

24-bit Sigma Delta

Features

Advanced sensing, LCD, Real-time clock

UART

4

Number of ADC channels

6

SPI

6

USB

No

Operating temperature range (°C)

-40 to 85

Rating

Catalog

Communication interface

I2C, SPI, UART

Operating system

BareMetal (No OS), TI RTOS

Hardware accelerators

0

Nonvolatile memory (kByte)

256

Number of GPIOs

90

Number of I2Cs

2

Security

Secure debug

Package

LQFP (PEU)-128-352 mm² 22 x 16

Features

  • Accuracy < 0.1% Over 2000:1 Dynamic Range for Phase Current
  • Meets or Exceeds ANSI C12.20 and IEC 62053 Standards
  • Support for Multiple Sensors Such as Current Transformers, Rogowski Coils, or Shunts
  • Power Measurement for up to Three Phases Plus Neutral
  • Dedicated Pulse Output Pins for Active and Reactive Energy for Calibration
  • 4-Quadrant Measurement per Phase or Cumulative
  • Exact Phase-Angle Measurements
  • Digital Phase Correction for Current Transformers
  • Temperature-Compensated Energy Measurements
  • 40-Hz to 70-Hz Line Frequency Range Using Single Calibration
  • Flexible Power Supply Options With Automatic Switching
  • Display Operates at Very Low Power During AC Mains Failure: 3 µA in LPM3
  • LCD Driver With Contrast Control for up to 320 Segments
  • Password-Protected Real-Time Clock (RTC) With Tamper Detection, Crystal Offset Calibration, and Temperature Compensation
  • Integrated Security Modules to Support Anti‑Tamper
  • Multiple Communication Interfaces for Smart Meter Implementations
  • High-Performance Analog
    • Up to Seven Independent 24-Bit Sigma-Delta ADCs With Differential Inputs and Variable Gain
    • 10-Bit 200-ksps SAR ADC With Six External Channels and Two Internal Channels, Including Supply and Temperature Sensor Measurement
  • Highly Integrated Digital
    • Three-Channel Direct Memory Access (DMA) Controller
    • 16-Bit Cyclic Redundancy Check (CRC) Module
    • Four 16-Bit Timers With Nine Total Capture/Compare Registers
  • Six Enhanced Universal Serial Communication Interfaces (eUSCIs)
    • eUSCI_A0, eUSCI_A1, eUSCI_A2, and eUSCI_A3 Support UART, IrDA, and SPI
    • eUSCI_B0, eUSCI_B1 Support SPI and I2C
  • Ultra-Low Power Consumption
    • Multiple Low-Power Modes
      • Standby Mode (LPM3): 2.1 µA at 3 V,
        Wake up in Less Than 5 µs
      • RTC Mode (LPM3.5): 0.34 µA at 3 V
      • Shutdown Mode (LPM4.5): 0.18 µA at 3 V
  • CPU
    • High-Performance 25-MHz CPU With 32-Bit Multiplier
    • Wide Input Supply Voltage Range:
      3.6 V Down to 1.8 V
  • Memory
    • Up to 512KB of Single-Cycle Flash
    • Up to 32KB of RAM With Single-Cycle Access
  • Package Options
    • 128-Pin LQFP (PEU) Package With 90 I/O Pins
    • 100-Pin LQFP (PZ) Package With 62 I/O Pins
  • Development Tools (Also See Tools and Software)
  • Accuracy < 0.1% Over 2000:1 Dynamic Range for Phase Current
  • Meets or Exceeds ANSI C12.20 and IEC 62053 Standards
  • Support for Multiple Sensors Such as Current Transformers, Rogowski Coils, or Shunts
  • Power Measurement for up to Three Phases Plus Neutral
  • Dedicated Pulse Output Pins for Active and Reactive Energy for Calibration
  • 4-Quadrant Measurement per Phase or Cumulative
  • Exact Phase-Angle Measurements
  • Digital Phase Correction for Current Transformers
  • Temperature-Compensated Energy Measurements
  • 40-Hz to 70-Hz Line Frequency Range Using Single Calibration
  • Flexible Power Supply Options With Automatic Switching
  • Display Operates at Very Low Power During AC Mains Failure: 3 µA in LPM3
  • LCD Driver With Contrast Control for up to 320 Segments
  • Password-Protected Real-Time Clock (RTC) With Tamper Detection, Crystal Offset Calibration, and Temperature Compensation
  • Integrated Security Modules to Support Anti‑Tamper
  • Multiple Communication Interfaces for Smart Meter Implementations
  • High-Performance Analog
    • Up to Seven Independent 24-Bit Sigma-Delta ADCs With Differential Inputs and Variable Gain
    • 10-Bit 200-ksps SAR ADC With Six External Channels and Two Internal Channels, Including Supply and Temperature Sensor Measurement
  • Highly Integrated Digital
    • Three-Channel Direct Memory Access (DMA) Controller
    • 16-Bit Cyclic Redundancy Check (CRC) Module
    • Four 16-Bit Timers With Nine Total Capture/Compare Registers
  • Six Enhanced Universal Serial Communication Interfaces (eUSCIs)
    • eUSCI_A0, eUSCI_A1, eUSCI_A2, and eUSCI_A3 Support UART, IrDA, and SPI
    • eUSCI_B0, eUSCI_B1 Support SPI and I2C
  • Ultra-Low Power Consumption
    • Multiple Low-Power Modes
      • Standby Mode (LPM3): 2.1 µA at 3 V,
        Wake up in Less Than 5 µs
      • RTC Mode (LPM3.5): 0.34 µA at 3 V
      • Shutdown Mode (LPM4.5): 0.18 µA at 3 V
  • CPU
    • High-Performance 25-MHz CPU With 32-Bit Multiplier
    • Wide Input Supply Voltage Range:
      3.6 V Down to 1.8 V
  • Memory
    • Up to 512KB of Single-Cycle Flash
    • Up to 32KB of RAM With Single-Cycle Access
  • Package Options
    • 128-Pin LQFP (PEU) Package With 90 I/O Pins
    • 100-Pin LQFP (PZ) Package With 62 I/O Pins
  • Development Tools (Also See Tools and Software)

Description

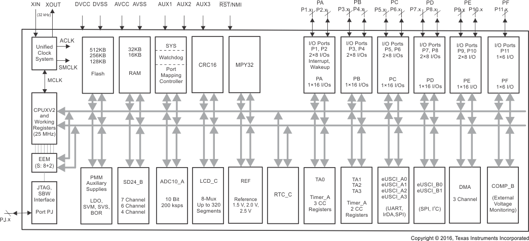
MSP430F67xx1A polyphase metering SoCs are powerful highly integrated solutions that offer high accuracy and low system cost with few external components. The MSP430F67xx1A microcontroller (MCU) family is part of the MSP430™ Metrology and Monitoring MCU portfolio targeting energy measurement and power monitoring applications including smart grid and building automation.

MSP430F67xx1A MCUs feature up to seven independent 24-bit sigma-delta ADCs that can provide better than 0.1% accuracy. MSP430F67xx1A devices integrate a high-performance MSP430 CPU with a 32-bit multiplier to perform all metrology calculations. Family members include up to 512KB of flash, 32KB of RAM, and an LCD controller with support for up to 320 segments.

The ultra-low power consumption of the MSP430F67xx1A enables the system power supply to be minimized to reduce overall cost. Low standby power requires minimal energy storage, and critical data can be retained longer in case of a mains power failure.

The MSP430F67xx1A MCU family is supported by an extensive software and hardware ecosystem. The Texas Instruments Energy Measurement Design Center (EMDC) can simplify development and accelerate designs by quickly configuring the Energy Measurement software library, automatically generating code, performing calibration, and viewing results. MSP430F67xx1A MCUs execute the Energy Measurement software library, which calculates all relevant energy and power results. Development kits include the EVM430-F6779 three-phase electricity meter evaluation module and the MSP-TS430PEU128 128-pin target development board. Industry standard development tools and hardware platforms are available to speed development of meters that meet all of the ANSI and IEC standards globally.

For complete module descriptions, see the MSP430F5xx and MSP430F6xx Family User’s Guide.

MSP430F67xx1A polyphase metering SoCs are powerful highly integrated solutions that offer high accuracy and low system cost with few external components. The MSP430F67xx1A microcontroller (MCU) family is part of the MSP430™ Metrology and Monitoring MCU portfolio targeting energy measurement and power monitoring applications including smart grid and building automation.

MSP430F67xx1A MCUs feature up to seven independent 24-bit sigma-delta ADCs that can provide better than 0.1% accuracy. MSP430F67xx1A devices integrate a high-performance MSP430 CPU with a 32-bit multiplier to perform all metrology calculations. Family members include up to 512KB of flash, 32KB of RAM, and an LCD controller with support for up to 320 segments.

The ultra-low power consumption of the MSP430F67xx1A enables the system power supply to be minimized to reduce overall cost. Low standby power requires minimal energy storage, and critical data can be retained longer in case of a mains power failure.

The MSP430F67xx1A MCU family is supported by an extensive software and hardware ecosystem. The Texas Instruments Energy Measurement Design Center (EMDC) can simplify development and accelerate designs by quickly configuring the Energy Measurement software library, automatically generating code, performing calibration, and viewing results. MSP430F67xx1A MCUs execute the Energy Measurement software library, which calculates all relevant energy and power results. Development kits include the EVM430-F6779 three-phase electricity meter evaluation module and the MSP-TS430PEU128 128-pin target development board. Industry standard development tools and hardware platforms are available to speed development of meters that meet all of the ANSI and IEC standards globally.

For complete module descriptions, see the MSP430F5xx and MSP430F6xx Family User’s Guide.

Subscribe to Welllinkchips !
Your Name
* Email
Submit a request