0
LM3697
  • LM3697
  • LM3697
  • LM3697
  • LM3697

LM3697

ACTIVE

3 String backlight driver with 11-bits of Exponential dimming Linux Mainline Status

Texas Instruments LM3697 Product Info

1 April 2026 0

Parameters

Number of channels

3

Vin (min) (V)

2.7

Vin (max) (V)

5.5

Vout (min) (V)

0

Vout (max) (V)

40

Type

Inductive

Switching frequency (max) (kHz)

1100

Duty cycle (max) (%)

94

LED current per channel (mA)

30

Peak efficiency (%)

91

Topology

Boost

Features

I2C control, OVP, PWM control

Operating temperature range (°C)

-40 to 125

Rating

Catalog

Package

DSBGA (YFQ)-12-2.52000000000000018 mm² 1.8 x 1.4000000000000001

Features

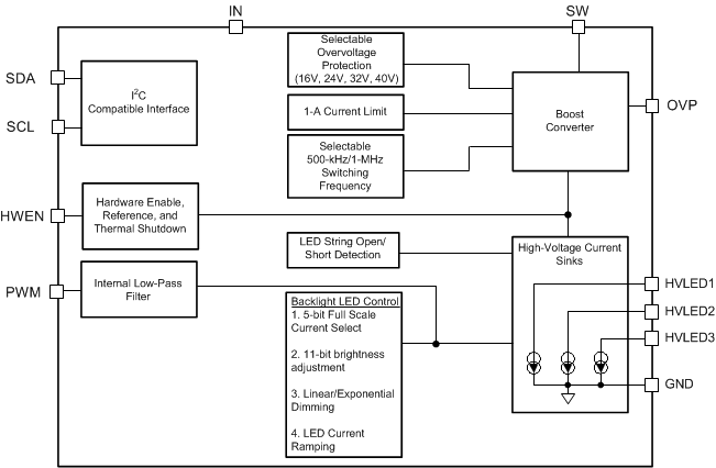
  • Drives three parallel high-voltage led strings for display and keypad lighting
  • High-voltage strings capable of up to 40-V output voltage and up to 90% efficiency
  • Up to 30 mA per current sink
  • 11-Bit configurable dimming resolution
  • PWM input for content adjustable brightness control (CABC)
  • Fully configurable LED grouping and control
  • Integrated 1-A/40-V MOSFET
  • Adaptive boost output to LED voltages
  • Selectable 500-kHz and 1-MHz switching frequency
  • Four configurable overvoltage protection thresholds (16 V, 24 V, 32 V, and 40 V)
  • Overcurrent protection
  • Thermal shutdown protection
  • 29-mm2 Total solution size
  • Drives three parallel high-voltage led strings for display and keypad lighting
  • High-voltage strings capable of up to 40-V output voltage and up to 90% efficiency
  • Up to 30 mA per current sink
  • 11-Bit configurable dimming resolution
  • PWM input for content adjustable brightness control (CABC)
  • Fully configurable LED grouping and control
  • Integrated 1-A/40-V MOSFET
  • Adaptive boost output to LED voltages
  • Selectable 500-kHz and 1-MHz switching frequency
  • Four configurable overvoltage protection thresholds (16 V, 24 V, 32 V, and 40 V)
  • Overcurrent protection
  • Thermal shutdown protection
  • 29-mm2 Total solution size

Description

The LM3697 11-bit LED driver provides high-performance backlight dimming for 1, 2, or 3 series LED strings while delivering up to 90% efficiency. The boost converter with integrated 1-A, 40-V MOSFET automatically adjusts to LED forward voltage to minimize headroom voltage and effectively improve LED efficiency.

The LM3697 is a high-efficiency three-string power source for backlight or keypad LEDs in smart-phone handsets. The high-voltage inductive boost converter provides the power for three-series LED strings for display backlight and keypad functions (HVLED1, HVLED2, and HVLED3).

An additional feature is a pulse width modulation (PWM) control input for content adjustable backlight control, which can be used to control any high-voltage current sink.

The LM3697 is fully configurable via an I2C-compatible interface. The device operates over a
2.7-V to 5.5-V input voltage range and a −40°C to +85°C temperature range.

The LM3697 11-bit LED driver provides high-performance backlight dimming for 1, 2, or 3 series LED strings while delivering up to 90% efficiency. The boost converter with integrated 1-A, 40-V MOSFET automatically adjusts to LED forward voltage to minimize headroom voltage and effectively improve LED efficiency.

The LM3697 is a high-efficiency three-string power source for backlight or keypad LEDs in smart-phone handsets. The high-voltage inductive boost converter provides the power for three-series LED strings for display backlight and keypad functions (HVLED1, HVLED2, and HVLED3).

An additional feature is a pulse width modulation (PWM) control input for content adjustable backlight control, which can be used to control any high-voltage current sink.

The LM3697 is fully configurable via an I2C-compatible interface. The device operates over a
2.7-V to 5.5-V input voltage range and a −40°C to +85°C temperature range.

Subscribe to Welllinkchips !
Your Name
* Email
Submit a request