0
DRV10975
  • DRV10975
  • DRV10975
  • DRV10975

DRV10975

ACTIVE

12-V nominal, 2-A peak sensorless sinusoidal control 3-phase BLDC motor driver

Texas Instruments DRV10975 Product Info

1 April 2026 0

Parameters

Rating

Catalog

Architecture

Integrated FET

Control topology

Sensorless, Sinusoidal

Control interface

1xPWM, Analog, Serial

Vs (min) (V)

6.5

Vs ABS (max) (V)

23

Features

Buck Step Down Converter, Initial Position Detect (IPD), Integrated FETs, Integrated Motor Control, Rotor Lock Protection, SPI/I2C, Tach/FG Feedback

Operating temperature range (°C)

-40 to 125

Package

HTSSOP (PWP)-24-49.92 mm² 7.8 x 6.4

Features

  • Input Voltage Range: 6.5 to 18 V
  • Total Driver H + L rDS(on): 250 mΩ
  • Drive Current: 1.5-A Continuous Winding Current (2-A Peak)
  • Sensorless Proprietary Back Electromotive Force (BEMF) Control Scheme
  • Continuous Sinusoidal 180° Commutation
  • No External Sense Resistor Required
  • For Flexibility User May Include External Sense Resistor to Monitor Power Delivered to Motor
  • Flexible User Interface Options:
    • I2C Interface: Access Registers for Command and Feedback
    • Dedicated SPEED Pin: Accepts Either Analog or PWM Input
    • Dedicated FG Pin: Provides TACH Feedback
    • Spin-Up Profile Customizable With EEPROM
    • Forward-Reverse Control With DIR Pin
  • Integrated Step-Down Regulator to Efficiently Provide Voltage (5 V or 3.3 V) for Internal and External Circuits
  • Supply Current 4.5 mA With Standby Version (DRV10975)
  • Supply Current 80 µA With Sleep Version (DRV10975Z)
  • Overcurrent Protection
  • Lock Detection
  • Voltage Surge Protection
  • UVLO Protection
  • Thermal Shutdown Protection
  • Thermally-Enhanced 24-Pin HTSSOP
  • Input Voltage Range: 6.5 to 18 V
  • Total Driver H + L rDS(on): 250 mΩ
  • Drive Current: 1.5-A Continuous Winding Current (2-A Peak)
  • Sensorless Proprietary Back Electromotive Force (BEMF) Control Scheme
  • Continuous Sinusoidal 180° Commutation
  • No External Sense Resistor Required
  • For Flexibility User May Include External Sense Resistor to Monitor Power Delivered to Motor
  • Flexible User Interface Options:
    • I2C Interface: Access Registers for Command and Feedback
    • Dedicated SPEED Pin: Accepts Either Analog or PWM Input
    • Dedicated FG Pin: Provides TACH Feedback
    • Spin-Up Profile Customizable With EEPROM
    • Forward-Reverse Control With DIR Pin
  • Integrated Step-Down Regulator to Efficiently Provide Voltage (5 V or 3.3 V) for Internal and External Circuits
  • Supply Current 4.5 mA With Standby Version (DRV10975)
  • Supply Current 80 µA With Sleep Version (DRV10975Z)
  • Overcurrent Protection
  • Lock Detection
  • Voltage Surge Protection
  • UVLO Protection
  • Thermal Shutdown Protection
  • Thermally-Enhanced 24-Pin HTSSOP

Description

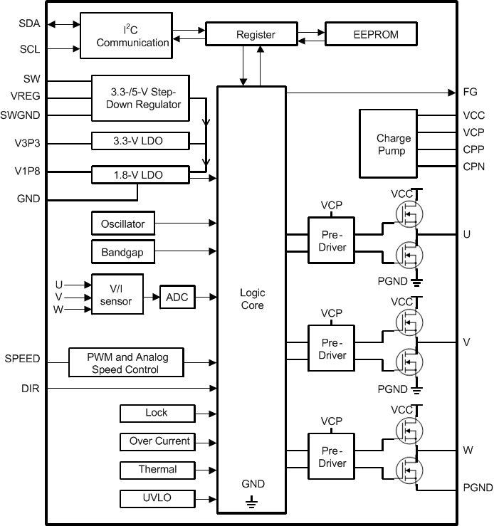
The DRV10975 device is a three-phase sensorless motor driver with integrated power MOSFETs, which can provide continuous drive current up to 1.5 A. The device is specifically designed for cost-sensitive, low-noise, low-external-component-count applications.

The DRV10975 device uses a proprietary sensorless control scheme to provide continuous sinusoidal drive, which significantly reduces the pure tone acoustics that typically occur as a result of commutation. The interface to the device is designed to be simple and flexible. The motor can be controlled directly through PWM, analog, or I2C inputs. Motor speed feedback is available through either the FG pin or I2C.

The DRV10975 device features an integrated step-down regulator to efficiently step down the supply voltage to either 5 or 3.3 V for powering both internal and external circuits. The device is available in either a sleep mode or a standby mode version to conserve power when the motor is not running. The standby mode (4.5-mA) version leaves the regulator running and the sleep mode (80-µA) version shuts it off. Use the standby mode version in applications where the regulator is used to power an external microcontroller.

TI provides DRV10975 tuning Guide for quick setup and tuning of the device for optimal performance.

An I2C interface allows the user to reprogram specific motor parameters in registers and program the EEPROM to help optimize the performance for a given application. The DRV10975 device is available in a thermally efficient HTSSOP, 24-pin package with an exposed thermal pad. The operating temperature is specified from –40°C to 125°C.

The DRV10975 device is a three-phase sensorless motor driver with integrated power MOSFETs, which can provide continuous drive current up to 1.5 A. The device is specifically designed for cost-sensitive, low-noise, low-external-component-count applications.

The DRV10975 device uses a proprietary sensorless control scheme to provide continuous sinusoidal drive, which significantly reduces the pure tone acoustics that typically occur as a result of commutation. The interface to the device is designed to be simple and flexible. The motor can be controlled directly through PWM, analog, or I2C inputs. Motor speed feedback is available through either the FG pin or I2C.

The DRV10975 device features an integrated step-down regulator to efficiently step down the supply voltage to either 5 or 3.3 V for powering both internal and external circuits. The device is available in either a sleep mode or a standby mode version to conserve power when the motor is not running. The standby mode (4.5-mA) version leaves the regulator running and the sleep mode (80-µA) version shuts it off. Use the standby mode version in applications where the regulator is used to power an external microcontroller.

TI provides DRV10975 tuning Guide for quick setup and tuning of the device for optimal performance.

An I2C interface allows the user to reprogram specific motor parameters in registers and program the EEPROM to help optimize the performance for a given application. The DRV10975 device is available in a thermally efficient HTSSOP, 24-pin package with an exposed thermal pad. The operating temperature is specified from –40°C to 125°C.

Subscribe to Welllinkchips !
Your Name
* Email
Submit a request