0
MSP430F4618
  • MSP430F4618

MSP430F4618

ACTIVE

8 MHz MCU with 116KB Flash, 8KB SRAM, 12-bit ADC, comparator, DMA, I2C/SPI/UART, 160 seg LCD

Texas Instruments MSP430F4618 Product Info

1 April 2026 1

Parameters

CPU

MSP430

Frequency (MHz)

8

Flash memory (kByte)

116

RAM (kByte)

8

ADC type

12-bit SAR

Features

LCD, Real-time clock

UART

1

Number of ADC channels

12

SPI

1

USB

No

Hardware accelerators

0

Operating temperature range (°C)

-40 to 85

Rating

Catalog

Communication interface

I2C, SPI, UART

Operating system

BareMetal (No OS), TI RTOS

Nonvolatile memory (kByte)

116

Number of GPIOs

80

Number of I2Cs

1

Security

Secure debug

Package

LQFP (PZ)-100-256 mm² 16 x 16

Features

  • Low Supply-Voltage Range, 1.8 V to 3.6 V
  • Ultralow-Power Consumption:
    • Active Mode: 400 µA at 1 MHz, 2.2 V
    • Standby Mode: 1.3 µA
    • Off Mode (RAM Retention): 0.22 µA
  • Five Power-Saving Modes
  • Wake-Up From Standby Mode in Less Than 6 µs
  • 16-Bit RISC Architecture, Extended Memory, 125-ns Instruction Cycle Time
  • Three Channel Internal DMA
  • 12-Bit A/D Converter With Internal Reference, Sample-and-Hold and Autoscan
    Feature (MSP430x461x only)
  • 16-Bit Timer_A With Three Capture/Compare Registers
  • 16-Bit Timer_B With Seven Capture/Compare-With-Shadow Registers
  • On-Chip Comparator
  • Supply Voltage Supervisor/Monitor With Programmable Level Detection
  • Basic Timer With Real Time Clock Feature
  • Integrated LCD Driver up to 160 Segments With Regulated Charge Pump
  • Serial Communication Interface (USART1), Select Asynchronous UART or
    Synchronous SPI by Software
  • Universal Serial Communication Interface
    • Enhanced UART Supporting Auto-Baudrate Detection
    • IrDA Encoder and Decoder
    • Synchronous SPI
    • I2C™
  • Serial Onboard Programming, Programmable Code Protection by Security Fuse
  • Brownout Detector
  • Family Members Include:
    • MSP430x4616, MSP430x46161(1):
      • 92KB+256B Flash or ROM Memory
      • 4KB RAM
    • MSP430x4617, MSP430x46171(1):
      • 92KB+256B Flash or ROM Memory
      • 8KB RAM
    • MSP430x4618, MSP430x46181(1):
      • 116KB+256B Flash or ROM Memory
      • 8KB RAM
    • MSP430x4619, MSP430x46191(1):
      • 120KB+256B Flash or ROM Memory
      • 4KB RAM
  • For Complete Module Descriptions, Refer to the MSP430x4xx Family User’s Guide

(1) The MSP430F461x1 devices are identical to the MSP430F461x devices, with the exception that the ADC12 module is not implemented.

  • Low Supply-Voltage Range, 1.8 V to 3.6 V
  • Ultralow-Power Consumption:
    • Active Mode: 400 µA at 1 MHz, 2.2 V
    • Standby Mode: 1.3 µA
    • Off Mode (RAM Retention): 0.22 µA
  • Five Power-Saving Modes
  • Wake-Up From Standby Mode in Less Than 6 µs
  • 16-Bit RISC Architecture, Extended Memory, 125-ns Instruction Cycle Time
  • Three Channel Internal DMA
  • 12-Bit A/D Converter With Internal Reference, Sample-and-Hold and Autoscan
    Feature (MSP430x461x only)
  • 16-Bit Timer_A With Three Capture/Compare Registers
  • 16-Bit Timer_B With Seven Capture/Compare-With-Shadow Registers
  • On-Chip Comparator
  • Supply Voltage Supervisor/Monitor With Programmable Level Detection
  • Basic Timer With Real Time Clock Feature
  • Integrated LCD Driver up to 160 Segments With Regulated Charge Pump
  • Serial Communication Interface (USART1), Select Asynchronous UART or
    Synchronous SPI by Software
  • Universal Serial Communication Interface
    • Enhanced UART Supporting Auto-Baudrate Detection
    • IrDA Encoder and Decoder
    • Synchronous SPI
    • I2C™
  • Serial Onboard Programming, Programmable Code Protection by Security Fuse
  • Brownout Detector
  • Family Members Include:
    • MSP430x4616, MSP430x46161(1):
      • 92KB+256B Flash or ROM Memory
      • 4KB RAM
    • MSP430x4617, MSP430x46171(1):
      • 92KB+256B Flash or ROM Memory
      • 8KB RAM
    • MSP430x4618, MSP430x46181(1):
      • 116KB+256B Flash or ROM Memory
      • 8KB RAM
    • MSP430x4619, MSP430x46191(1):
      • 120KB+256B Flash or ROM Memory
      • 4KB RAM
  • For Complete Module Descriptions, Refer to the MSP430x4xx Family User’s Guide

(1) The MSP430F461x1 devices are identical to the MSP430F461x devices, with the exception that the ADC12 module is not implemented.

Description

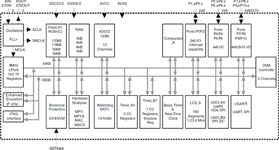
The Texas Instruments MSP430 family of ultralow-power microcontrollers consists of several devices featuring different sets of peripherals targeted for various applications. The architecture, combined with five low-power modes, is optimized to achieve extended battery life in portable measurement applications. The devices feature a powerful 16-bit RISC CPU, 16-bit registers, and constant generators that contribute to maximum code efficiency. The digitally controlled oscillator (DCO) allows wake-up from low-power modes to active mode in less than
6 µs.

The MSP430x461x(1) series are microcontroller configurations with two 16-bit timers, a high-performance 12-bit A/D converter (MSP430x461x only), one universal serial communication interface (USCI), one universal synchronous/asynchronous communication interface (USART), DMA, 80 I/O pins, and a liquid crystal display (LCD) driver with regulated charge pump.

Typical applications for this device include portable medical applications and e-meter applications.

The Texas Instruments MSP430 family of ultralow-power microcontrollers consists of several devices featuring different sets of peripherals targeted for various applications. The architecture, combined with five low-power modes, is optimized to achieve extended battery life in portable measurement applications. The devices feature a powerful 16-bit RISC CPU, 16-bit registers, and constant generators that contribute to maximum code efficiency. The digitally controlled oscillator (DCO) allows wake-up from low-power modes to active mode in less than
6 µs.

The MSP430x461x(1) series are microcontroller configurations with two 16-bit timers, a high-performance 12-bit A/D converter (MSP430x461x only), one universal serial communication interface (USCI), one universal synchronous/asynchronous communication interface (USART), DMA, 80 I/O pins, and a liquid crystal display (LCD) driver with regulated charge pump.

Typical applications for this device include portable medical applications and e-meter applications.

Subscribe to Welllinkchips !
Your Name
* Email
Submit a request