0
PCA9543A
  • PCA9543A
  • PCA9543A
  • PCA9543A
  • PCA9543A

PCA9543A

ACTIVE

2-channel 2.3- to 5.5-V I2C/SMBus switch with interrupt, reset & voltage translation

Texas Instruments PCA9543A Product Info

1 April 2026 1

Parameters

Addresses

4

Supply voltage (max) (V)

5.5

Supply voltage (min) (V)

2.3

Features

Interrupt pin, Reset pin

Rating

Catalog

Frequency (max) (MHz)

0.4

Operating temperature range (°C)

-40 to 85

Number of channels

2

Package

SOIC (D)-14-51.9 mm² 8.65 x 6

Features

  • 1-of-2 Bidirectional Translating Switches
  • I2C Bus and SMBus Compatible
  • Two Active-Low Interrupt Inputs
  • Active-Low Interrupt Output
  • Active-Low Reset Input
  • Two Address Pins Allowing up to Four PCA9543A Devices on the I2C Bus
  • Channel Selection Via I2C Bus, in Any Combination
  • Power-up With All Switch Channels Deselected
  • Low RON Switches
  • Allows Voltage-Level Translation Between 1.8-V, 2.5-V, 3.3-V, and 5-V Buses
  • No Glitch on Power-up
  • Supports Hot Insertion
  • Low Standby Current
  • Operating Power-Supply Voltage Range of 2.3 V to 5.5 V
  • 5.5-V Tolerant Inputs
  • 0 to 400-kHz Clock Frequency
  • Latch-Up Performance Exceeds 100-mA Per JESD78
  • ESD Protection Exceeds JESD 22
    • 2000-V Human-Body Model (A114-A)
    • 1000-V Charged-Device Model (C101)
  • 1-of-2 Bidirectional Translating Switches
  • I2C Bus and SMBus Compatible
  • Two Active-Low Interrupt Inputs
  • Active-Low Interrupt Output
  • Active-Low Reset Input
  • Two Address Pins Allowing up to Four PCA9543A Devices on the I2C Bus
  • Channel Selection Via I2C Bus, in Any Combination
  • Power-up With All Switch Channels Deselected
  • Low RON Switches
  • Allows Voltage-Level Translation Between 1.8-V, 2.5-V, 3.3-V, and 5-V Buses
  • No Glitch on Power-up
  • Supports Hot Insertion
  • Low Standby Current
  • Operating Power-Supply Voltage Range of 2.3 V to 5.5 V
  • 5.5-V Tolerant Inputs
  • 0 to 400-kHz Clock Frequency
  • Latch-Up Performance Exceeds 100-mA Per JESD78
  • ESD Protection Exceeds JESD 22
    • 2000-V Human-Body Model (A114-A)
    • 1000-V Charged-Device Model (C101)

Description

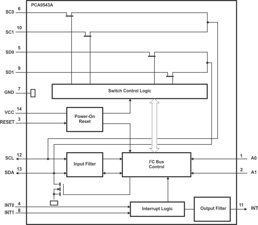
The PCA9543A is a dual bidirectional translating switch controlled by the I2C bus. The SCL/SDA upstream pair fans out to two downstream pairs, or channels. Either individual SCn/SDn channel or both channels can be selected, determined by the contents of the programmable control register. Two interrupt inputs ( INT1INT0), one for each of the downstream pairs, are provided. One interrupt output ( INT) acts as an AND of the two interrupt inputs.

An active-low reset ( RESET) input allows the PCA9543A to recover from a situation where one of the downstream I2C buses is stuck in a low state. Pulling RESET low resets the I2C state machine and causes both of the channels to be deselected, as does the internal power-on reset function.

The pass gates of the switches are constructed such that the VCC pin can be used to limit the maximum high voltage, which will be passed by the PCA9543A. This allows the use of different bus voltages on each pair, so that 1.8-V, 2.5-V, or 3.3-V parts can communicate with 5-V parts without any additional protection. External pull-up resistors pull the bus up to the desired voltage level for each channel. All I/O pins are 5.5-V tolerant.

The PCA9543A is a dual bidirectional translating switch controlled by the I2C bus. The SCL/SDA upstream pair fans out to two downstream pairs, or channels. Either individual SCn/SDn channel or both channels can be selected, determined by the contents of the programmable control register. Two interrupt inputs ( INT1INT0), one for each of the downstream pairs, are provided. One interrupt output ( INT) acts as an AND of the two interrupt inputs.

An active-low reset ( RESET) input allows the PCA9543A to recover from a situation where one of the downstream I2C buses is stuck in a low state. Pulling RESET low resets the I2C state machine and causes both of the channels to be deselected, as does the internal power-on reset function.

The pass gates of the switches are constructed such that the VCC pin can be used to limit the maximum high voltage, which will be passed by the PCA9543A. This allows the use of different bus voltages on each pair, so that 1.8-V, 2.5-V, or 3.3-V parts can communicate with 5-V parts without any additional protection. External pull-up resistors pull the bus up to the desired voltage level for each channel. All I/O pins are 5.5-V tolerant.

Subscribe to Welllinkchips !
Your Name
* Email
Submit a request