0
BUF08630
  • BUF08630
  • BUF08630

BUF08630

ACTIVE

8-CH Gamma-Voltage Generator w/Adjustable Gain Vcom & 1/2 AVDD Topology

Texas Instruments BUF08630 Product Info

1 April 2026 1

Parameters

Display type

LCD unipolar

IC integration

Gamma buffer, VCOM

Vin (min) (V)

9

Vin (max) (V)

20

Applications

13 to 21 inches, 21 inches and above, 7 inches or less, 7 to 13 inches

Source driver voltage (min) (V)

9

Source driver voltage (max) (V)

20

Level shifter/scan driver (Ch)

0

Features

Gamma buffer, I2C interface, VCOM or op amp

Rating

Catalog

Operating temperature range (°C)

-40 to 95

Package

VQFN (RGW)-20-25 mm² 5 x 5

Features

  • 10-Bit Resolution
  • 8-Channel P-Gamma
  • 1-Channel P-VCOM
  • High Slew Rate VCOM: 45 V/µs
  • 16x Rewritable Nonvolatile Memory
  • Two Independent Pin-Selectable Memory Banks
  • Rail-to-Rail Output:
    • 300 mV Min Swing-to-Rail (10 mA)
    • > 300 mA Max IOUT
  • Low Supply Current
  • Supply Voltage: 9 V to 20 V
  • Digital Supply: 2 V to 5.5 V
  • Two-Wire Interface:
    • Supports 400 kHz and 3.4 MHz
  • 1/2 AVDD Capability
  • APPLICATIONS
    • TFT-LCD Reference Drivers

All other trademarks are the property of their respective owners

  • 10-Bit Resolution
  • 8-Channel P-Gamma
  • 1-Channel P-VCOM
  • High Slew Rate VCOM: 45 V/µs
  • 16x Rewritable Nonvolatile Memory
  • Two Independent Pin-Selectable Memory Banks
  • Rail-to-Rail Output:
    • 300 mV Min Swing-to-Rail (10 mA)
    • > 300 mA Max IOUT
  • Low Supply Current
  • Supply Voltage: 9 V to 20 V
  • Digital Supply: 2 V to 5.5 V
  • Two-Wire Interface:
    • Supports 400 kHz and 3.4 MHz
  • 1/2 AVDD Capability
  • APPLICATIONS
    • TFT-LCD Reference Drivers

All other trademarks are the property of their respective owners

Description

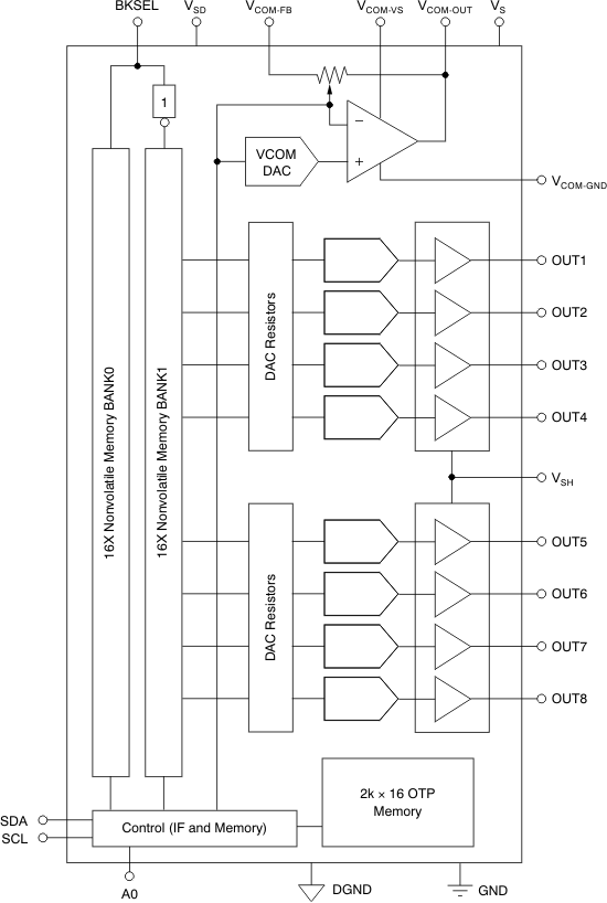
The BUF08630 offers eight programmable gamma channels and one programmable VCOM channel.

The final gamma and VCOM values can be stored in the on-chip, nonvolatile memory. To allow for programming errors or liquid crystal display (LCD) panel rework, the BUF08630 supports up to 16 write operations to the on-chip memory.

The BUF08630 has two separate memory banks, allowing simultaneous storage of two different gamma curves to facilitate switching between gamma curves.

All gamma and VCOM channels offer a rail-to-rail output that typically swings to within 150 mV of either supply rail with a 10-mA load. All channels are programmed using a two-wire interface that supports standard operations up to 400 kHz, and high-speed data transfers up to 3.4 MHz.

The BUF08630 is manufactured using Texas Instruments’ proprietary, state-of-the-art, high-voltage CMOS process. This process offers very dense logic and high supply voltage operation of up to 20V. The BUF08630 is available in a 20-pin QFN package, and is specified from –40°C to +95°C.

The BUF08630 offers eight programmable gamma channels and one programmable VCOM channel.

The final gamma and VCOM values can be stored in the on-chip, nonvolatile memory. To allow for programming errors or liquid crystal display (LCD) panel rework, the BUF08630 supports up to 16 write operations to the on-chip memory.

The BUF08630 has two separate memory banks, allowing simultaneous storage of two different gamma curves to facilitate switching between gamma curves.

All gamma and VCOM channels offer a rail-to-rail output that typically swings to within 150 mV of either supply rail with a 10-mA load. All channels are programmed using a two-wire interface that supports standard operations up to 400 kHz, and high-speed data transfers up to 3.4 MHz.

The BUF08630 is manufactured using Texas Instruments’ proprietary, state-of-the-art, high-voltage CMOS process. This process offers very dense logic and high supply voltage operation of up to 20V. The BUF08630 is available in a 20-pin QFN package, and is specified from –40°C to +95°C.

Subscribe to Welllinkchips !
Your Name
* Email
Submit a request