0
AFE44S30
  • AFE44S30
  • AFE44S30

AFE44S30

ACTIVE

Ultra-low-power integrated analog front end (AFE) for wearable optical biosensing with FIFO and SPI

Texas Instruments AFE44S30 Product Info

1 April 2026 1

Parameters

Applications

HRV, Hearables, Optical-HRM for wearables, SpO2, Vo2 max

Number of input channels

4

Resolution (Bits)

22

Number of LEDs

8

Interface type

SPI

Operating temperature range (°C)

-40 to 85

Rating

Catalog

Package

DSBGA (YZ)-30-4.8 mm² 2.4 x 2

Features

  • Supports signal acquisition of up to 24 phases
  • Flexible allocation of 8 LED, 4 PD in each phase
  • Simultaneous signal acquisition from different sensors at different data rates
  • Accurate, continuous heart-rate monitoring:
    • System SNR up to 108-dB at 16 µA PD current
    • Low Current for Continuous Operation on a Wearable Device with a Typical Value: 15 µA for an LED, 20 µA for the Receiver
  • Transmitter:
    • Supports common anode LED configuration
    • 8-Bit programmable LED current with range adjustable from 25 mA to 250 mA
    • Mode to fire two LEDs in parallel with independent per-phase current control
    • Programmable LED on-time per-phase
    • Simultaneous support of 8 LEDs for SpO2, HRM, or multi-wavelength HRM
  • Receiver:
    • Supports 4 Time-Multiplexed Photodiode Inputs
    • 2 parallel receivers (two sets of TIA/filter)
    • Individual Ambient Offset Subtraction DAC at each TIA Input with 8-bit per-phase control and range adjustable up to 255-µA
    • Individual LED Offset Subtraction DAC at each TIA input with 5-bit per-phase control and 15.5-µA range
    • Close to 100 dB ambient rejection up to 10 Hz
    • Noise filtering with programmable bandwidth
    • Transimpedance Gain: 3.7 kΩ to 1 MΩ
  • Supports external clock and internal oscillator modes
  • Option to acquire data synchronized with a system master clock
  • Automatic cancellation of DC from ambient, LED
  • FIFO with 128-sample depth
  • SPI interface
  • 2.6-mm × 2.1-mm DSBGA, 0.4-mm pitch
  • Supplies: Rx: 1.7 V-1.9 V (LDO bypass); 1.9 V-3.6 V (LDO enabled), Tx: 3 V-5.5 V, IO: 1.7-3.6 V
  • Supports signal acquisition of up to 24 phases
  • Flexible allocation of 8 LED, 4 PD in each phase
  • Simultaneous signal acquisition from different sensors at different data rates
  • Accurate, continuous heart-rate monitoring:
    • System SNR up to 108-dB at 16 µA PD current
    • Low Current for Continuous Operation on a Wearable Device with a Typical Value: 15 µA for an LED, 20 µA for the Receiver
  • Transmitter:
    • Supports common anode LED configuration
    • 8-Bit programmable LED current with range adjustable from 25 mA to 250 mA
    • Mode to fire two LEDs in parallel with independent per-phase current control
    • Programmable LED on-time per-phase
    • Simultaneous support of 8 LEDs for SpO2, HRM, or multi-wavelength HRM
  • Receiver:
    • Supports 4 Time-Multiplexed Photodiode Inputs
    • 2 parallel receivers (two sets of TIA/filter)
    • Individual Ambient Offset Subtraction DAC at each TIA Input with 8-bit per-phase control and range adjustable up to 255-µA
    • Individual LED Offset Subtraction DAC at each TIA input with 5-bit per-phase control and 15.5-µA range
    • Close to 100 dB ambient rejection up to 10 Hz
    • Noise filtering with programmable bandwidth
    • Transimpedance Gain: 3.7 kΩ to 1 MΩ
  • Supports external clock and internal oscillator modes
  • Option to acquire data synchronized with a system master clock
  • Automatic cancellation of DC from ambient, LED
  • FIFO with 128-sample depth
  • SPI interface
  • 2.6-mm × 2.1-mm DSBGA, 0.4-mm pitch
  • Supplies: Rx: 1.7 V-1.9 V (LDO bypass); 1.9 V-3.6 V (LDO enabled), Tx: 3 V-5.5 V, IO: 1.7-3.6 V

Description

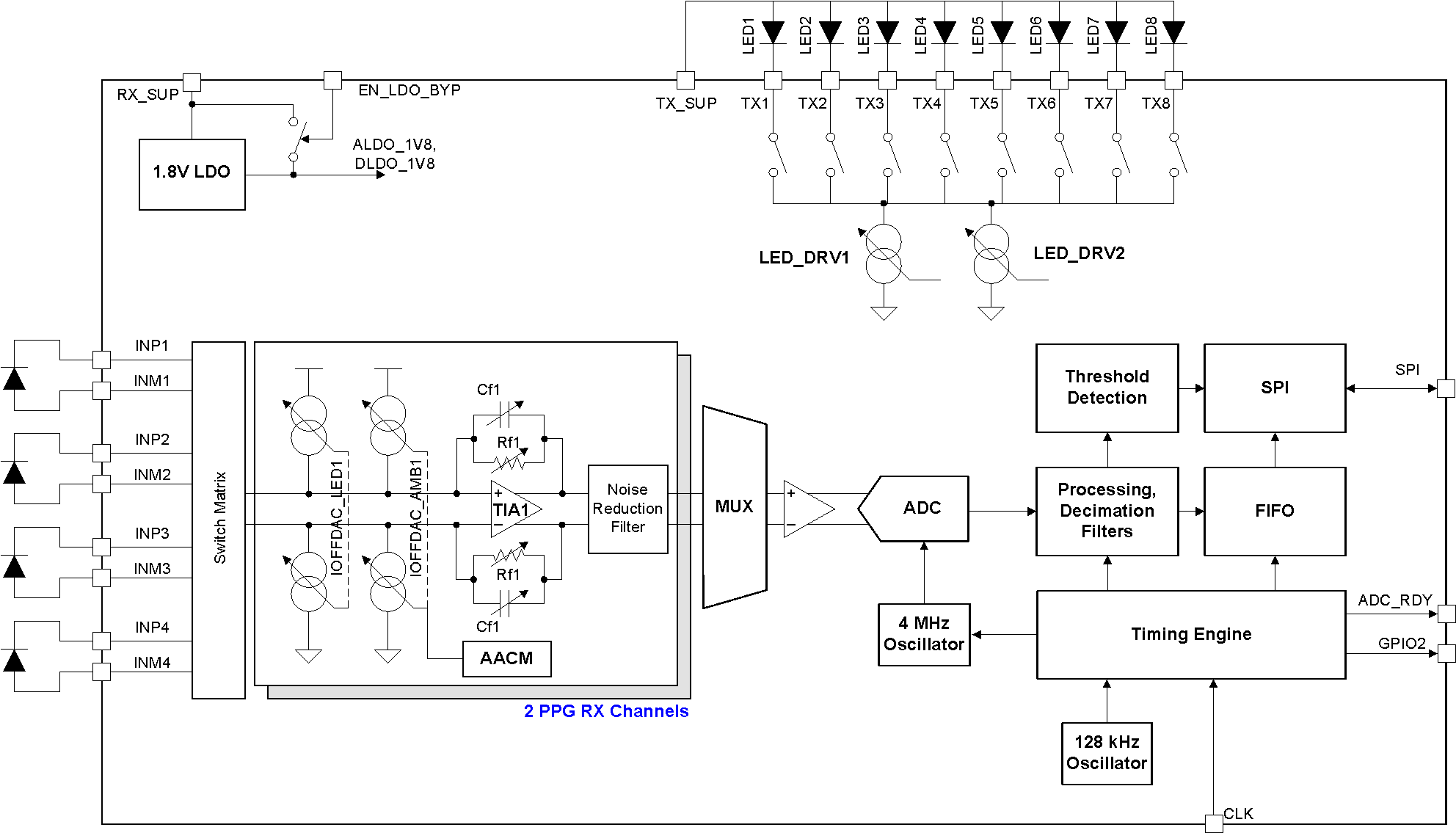
The AFE44S30 is an analog front-end for optical bio-sensing applications, such as heart-rate monitoring (HRM) and saturation of peripheral capillary oxygen (SpO2). The device supports up to eight switching light-emitting diodes (LEDs) and up to four photodiodes. Up to 24 signal phases can be defined and the signal can be acquired from each phase in a synchronized manner. The current from the photodiode is converted into voltage by the transimpedance amplifier (TIA) and digitized using an analog-to-digital converter (ADC). The ADC code can be stored in a 128-sample First in, First out (FIFO) block. The FIFO can be read out using a SPI interface. The AFE also has a fully-integrated LED driver with an 8-bit current control. The device has a high dynamic range transmit-and-receive circuitry that helps with the sensing of very small signal levels.

The AFE44S30 is an analog front-end for optical bio-sensing applications, such as heart-rate monitoring (HRM) and saturation of peripheral capillary oxygen (SpO2). The device supports up to eight switching light-emitting diodes (LEDs) and up to four photodiodes. Up to 24 signal phases can be defined and the signal can be acquired from each phase in a synchronized manner. The current from the photodiode is converted into voltage by the transimpedance amplifier (TIA) and digitized using an analog-to-digital converter (ADC). The ADC code can be stored in a 128-sample First in, First out (FIFO) block. The FIFO can be read out using a SPI interface. The AFE also has a fully-integrated LED driver with an 8-bit current control. The device has a high dynamic range transmit-and-receive circuitry that helps with the sensing of very small signal levels.

Subscribe to Welllinkchips !
Your Name
* Email
Submit a request