0
LMH1228
  • LMH1228
  • LMH1228

LMH1228

ACTIVE

12G UHD-SDI dual cable driver with integrated reclocker

Texas Instruments LMH1228 Product Info

1 April 2026 0

Parameters

Function

Cable driver, Cable driver with reclocker

Supply voltage (V)

2.5

Power consumption (mW)

315

Data rate (max) (Mbps)

11880

Control interface

Pin, SMBus, SPI

Operating temperature range (°C)

-40 to 85

Package

WQFN (RTV)-32-25 mm² 5 x 5

Features

  • Supports ST-2082-1 (12G), ST-2081-1 (6G), ST-424 (3G), ST-292 (HD), and ST-259 (SD)
  • Compatible with DVB-ASI and AES10 (MADI)
  • Integrated reclocker locks to SMPTE rates of 11.88 Gbps, 5.94 Gbps, 2.97 Gbps, 1.485 Gbps or divide-by-1.001 sub-rates and 270 Mbps
  • Integrated Eye Opening Monitor (EOM)
  • Dual differential output cable drivers
  • On-chip 75-Ω termination and return loss compensation network
  • Adaptive PCB input equalizer
  • Reclocked 100-Ω loop-back output
  • Automatic slew rate control on 75-Ω outputs
  • Automatic pre-emphasis and output amplitude on 75-Ω outputs
  • Programmable de-emphasis and output amplitude on 100-Ω output
  • Polarity inversion on 75-Ω and 100-Ω outputs
  • Automatic power save in absence of input signal
    • Power Consumption: 25 mW (Typical)
  • Power-Down Control Through ENABLE Pin
  • Single 2.5-V Supply
    • Power consumption: 305 mW (typical)
  • Programmable through pins, SPI, or SMBus interface
  • –40°C to +85°C operating temperature range
  • 5-mm × 5-mm, 32-pin WQFN package
  • Supports ST-2082-1 (12G), ST-2081-1 (6G), ST-424 (3G), ST-292 (HD), and ST-259 (SD)
  • Compatible with DVB-ASI and AES10 (MADI)
  • Integrated reclocker locks to SMPTE rates of 11.88 Gbps, 5.94 Gbps, 2.97 Gbps, 1.485 Gbps or divide-by-1.001 sub-rates and 270 Mbps
  • Integrated Eye Opening Monitor (EOM)
  • Dual differential output cable drivers
  • On-chip 75-Ω termination and return loss compensation network
  • Adaptive PCB input equalizer
  • Reclocked 100-Ω loop-back output
  • Automatic slew rate control on 75-Ω outputs
  • Automatic pre-emphasis and output amplitude on 75-Ω outputs
  • Programmable de-emphasis and output amplitude on 100-Ω output
  • Polarity inversion on 75-Ω and 100-Ω outputs
  • Automatic power save in absence of input signal
    • Power Consumption: 25 mW (Typical)
  • Power-Down Control Through ENABLE Pin
  • Single 2.5-V Supply
    • Power consumption: 305 mW (typical)
  • Programmable through pins, SPI, or SMBus interface
  • –40°C to +85°C operating temperature range
  • 5-mm × 5-mm, 32-pin WQFN package

Description

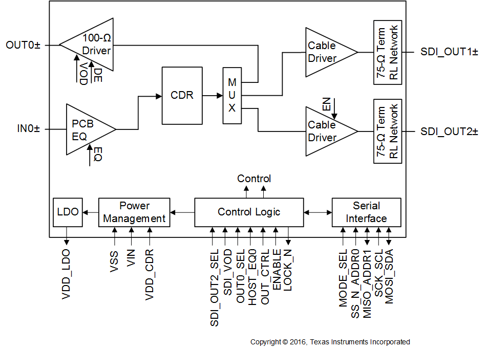
LMH1228 device is a 12G UHD-SDI low power dual output cable driver with integrated reclocker. It supports SMPTE video rates up to 11.88 Gbps, enabling UHD video for 4K/8K applications. With a wide range clock-and-data recovery (CDR) circuit, the on-chip reclocker automatically detects and locks to all SMPTE video rates up to 11.88 Gbps. The additional reclocked 100-Ω driver output on the host-side can be used for monitoring or signal distribution purposes.

The on-chip reclocker attenuates high-frequency jitter and fully regenerates the data using a clean, low-jitter clock. The reclocker has a built-in loop filter and does not require any input reference clock. The LMH1228 also has an internal eye opening monitor and a programmable pin for CDR lock indication, input signal detect, or hardware interrupts to support system diagnostics and board bring-up.

The LMH1228 is powered from a single 2.5-V supply. It is offered in a small footprint 5 mm × 5 mm 32-pin WQFN package. The LMH1228 is pin compatible with the LMH1208 (12G Dual Cable Driver).

LMH1228 device is a 12G UHD-SDI low power dual output cable driver with integrated reclocker. It supports SMPTE video rates up to 11.88 Gbps, enabling UHD video for 4K/8K applications. With a wide range clock-and-data recovery (CDR) circuit, the on-chip reclocker automatically detects and locks to all SMPTE video rates up to 11.88 Gbps. The additional reclocked 100-Ω driver output on the host-side can be used for monitoring or signal distribution purposes.

The on-chip reclocker attenuates high-frequency jitter and fully regenerates the data using a clean, low-jitter clock. The reclocker has a built-in loop filter and does not require any input reference clock. The LMH1228 also has an internal eye opening monitor and a programmable pin for CDR lock indication, input signal detect, or hardware interrupts to support system diagnostics and board bring-up.

The LMH1228 is powered from a single 2.5-V supply. It is offered in a small footprint 5 mm × 5 mm 32-pin WQFN package. The LMH1228 is pin compatible with the LMH1208 (12G Dual Cable Driver).

Subscribe to Welllinkchips !
Your Name
* Email
Submit a request