0
MAX11210
  • MAX11210

MAX11210

PRODUCTION

24-Bit, Single-Channel, Ultra-Low Power, Delta-Sigma ADCs with GPIO 24-Bit ADC Offers Industry-Leading, Noise-Free Resolution Per Unit Power

Analog Devices MAX11210 Product Info

10 February 2026 7

Features

  • Minimize Power Consumption with Ultra-Low Power Dissipation
    • Operating-Mode Current Drain < 300µA (max)
    • Sleep-Mode Current Drain < 0.4µA
  • Improve Measurement Quality with Excellent DC/AC Accuracy
    • 24.0-Bit ENOB at 5sps
        20.9-Bit Noise-Free Resolution at 10sps 19-Bit Noise-Free Resolution at 120sps
    • 570nVRMS Noise at 10sps, ±3.6VFS Input
    • 1ppm INL (typ), 10ppm (max) and No Missing Codes
  • Lower System Cost with Integrated Functionality
    • Programmable Gain (1 to 16) (MAX11210)
    • Four SPI-Controlled GPIOs for External Mux Control
    • Optional Input Buffers on Both Signal and Reference Inputs
    • > 100dB (min) 50Hz/60Hz Rejection
  • Increase System Accuracy with Built-In Self Calibration
    • On-Demand Offset and Gain Self-Calibration and System Calibration
    • User-Programmable Offset and Gain Registers
  • Increase System Robustness and Reliability with ±2kV ESD Protection
  • 2.7V to 3.6V Analog Supply Range
  • 1.7V to 3.6V Digital and I/O Supply Range
  • -40°C to 85°C Operating Temperature Range

Part details & applications

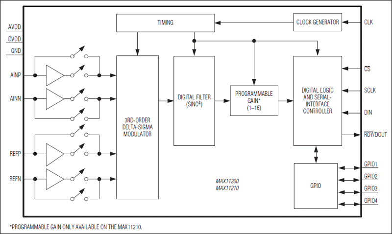
The MAX11200/MAX11210 are ultra-low-power (< 300µA active current), high-resolution, serial output ADCs. These devices provide the highest resolution per unit power in the industry, and are optimized for applications that require very high dynamic range with low power, such as sensors on a 4mA to 20mA industrial control loop. Optional input buffers provide isolation of the signal inputs from the switched capacitor sampling network allowing these converters to be used with high-impedance sources without compromising available dynamic range or linearity. The devices provide a high-accuracy internal oscillator that requires no external components. When used with the specified data rates, the internal digital filter provides more than 100dB rejection of 50Hz or 60Hz line noise. The devices are configurable using the SPI interface and are available in a 16-pin QSOP package.

Applications

  • Battery Applications
  • Portable Instrumentation
  • Sensor Measurement (Temperature and Pressure)
  • Weigh Scales

Subscribe to Welllinkchips !
Your Name
* Email
Submit a request