0
MAX5130
  • MAX5130

MAX5130

PRODUCTION

+3V/+5V, 13-Bit, Serial, Voltage-Output DACs with Internal Reference Industry's First 10ppm/C Internal Reference 13-Bit DACs

Analog Devices MAX5130 Product Info

10 February 2026 7

Features

  • Single-Supply Operation
    • +5V (MAX5130)
    • +3V (MAX5131)
  • Full-Scale Output Range
    • +4.0955V (MAX5130)
    • +2.04775V (MAX5131)
  • Built-In 10ppm/°C (max) Precision Bandgap Reference
    • +2.5V (MAX5130)
    • +1.25V (MAX5131)
  • Adjustable Output Offset
  • SPI/QSPI/Microwire-Compatible, 3-Wire Serial Interface
  • Pin-Programmable Shutdown Mode and Power Up Reset (0V or Midscale Output Voltage)
  • Buffered Output Capable of Driving 5kΩ> || 100pF or 4-20mA Loads
  • Space-Saving 16-Pin QSOP Package
  • Pin-Compatible Upgrades to the 12-Bit MAX5120/MAX5121
  • Pin-Compatible 14-Bit Upgrades Available (MAX5170/MAX5172)

Part details & applications

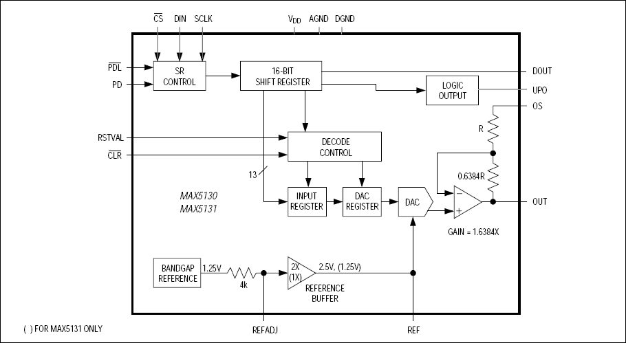
The MAX5130/MAX5131 are low-power, 13-bit, voltage-output digital-to-analog converters (DACs) with an internal precision bandgap reference and output amplifier. The MAX5130 operates on a single +5V supply with an internal reference of +2.5V, and is capable of a +4.0955V full-scale output. If necessary, the user can override the on-chip, <10ppm/°C voltage reference with an external reference. The MAX5131, operating on +3V, delivers its +2.04775V full-scale output with an internal precision reference of +1.25V. Both devices draw only 500µA of supply current, which reduces to 3µA in power-down mode. In addition, their power-up reset feature allows for a user-selectable initial output state of either 0V or midscale and minimizes output voltage glitches during power-up.

The serial interface is compatible with SPI™, QSPI™, and MICROWIRE™, which makes the MAX5130/MAX5131 suitable for cascading multiple devices. Each DAC has a double-buffered input organized as an input register followed by a DAC register. A 16-bit shift register loads data into the input register. The DAC register may be updated independently or simultaneously with the input register. Both devices are available in a 16-pin QSOP package and are specified for the extended-industrial (-40°C to +85°C) temperature range. For pin-compatible 14-bit upgrades, see the MAX5170/MAX5172 data sheet; for pin-compatible 12-bit versions, see the MAX5120/ MAX5121 data sheet.

Applications

  • Automated Test Equipment (ATE)
  • Digital Gain and Offset Control
  • General Purpose
  • Industrial Process Controls
  • Motion Control

Subscribe to Welllinkchips !
Your Name
* Email
Submit a request