0
ADXRS810
  • ADXRS810
  • ADXRS810

ADXRS810

NOT RECOMMENDED FOR NEW DESIGNS

High Performance, SPI Digital Output, Angular Rate Sensor

Analog Devices ADXRS810 Product Info

10 February 2026 8

Features

  • Excellent null offset stability over temperature
  • High vibration rejection over a wide frequency range
  • 2000 g powered shock survivability
  • SPI digital output with 16-bit data-word
  • Low noise
  • Continuous self-test
  • Fail-safe functions
  • Temperature sensor
  • 3.3 V and 5 V operation
  • −40°C to +105°C operation
  • Small, low-profile industry standard SOIC package provides yaw rate (Z-axis) response
  • Qualified for automotive applications

Part details & applications

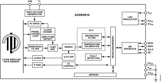
The ADXRS810 is an angular rate sensor (gyroscope) intended for automotive navigation applications. An advanced, differential, quad-sensor design rejects the influence of linear acceleration, enabling the ADXRS810 to operate in exceedingly harsh environments where shock and vibration are present.

The ADXRS810 uses an internal, continuous self-test architecture. The integrity of the electromechanical system is checked by applying a high frequency electrostatic force to the sense structure to generate a rate signal that can be differentiated from the baseband rate data and internally analyzed.

The ADXRS810 is capable of sensing an angular rate of up to ±300°/sec. Angular rate data is presented as a 16-bit word, as part of a 32-bit SPI message.

The ADXRS810 is available in a cavity plastic SOIC-16 and is capable of operating across both a wide voltage range (3.3 V to 5 V) and temperature range (−40°C to 105°C).

APPLICATIONS

  • Car Navigation
  • Platform Stabilization

Subscribe to Welllinkchips !
Your Name
* Email
Submit a request