0
ADXRS450
  • ADXRS450
  • ADXRS450

ADXRS450

RECOMMENDED FOR NEW DESIGNS

±300°/sec High Vibration Immunity Digital Gyro

Analog Devices ADXRS450 Product Info

10 February 2026 5

Features

  • Complete rate gyroscope on a single chip
  • ±300°/sec angular rate sensing
  • High vibration rejection over a wide frequency range
  • Excellent 25°/hour null offset stability
  • 2000 g powered shock survivability
  • SPI digital output with 16-bit data-word
  • Low noise and low power
  • 3.3 V and 5 V operation
  • -40°C to +105°C operation
  • Ultra small, light, and RoHS compliant
  • Two package options:
    • Low cost SOIC_CAV package for yaw rate (Z-axis) response
    • Innovative ceramic vertical mount package, which can be oriented for pitch, roll, or yaw response

Part details & applications

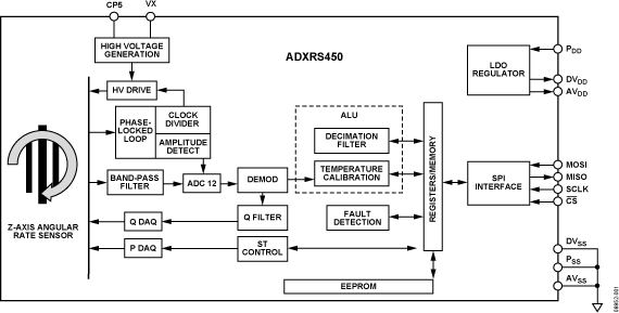
The ADXRS450 is an angular rate sensor (gyroscope) intended for industrial, medical, instrumentation, stabilization, and other high performance applications. An advanced, differential, quad sensor design rejects the influence of linear acceleration, enabling the ADXRS450 to operate in exceedingly harsh environments where shock and vibration are present.

The ADXRS450 uses an internal, continuous self-test architecture. The integrity of the electromechanical system is checked by applying a high frequency electrostatic force to the sense structure to generate a rate signal that can be differentiated from the baseband rate data and internally analyzed.

The ADXRS450 is capable of sensing angular rate of up to ±300°/sec. Angular rate data is presented as a 16-bit word, as part of a 32-bit SPI message.

The ADXRS450 is available in a cavity plastic 16-lead SOIC (SOIC_CAV) and an SMT-compatible vertical mount package (LCC_V), and is capable of operating across both a wide voltage range (3.3 V to 5 V) and temperature range (−40°C to +105°C).

APPLICATIONS

  • Rotation sensing medical applications
  • Rotation sensing industrial and instrumentation
  • High performance platform stabilization

Subscribe to Welllinkchips !
Your Name
* Email
Submit a request