0
ADM206E
  • ADM206E
  • ADM206E

ADM206E

PRODUCTION

EMI/EMC Compliant, 615 kV ESD Protected, RS-232 Line Driver/Receiver in a 24-Pin SO Package

Analog Devices ADM206E Product Info

10 February 2026 6

Features

ADM206E

Part details & applications

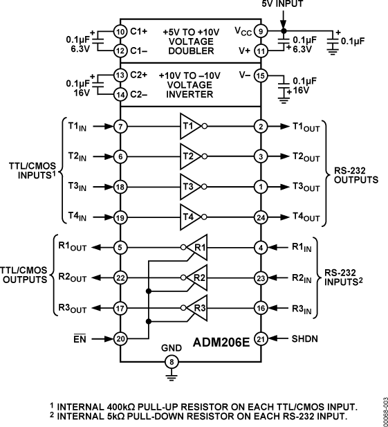
The ADM2xxE is a family of robust RS-232 and V.28 interface devices which operates from a single +5 V power supply. These products are suitable for operation in harsh electrical environments and are compliant with the EU directive on EMC (89/336/ EEC). Both the level of emissions and immunity are in compliance. EM immunity includes ESD protection in excess of ±15 kV on all I-O lines (1000-4-2), Fast Transient Burst protection (1000-4-4) and Radiated Immunity (1000-4-3). EM emissions include radiated and conducted emissions as required by Information Technology Equipment EN55022, CISPR22.

All devices fully conform to the EIA-232E and CCITT V.28 specifications and operate at data rates up to 230 kbps.

Shutdown and Enable control pins are provided on some of the products.

The shutdown function on the ADM211E disables the charge pump and all transmitters and receivers. On the ADM213E the charge pump, all transmitters, and three of the five receivers are disabled. The remaining two receivers remain active thereby allowing monitoring of peripheral devices. This feature allows the device to be shut down until a peripheral device begins communication. The active receivers can alert the processor which can then take the ADM213E out of the shutdown mode.

Operating from a single +5 V supply, four external 0.1 µF capacitors are required.

The ADM206E is available in a 24-pin SO package. The ADM207E and ADM208E are available in 24-pin DIP, SO, SSOP and TSSOP packages. The ADM211E and ADM213E are available in 28-pin SO, SSOP and TSSOP packages.

All products are backward compatible with earlier ADM2xx products facilitating easy upgrading of older designs.

Subscribe to Welllinkchips !
Your Name
* Email
Submit a request