0
TVP70025I
  • TVP70025I
  • TVP70025I

TVP70025I

ACTIVE

Triple 10-Bit 90-MSPS Video and Graphics Digitizer With Horizontal PLL

Texas Instruments TVP70025I Product Info

1 April 2026 1

Parameters

Type

HDMI Companion

Rating

Catalog

Operating temperature range (°C)

-40 to 85

Package

HTQFP (PZP)-100-256 mm² 16 x 16

Features

  • Analog Channels
    • –6-dB to 6-dB Analog Gain
    • Analog Input Multiplexers (MUXs)
    • Automatic Video Clamp
    • Three Digitizing Channels, Each With Independently Controllable Clamp, Gain, Offset, and Analog-to-Digital Converter (ADC)
    • Clamping: Selectable Clamping Between Bottom Level and Mid Level
    • Offset: 1024-Step Programmable RGB or YPbPr Offset Control
    • Gain: 8-Bit Programmable Gain Control
    • ADC: 10-Bit 90-MSPS A/D Converter
    • Automatic Level Control (ALC) Circuit
    • Composite Sync: Integrated Sync-on-Green Extraction From Green/Luminance Channel
    • Support for DC- and AC-Coupled Input Signals
    • Programmable Video Bandwidth Control
    • Supports Component Video Standards 480i, 576i, 480p, 576p, 720p, and 1080i
    • Supports PC Graphics Inputs up to 90 MSPS
    • Programmable RGB-to-YCbCr Color Space Conversion
  • Horizontal Phase-Locked Loop (PLL)
    • Fully Integrated Horizontal PLL for Pixel Clock Generation
    • 9-MHz to 90-MHz Pixel Clock Generation From HSYNC Input
    • Adjustable Horizontal PLL Loop Bandwidth for Minimum Jitter
    • 5-Bit Programmable Subpixel Accurate Positioning of Sampling Phase
  • Output Formatter
    • Supports 20-bit 4:2:2 Outputs With Embedded Syncs
    • Support for RGB/YCbCr 4:4:4 and YCbCr 4:2:2 Output Modes to Reduce Board Traces
    • Dedicated DATACLK Output With Programmable Output Polarity for Easy Latching of Output Data
  • System
    • Industry-Standard Normal/Fast I2C Interface With Register Readback Capability
    • Space-Saving 100-Pin TQFP Package
    • Thermally-Enhanced PowerPAD Package for Better Heat Dissipation
    • Industrial Temperature Range –40°C to 85°C
  • Analog Channels
    • –6-dB to 6-dB Analog Gain
    • Analog Input Multiplexers (MUXs)
    • Automatic Video Clamp
    • Three Digitizing Channels, Each With Independently Controllable Clamp, Gain, Offset, and Analog-to-Digital Converter (ADC)
    • Clamping: Selectable Clamping Between Bottom Level and Mid Level
    • Offset: 1024-Step Programmable RGB or YPbPr Offset Control
    • Gain: 8-Bit Programmable Gain Control
    • ADC: 10-Bit 90-MSPS A/D Converter
    • Automatic Level Control (ALC) Circuit
    • Composite Sync: Integrated Sync-on-Green Extraction From Green/Luminance Channel
    • Support for DC- and AC-Coupled Input Signals
    • Programmable Video Bandwidth Control
    • Supports Component Video Standards 480i, 576i, 480p, 576p, 720p, and 1080i
    • Supports PC Graphics Inputs up to 90 MSPS
    • Programmable RGB-to-YCbCr Color Space Conversion
  • Horizontal Phase-Locked Loop (PLL)
    • Fully Integrated Horizontal PLL for Pixel Clock Generation
    • 9-MHz to 90-MHz Pixel Clock Generation From HSYNC Input
    • Adjustable Horizontal PLL Loop Bandwidth for Minimum Jitter
    • 5-Bit Programmable Subpixel Accurate Positioning of Sampling Phase
  • Output Formatter
    • Supports 20-bit 4:2:2 Outputs With Embedded Syncs
    • Support for RGB/YCbCr 4:4:4 and YCbCr 4:2:2 Output Modes to Reduce Board Traces
    • Dedicated DATACLK Output With Programmable Output Polarity for Easy Latching of Output Data
  • System
    • Industry-Standard Normal/Fast I2C Interface With Register Readback Capability
    • Space-Saving 100-Pin TQFP Package
    • Thermally-Enhanced PowerPAD Package for Better Heat Dissipation
    • Industrial Temperature Range –40°C to 85°C

Description

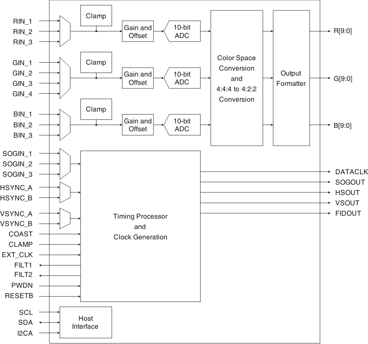
The TVP70025I is a complete solution for digitizing video and graphic signals in RGB or YPbPr color spaces. The device supports pixel rates up to 90 MHz. Therefore, it can be used for PC graphics digitizing up to WXGA (1440 × 900) resolution at a 60-Hz screen refresh rate, and in video environments for the digitizing of digital TV formats, including HDTV up to 1080i.

The TVP70025I is powered from 3.3-V and 1.8-V supply and integrates a triple high-performance analog-to-digital (A/D) converter with clamping functions and variable gain, independently programmable for each channel. The clamp timing window is provided by an external pulse or can be generated internally. The TVP70025I includes analog slicing circuitry on the SOG inputs to support sync-on-luminance or sync-on-green extraction. In addition, TVP70025I can extract discrete HSYNC and VSYNC from composite sync using a sync slicer.

The TVP70025I also contains a complete horizontal phase-locked loop (PLL) block to generate a pixel clock from the HSYNC input. Pixel clock output frequencies range from 9 MHz to 90 MHz.

All programming of the device is done via an industry-standard I2C interface, which supports both reading and writing of register settings. The TVP70025I is available in a space-saving 100-pin TQFP PowerPAD package.

The TVP70025I is a complete solution for digitizing video and graphic signals in RGB or YPbPr color spaces. The device supports pixel rates up to 90 MHz. Therefore, it can be used for PC graphics digitizing up to WXGA (1440 × 900) resolution at a 60-Hz screen refresh rate, and in video environments for the digitizing of digital TV formats, including HDTV up to 1080i.

The TVP70025I is powered from 3.3-V and 1.8-V supply and integrates a triple high-performance analog-to-digital (A/D) converter with clamping functions and variable gain, independently programmable for each channel. The clamp timing window is provided by an external pulse or can be generated internally. The TVP70025I includes analog slicing circuitry on the SOG inputs to support sync-on-luminance or sync-on-green extraction. In addition, TVP70025I can extract discrete HSYNC and VSYNC from composite sync using a sync slicer.

The TVP70025I also contains a complete horizontal phase-locked loop (PLL) block to generate a pixel clock from the HSYNC input. Pixel clock output frequencies range from 9 MHz to 90 MHz.

All programming of the device is done via an industry-standard I2C interface, which supports both reading and writing of register settings. The TVP70025I is available in a space-saving 100-pin TQFP PowerPAD package.

Subscribe to Welllinkchips !
Your Name
* Email
Submit a request