0
TUSB3410
  • TUSB3410
  • TUSB3410
  • TUSB3410

TUSB3410

ACTIVE

UART, I2C and IrDA serial port to USB bridge

Texas Instruments TUSB3410 Product Info

1 April 2026 0

Parameters

Function

USB2

USB speed (Mbps)

12

Type

Bridge

Supply voltage (V)

3.3

Rating

Catalog

Operating temperature range (°C)

-40 to 85

Package

LQFP (VF)-32-81 mm² 9 x 9

Features

  • Fully Compliant With USB 2.0 Full-Speed Specifications: TID#40340262
  • Supports 12-Mbps USB Data Rate (Full Speed)
  • Supports USB Suspend, Resume, and Remote Wake-Up Operations
  • Configurable to Bus-Powered and Self-Powered Operation
  • Supports a Total of Three Input and Three Output (Interrupt, Bulk) Endpoints
  • Integrated 8052 Microcontroller With:
    • 256 × 8 RAM for Internal Data
    • 10K × 8 ROM (With USB and I2C Bootloader)
    • 16K × 8 RAM for Code Space Loadable From Host or I2C Port
    • 2K × 8 Shared RAM Used for Data Buffers and Endpoint Descriptor Blocks (EDBs)
    • Master I2C Controller for EEPROM Device Access
    • MCU Operates at 24 MHz, Providing 2-MIPS Operation
    • 128-ms Watchdog Timer
  • Enhanced UART Features:
    • Software and Hardware Flow Control
    • Automatic RS-485 Bus Transceiver Control, With and Without Echo
    • Selectable IrDA Mode for Up to 115.2-kbps Transfer
    • Software-Selectable Baud Rate From 50 BPS to 921.6 kbps
    • Programmable Serial-Interface Characteristics
      • 5-, 6-, 7-, or 8-Bit Characters
      • Even, Odd, or No Parity-bit Generation and Detection
      • 1-, 1.5-, or 2-Stop Bit Generation
    • Line Break Generation and Detection
    • Internal Test and Loopback Capabilities
    • Modem Control Functions (CTS, RTS, DSR, RI and DCD)
    • Internal Diagnostic Capability
      • Loopback Control for Communications
        Link-Fault Isolation
      • Break, Parity, Overrun, Framing-Error Simulation
  • Fully Compliant With USB 2.0 Full-Speed Specifications: TID#40340262
  • Supports 12-Mbps USB Data Rate (Full Speed)
  • Supports USB Suspend, Resume, and Remote Wake-Up Operations
  • Configurable to Bus-Powered and Self-Powered Operation
  • Supports a Total of Three Input and Three Output (Interrupt, Bulk) Endpoints
  • Integrated 8052 Microcontroller With:
    • 256 × 8 RAM for Internal Data
    • 10K × 8 ROM (With USB and I2C Bootloader)
    • 16K × 8 RAM for Code Space Loadable From Host or I2C Port
    • 2K × 8 Shared RAM Used for Data Buffers and Endpoint Descriptor Blocks (EDBs)
    • Master I2C Controller for EEPROM Device Access
    • MCU Operates at 24 MHz, Providing 2-MIPS Operation
    • 128-ms Watchdog Timer
  • Enhanced UART Features:
    • Software and Hardware Flow Control
    • Automatic RS-485 Bus Transceiver Control, With and Without Echo
    • Selectable IrDA Mode for Up to 115.2-kbps Transfer
    • Software-Selectable Baud Rate From 50 BPS to 921.6 kbps
    • Programmable Serial-Interface Characteristics
      • 5-, 6-, 7-, or 8-Bit Characters
      • Even, Odd, or No Parity-bit Generation and Detection
      • 1-, 1.5-, or 2-Stop Bit Generation
    • Line Break Generation and Detection
    • Internal Test and Loopback Capabilities
    • Modem Control Functions (CTS, RTS, DSR, RI and DCD)
    • Internal Diagnostic Capability
      • Loopback Control for Communications
        Link-Fault Isolation
      • Break, Parity, Overrun, Framing-Error Simulation

Description

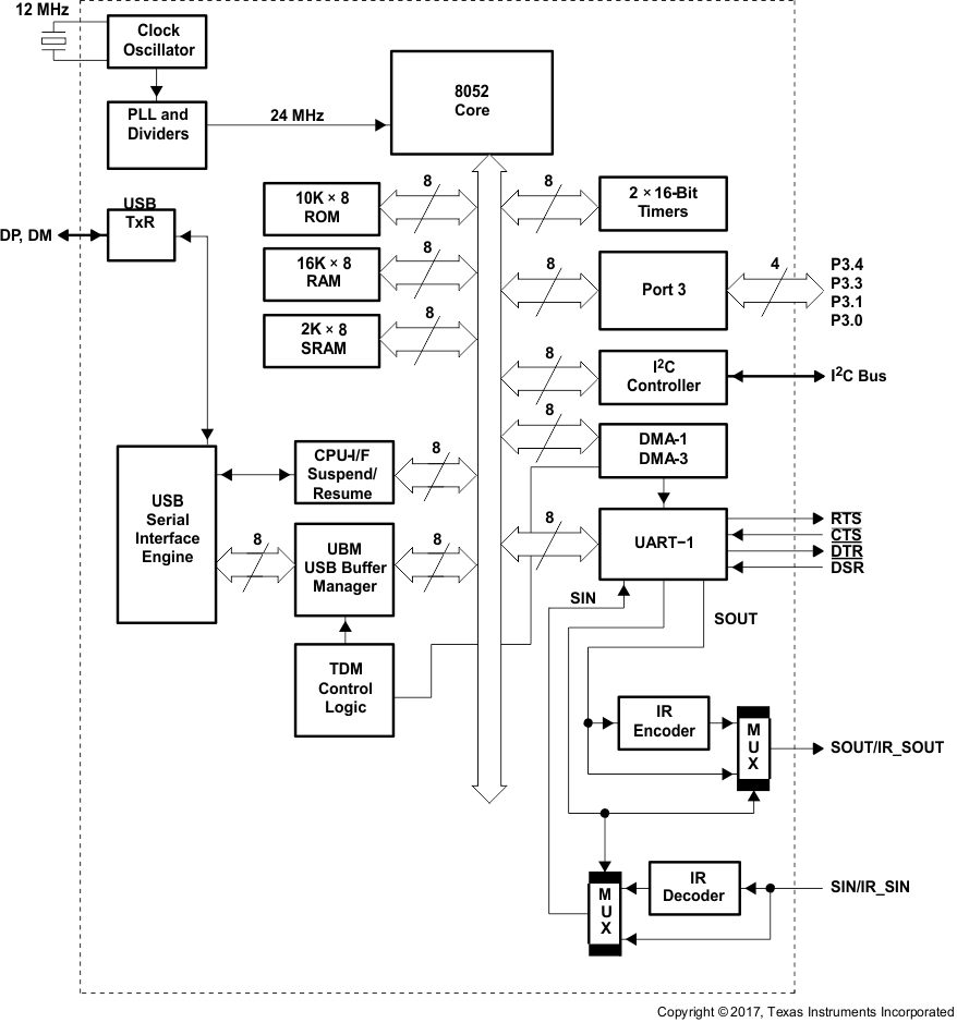
The TUSB3410 device provides bridging between a USB port and an enhanced UART serial port. The device contains an 8052 microcontroller unit (MCU) with 16KB of RAM that can be loaded from the host or from the external onboard memory through an I2C. The device also contains 10KB of ROM that allows the MCU to configure the USB port at boot time. The ROM code also contains an I2C bootloader. All device functions (such as the USB command decoding, UART setup, and error reporting) are managed by the internal MCU firmware in unison with the PC host.

The TUSB3410 device provides bridging between a USB port and an enhanced UART serial port. The device contains an 8052 microcontroller unit (MCU) with 16KB of RAM that can be loaded from the host or from the external onboard memory through an I2C. The device also contains 10KB of ROM that allows the MCU to configure the USB port at boot time. The ROM code also contains an I2C bootloader. All device functions (such as the USB command decoding, UART setup, and error reporting) are managed by the internal MCU firmware in unison with the PC host.

Subscribe to Welllinkchips !
Your Name
* Email
Submit a request