0
TPS92360
  • TPS92360
  • TPS92360
  • TPS92360
  • TPS92360
  • TPS92360

TPS92360

ACTIVE

38-V 1.2-A single channel LED backlight driver

Texas Instruments TPS92360 Product Info

1 April 2026 0

Parameters

Number of channels

1

Vin (min) (V)

2.7

Vin (max) (V)

5.5

Vout (min) (V)

2.7

Vout (max) (V)

38

Type

Inductive

Switching frequency (max) (kHz)

1500

Duty cycle (max) (%)

100

LED current per channel (mA)

400

Peak efficiency (%)

90

Topology

Boost

Operating temperature range (°C)

-40 to 85

Rating

Catalog

Package

SOT-SC70 (DCK)-5-4.2 mm² 2 x 2.1

Features

  • 2.7-V to 5.5-V input voltage
  • Integrated 40-V, 1.8-A MOSFET
  • Drives LED string up to 38 V
  • 1.2-A minimum switch current limit
  • 1.2-MHz switching frequency
  • 204-mV reference voltage
  • Internal compensation
  • PWM brightness control
  • Open LED protection
  • Undervoltage protection
  • Built-in soft-start
  • Thermal shutdown
  • Up to 90% efficiency
  • 2.7-V to 5.5-V input voltage
  • Integrated 40-V, 1.8-A MOSFET
  • Drives LED string up to 38 V
  • 1.2-A minimum switch current limit
  • 1.2-MHz switching frequency
  • 204-mV reference voltage
  • Internal compensation
  • PWM brightness control
  • Open LED protection
  • Undervoltage protection
  • Built-in soft-start
  • Thermal shutdown
  • Up to 90% efficiency

Description

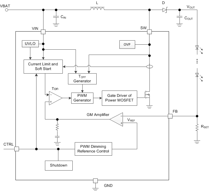
With a 40-V rated integrated switch FET, the TPS92360 is a boost converter that drives LEDs in series. The boost converter has a 40-V, 1.8-A internal MOSFET with minimum 1.2-A current limit; thus it can drive single or parallel LED strings for small- to large-size panel backlighting. The default white LED current is set with the external sensor resistor, RSET, and the feedback voltage is regulated to 204 mV, as shown in the Simplified Schematic. During the operation, the LED current can be controlled by using a pulse width modulation (PWM) signal applied to the CTRL pin, through which the duty cycle determines the feedback reference voltage. The TPS92360 does not burst the LED current; therefore, it does not generate audible noises on the output capacitor. For maximum protection, the device features integrated open LED protection that disables the TPS92360 to prevent the output voltage from exceeding the absolute maximum voltage ratings of the device during open LED conditions.

The TPS92360 is available in a space-saving 5-pin SC70 package.

With a 40-V rated integrated switch FET, the TPS92360 is a boost converter that drives LEDs in series. The boost converter has a 40-V, 1.8-A internal MOSFET with minimum 1.2-A current limit; thus it can drive single or parallel LED strings for small- to large-size panel backlighting. The default white LED current is set with the external sensor resistor, RSET, and the feedback voltage is regulated to 204 mV, as shown in the Simplified Schematic. During the operation, the LED current can be controlled by using a pulse width modulation (PWM) signal applied to the CTRL pin, through which the duty cycle determines the feedback reference voltage. The TPS92360 does not burst the LED current; therefore, it does not generate audible noises on the output capacitor. For maximum protection, the device features integrated open LED protection that disables the TPS92360 to prevent the output voltage from exceeding the absolute maximum voltage ratings of the device during open LED conditions.

The TPS92360 is available in a space-saving 5-pin SC70 package.

Subscribe to Welllinkchips !
Your Name
* Email
Submit a request