0
TPS65632
  • TPS65632
  • TPS65632

TPS65632

ACTIVE

Triple-Output AMOLED Display Power Supply

Texas Instruments TPS65632 Product Info

1 April 2026 1

Parameters

Display type

AMOLED

IC integration

AMOLED bias

Vin (min) (V)

2.9

Vin (max) (V)

4.5

Applications

7 inches or less

Source driver voltage (min) (V)

5.8

Source driver voltage (max) (V)

7.7

Level shifter/scan driver (Ch)

0

V_POS (min) (V)

4.6

V_POS (max) (V)

4.6

V_NEG (min) (V)

-5.4

V_NEG (max) (V)

-1.4

Features

Digital control interface

Topology

Boost, Buck-Boost

Rating

Catalog

Operating temperature range (°C)

-40 to 85

Package

WQFN (RTE)-16-9 mm² 3 x 3

Features

  • 2.9-V to 4.5-V Input Voltage Range
  • Boost Converter 1 (VPOS)
    • 4.6-V Output Voltage
    • 0.5% Accuracy (25°C to 85°C )
    • Dedicated Output Sense Pin
    • 300-mA Output Current
  • Inverting Buck-Boost Converter (VNEG)
    • –1.5-V to –5.4-V Programmable Output
      Voltage
    • –4-V Default Output Voltage
    • 300-mA Output Current
  • Boost Converter 2 (AVDD)
    • 5.8-V or 7.7-V Output Voltage
    • 30-mA Output Current
  • Excellent Line Transient Regulation
  • Short-Circuit Protection
  • Thermal Shutdown
  • 3-mm × 3-mm, 16-Pin WQFN Package
  • 2.9-V to 4.5-V Input Voltage Range
  • Boost Converter 1 (VPOS)
    • 4.6-V Output Voltage
    • 0.5% Accuracy (25°C to 85°C )
    • Dedicated Output Sense Pin
    • 300-mA Output Current
  • Inverting Buck-Boost Converter (VNEG)
    • –1.5-V to –5.4-V Programmable Output
      Voltage
    • –4-V Default Output Voltage
    • 300-mA Output Current
  • Boost Converter 2 (AVDD)
    • 5.8-V or 7.7-V Output Voltage
    • 30-mA Output Current
  • Excellent Line Transient Regulation
  • Short-Circuit Protection
  • Thermal Shutdown
  • 3-mm × 3-mm, 16-Pin WQFN Package

Description

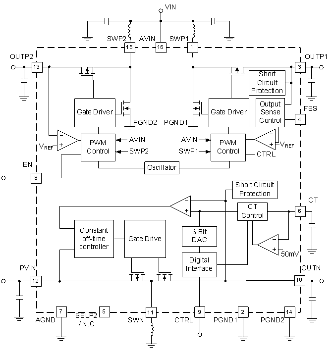
The TPS65632 is designed to drive AMOLED displays (Active Matrix Organic Light Emitting Diode) requiring three supply rails, VPOS, VNEG and AVDD. The device integrates a boost converter for VPOS, an inverting buck-boost converter for VNEG, and a boost converter for AVDD, all of which are suitable for battery operated products. The digital control pin (CTRL) allows programming the negative output voltage in digital steps. The TPS65632 uses a novel technology enabling excellent line and load regulation.

The TPS65632 is designed to drive AMOLED displays (Active Matrix Organic Light Emitting Diode) requiring three supply rails, VPOS, VNEG and AVDD. The device integrates a boost converter for VPOS, an inverting buck-boost converter for VNEG, and a boost converter for AVDD, all of which are suitable for battery operated products. The digital control pin (CTRL) allows programming the negative output voltage in digital steps. The TPS65632 uses a novel technology enabling excellent line and load regulation.

Subscribe to Welllinkchips !
Your Name
* Email
Submit a request