0
TPS61072
  • TPS61072
  • TPS61072

TPS61072

ACTIVE

Adjustable, 600-mA switch, 600-kHz boost converter in ThinSOT-23 with forced PWM mode

Texas Instruments TPS61072 Product Info

1 April 2026 0

Parameters

Rating

Catalog

Topology

Boost

Vin (max) (V)

5.5

Vin (min) (V)

0.9

Vout (max) (V)

5.5

Vout (min) (V)

1.8

Switch current limit (typ) (A)

0.7

Features

Synchronous rectification

Operating temperature range (°C)

-40 to 125

Iq (typ) (A)

0.000019

Duty cycle (max) (%)

100

Package

SOT-23-THN (DDC)-6-8.12 mm² 2.9 x 2.8

Features

  • 90% Efficient Synchronous Boost Converter
    • 75-mA Output Current at 3.3 V From 0.9-V
      Input
    • 150-mA Output Current at 3.3 V From 1.8-V
      Input
  • Device Quiescent Current: 19 µA (Typ)
  • Input Voltage Range: 0.9 V to 5.5 V
  • Adjustable Output Voltage Up to 5.5 V
  • Power-Save Mode Version Available for
    Improved Efficiency at Low Output Power
  • Load Disconnect During Shutdown
  • Overtemperature Protection
  • Small 6-Pin Thin SOT23 Package
  • 90% Efficient Synchronous Boost Converter
    • 75-mA Output Current at 3.3 V From 0.9-V
      Input
    • 150-mA Output Current at 3.3 V From 1.8-V
      Input
  • Device Quiescent Current: 19 µA (Typ)
  • Input Voltage Range: 0.9 V to 5.5 V
  • Adjustable Output Voltage Up to 5.5 V
  • Power-Save Mode Version Available for
    Improved Efficiency at Low Output Power
  • Load Disconnect During Shutdown
  • Overtemperature Protection
  • Small 6-Pin Thin SOT23 Package

Description

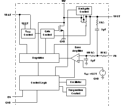
The TPS6107x devices provide a power supply solution for products powered by either a one-cell, two-cell, or three-cell alkaline, NiCd or NiMH, or one-cell Li-ion or Li-polymer battery. Output currents can go as high as 75 mA while using a single-cell alkaline, and discharge it down to 0.9 V. It can also be used for generating 5 V at 200 mA from a 3.3-V rail or a Li-ion battery. The boost converter is based on a fixed frequency, pulse-width-modulation (PWM) controller using a synchronous rectifier to obtain maximum efficiency. At low load currents the TPS61070 and TPS61073 enter the power-save mode to maintain a high efficiency over a wide load current range. The power-save mode is disabled in the TPS61071 and TPS61072, forcing the converters to operate at a fixed switching frequency. The maximum peak current in the boost switch is typically limited to a value of 600 mA.

The TPS6107x output voltage is programmed by an external resistor divider. The converter can be disabled to minimize battery drain. During shutdown, the load is completely disconnected from the battery. The device is packaged in a 6-pin thin SOT23 package (DDC).

For all available packages, see the orderable addendum at the end of the datasheet.

The TPS6107x devices provide a power supply solution for products powered by either a one-cell, two-cell, or three-cell alkaline, NiCd or NiMH, or one-cell Li-ion or Li-polymer battery. Output currents can go as high as 75 mA while using a single-cell alkaline, and discharge it down to 0.9 V. It can also be used for generating 5 V at 200 mA from a 3.3-V rail or a Li-ion battery. The boost converter is based on a fixed frequency, pulse-width-modulation (PWM) controller using a synchronous rectifier to obtain maximum efficiency. At low load currents the TPS61070 and TPS61073 enter the power-save mode to maintain a high efficiency over a wide load current range. The power-save mode is disabled in the TPS61071 and TPS61072, forcing the converters to operate at a fixed switching frequency. The maximum peak current in the boost switch is typically limited to a value of 600 mA.

The TPS6107x output voltage is programmed by an external resistor divider. The converter can be disabled to minimize battery drain. During shutdown, the load is completely disconnected from the battery. The device is packaged in a 6-pin thin SOT23 package (DDC).

For all available packages, see the orderable addendum at the end of the datasheet.

Subscribe to Welllinkchips !
Your Name
* Email
Submit a request