0
TPS61161-Q1
  • TPS61161-Q1
  • TPS61161-Q1

TPS61161-Q1

ACTIVE

Automotive White LED driver with Digital and PWM brightness control in 2mm x 2mm QFN Package

Texas Instruments TPS61161-Q1 Product Info

1 April 2026 0

Parameters

Number of channels

1

Topology

Boost

Rating

Automotive

Operating temperature range (°C)

-40 to 125

Vin (min) (V)

2.7

Vin (max) (V)

18

Vout (min) (V)

2.7

Vout (max) (V)

38

Iout (max) (A)

0.02

Iq (typ) (mA)

1.5

Switching frequency (max) (kHz)

600

Features

Global dimming, Thermal shutdown

Package

WSON (DRV)-6-4 mm² 2 x 2

Features

  • Qualified for Automotive Applications
  • 2.7-V to 18-V Input Voltage Range
  • 38-V Open LED Protection for 10 LEDs
  • 200-mV Reference Voltage With ±2% Accuracy
  • Flexible Digital and PWM Brightness Control
  • Built-In Soft Start
  • Up to 90% Efficiency
  • 2-mm × 2-mm × 0.8-mm 6-pin QFN (DRV)
    Package With Thermal Pad
  • Qualified for Automotive Applications
  • 2.7-V to 18-V Input Voltage Range
  • 38-V Open LED Protection for 10 LEDs
  • 200-mV Reference Voltage With ±2% Accuracy
  • Flexible Digital and PWM Brightness Control
  • Built-In Soft Start
  • Up to 90% Efficiency
  • 2-mm × 2-mm × 0.8-mm 6-pin QFN (DRV)
    Package With Thermal Pad

Description

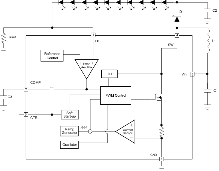
With a 40-V rated integrated switch FET, the TPS61161-Q1 is a boost converter that drives up to 10 LEDs in series. The boost converter runs at 600-kHz fixed switching frequency to reduce output ripple, improve conversion efficiency, and allow for the use of small external components.

The default white LED current is set with the external sensor resistor Rset, and the feedback voltage is regulated to 200 mV, as shown in the typical application. During the operation, the LED current can be controlled using the 1-wire digital interface (EasyScale protocol) through the CTRL pin. Alternatively, a pulse width modulation (PWM) signal can be applied to the CTRL pin through which the duty cycle determines the feedback reference voltage. In either digital or PWM mode, the TPS61161-Q1 does not burst the LED current; therefore, it does not generate audible noises on the output capacitor. For maximum protection, the device features integrated open LED protection that disables the TPS61161-Q1 to prevent the output from exceeding the absolute maximum ratings during open LED conditions.

The TPS61161 is available in a space-saving, 2-mm × 2-mm QFN (DRV) package with thermal pad.

With a 40-V rated integrated switch FET, the TPS61161-Q1 is a boost converter that drives up to 10 LEDs in series. The boost converter runs at 600-kHz fixed switching frequency to reduce output ripple, improve conversion efficiency, and allow for the use of small external components.

The default white LED current is set with the external sensor resistor Rset, and the feedback voltage is regulated to 200 mV, as shown in the typical application. During the operation, the LED current can be controlled using the 1-wire digital interface (EasyScale protocol) through the CTRL pin. Alternatively, a pulse width modulation (PWM) signal can be applied to the CTRL pin through which the duty cycle determines the feedback reference voltage. In either digital or PWM mode, the TPS61161-Q1 does not burst the LED current; therefore, it does not generate audible noises on the output capacitor. For maximum protection, the device features integrated open LED protection that disables the TPS61161-Q1 to prevent the output from exceeding the absolute maximum ratings during open LED conditions.

The TPS61161 is available in a space-saving, 2-mm × 2-mm QFN (DRV) package with thermal pad.

Subscribe to Welllinkchips !
Your Name
* Email
Submit a request