0
TPS61087
  • TPS61087
  • TPS61087
  • TPS61087

TPS61087

ACTIVE

18.5-V, 3.2-A, 650-kHz / 1.2-MHz step-up DC/DC converter

Texas Instruments TPS61087 Product Info

1 April 2026 0

Parameters

Rating

Catalog

Topology

Boost

Vin (max) (V)

6

Vin (min) (V)

2.5

Vout (max) (V)

18.5

Vout (min) (V)

3

Switch current limit (typ) (A)

4

Features

Enable, Nonsynchronous, Power good

Operating temperature range (°C)

-40 to 125

Iq (typ) (A)

0.000075

Duty cycle (max) (%)

90

Package

VSON (DRC)-10-9 mm² 3 x 3

Features

  • 2.5-V to 6-V Input Voltage Range
  • 18.5-V Boost Converter With 3.2-A Switch Current
  • 650-kHz, 1.2-MHz Selectable Switching Frequency
  • Adjustable Soft-Start
  • Thermal Shutdown
  • Undervoltage Lockout
  • 10-Pin QFN and Thin QFN Packages
  • 2.5-V to 6-V Input Voltage Range
  • 18.5-V Boost Converter With 3.2-A Switch Current
  • 650-kHz, 1.2-MHz Selectable Switching Frequency
  • Adjustable Soft-Start
  • Thermal Shutdown
  • Undervoltage Lockout
  • 10-Pin QFN and Thin QFN Packages

Description

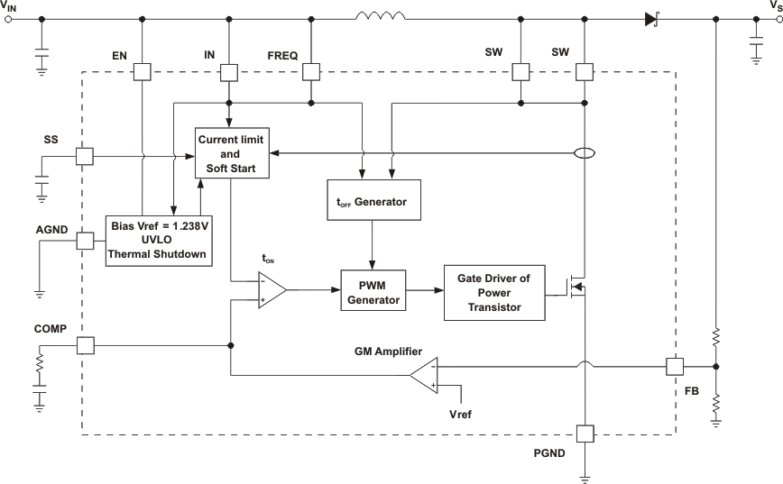
The TPS61087 is a high-frequency, high-efficiency DC-DC converter with an integrated 3.2-A, 0.13-Ω power switch capable of providing an output voltage up to 18.5 V. The selectable frequency of 650 kHz or 1.2 MHz allows the use of small external inductors and capacitors and provides fast transient response. The external compensation allows optimization of the application for specific conditions. A capacitor connected to the soft-start pin minimizes inrush current at startup.

The TPS61087 is a high-frequency, high-efficiency DC-DC converter with an integrated 3.2-A, 0.13-Ω power switch capable of providing an output voltage up to 18.5 V. The selectable frequency of 650 kHz or 1.2 MHz allows the use of small external inductors and capacitors and provides fast transient response. The external compensation allows optimization of the application for specific conditions. A capacitor connected to the soft-start pin minimizes inrush current at startup.

Subscribe to Welllinkchips !
Your Name
* Email
Submit a request