0
TPS61085
  • TPS61085
  • TPS61085
  • TPS61085

TPS61085

ACTIVE

18.5-V, 2-A, 650-kHz / 1.2-MHz step-up DC/DC converter

Texas Instruments TPS61085 Product Info

1 April 2026 1

Parameters

Rating

Catalog

Topology

Boost

Vin (max) (V)

6

Vin (min) (V)

2.3

Vout (max) (V)

18.5

Vout (min) (V)

2.8

Switch current limit (typ) (A)

2.6

Features

Enable, Nonsynchronous

Operating temperature range (°C)

-40 to 125

Iq (typ) (A)

0.00007

Duty cycle (max) (%)

90

Package

TSSOP (PW)-8-19.2 mm² 3 x 6.4

Features

  • 2.3 V to 6 V Input Voltage Range
  • 18.5-V Boost Converter With 2.0-A Switch Current
  • 650-kHz/1.2-MHz Selectable Switching Frequency
  • Adjustable Soft-Start
  • Thermal Shutdown
  • Undervoltage Lockout
  • 8-Pin VSSOP Package
  • 8-Pin TSSOP Package
  • 2.3 V to 6 V Input Voltage Range
  • 18.5-V Boost Converter With 2.0-A Switch Current
  • 650-kHz/1.2-MHz Selectable Switching Frequency
  • Adjustable Soft-Start
  • Thermal Shutdown
  • Undervoltage Lockout
  • 8-Pin VSSOP Package
  • 8-Pin TSSOP Package

Description

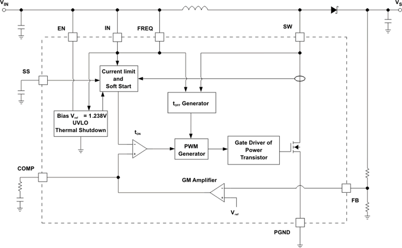
The TPS61085 is a high frequency, high efficiency DC-DC converter with an integrated 2.0-A, 0.13-Ω power switch capable of providing an output voltage up to 18.5 V. The selectable frequency of 650 kHz or 1.2 MHz allows the use of small external inductors and capacitors and provides fast transient response. The external compensation allows optimizing the application for specific conditions. A capacitor connected to the soft-start pin minimizes inrush current at startup.

The TPS61085 is a high frequency, high efficiency DC-DC converter with an integrated 2.0-A, 0.13-Ω power switch capable of providing an output voltage up to 18.5 V. The selectable frequency of 650 kHz or 1.2 MHz allows the use of small external inductors and capacitors and provides fast transient response. The external compensation allows optimizing the application for specific conditions. A capacitor connected to the soft-start pin minimizes inrush current at startup.

Subscribe to Welllinkchips !
Your Name
* Email
Submit a request