0
TPS5410-Q1
  • TPS5410-Q1
  • TPS5410-Q1

TPS5410-Q1

ACTIVE

Automotive 5.5V to 36V, 500kHz Fixed Frequency 1A Buck Converter

Texas Instruments TPS5410-Q1 Product Info

1 April 2026 1

Parameters

Rating

Automotive

Topology

Buck

Iout (max) (A)

1

Vin (max) (V)

36

Vin (min) (V)

5.5

Vout (max) (V)

31

Vout (min) (V)

1.22

Features

Enable, Fixed soft start, Overcurrent protection

Control mode

Voltage mode

Operating temperature range (°C)

-40 to 125

Iq (typ) (A)

0.003

Duty cycle (max) (%)

89

Package

SOIC (D)-8-29.4 mm² 4.9 x 6

Features

  • Qualified for automotive applications
  • Wide input voltage range: 5.5V to 36V
  • Up to 1A continuous (1.2A peak) output current
  • High efficiency up to 95% enabled by 110mΩ integrated MOSFET switch
  • Wide output voltage range: adjustable down to 1.22V with 1.5% initial accuracy
  • Internal compensation minimizes external parts count
  • Fixed 500kHz switching frequency for small filter size
  • Improved line regulation and transient response by input voltage feed forward
  • System protected by over current limiting, over voltage protection and thermal shutdown
  • –40°C to 125°C operating junction temperature range
  • Available in small 8-pin SOIC package
  • For SWIFT documentation, application notes and design software, see the TI website at www.ti.com/swift
  • Qualified for automotive applications
  • Wide input voltage range: 5.5V to 36V
  • Up to 1A continuous (1.2A peak) output current
  • High efficiency up to 95% enabled by 110mΩ integrated MOSFET switch
  • Wide output voltage range: adjustable down to 1.22V with 1.5% initial accuracy
  • Internal compensation minimizes external parts count
  • Fixed 500kHz switching frequency for small filter size
  • Improved line regulation and transient response by input voltage feed forward
  • System protected by over current limiting, over voltage protection and thermal shutdown
  • –40°C to 125°C operating junction temperature range
  • Available in small 8-pin SOIC package
  • For SWIFT documentation, application notes and design software, see the TI website at www.ti.com/swift

Description

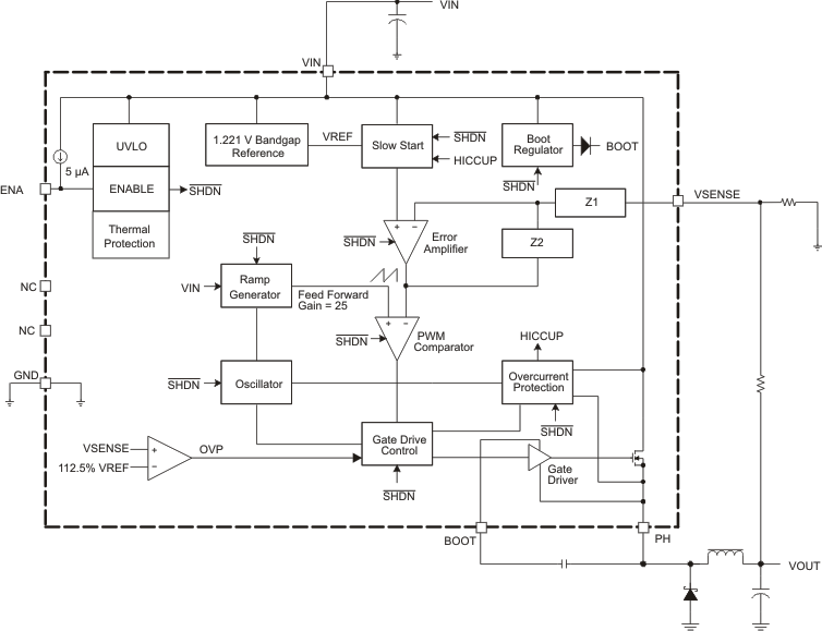
As a member of the SWIFT™ family of DC/DC regulators, the TPS5410 is a high-output-current PWM converter that integrates a low resistance high side N-channel MOSFET. Included on the substrate with the listed features is a high performance voltage error amplifier that provides tight voltage regulation accuracy under transient conditions; an undervoltage-lockout circuit to prevent start-up until the input voltage reaches 5.5V; an internally set slow-start circuit to limit inrush currents; and a voltage feed-forward circuit to improve the transient response. Using the ENA pin, shutdown supply current is reduced to 18µA typically. Other features include an active high enable, overcurrent limiting, overvoltage protection and thermal shutdown. To reduce design complexity and external component count, the TPS5410 feedback loop is internally compensated.

The TPS5410 device is available in an easy to use 8-pin SOIC package. TI provides evaluation modules and software tools to aid in quickly achieving high-performance power supply designs to meet aggressive equipment development cycles.

As a member of the SWIFT™ family of DC/DC regulators, the TPS5410 is a high-output-current PWM converter that integrates a low resistance high side N-channel MOSFET. Included on the substrate with the listed features is a high performance voltage error amplifier that provides tight voltage regulation accuracy under transient conditions; an undervoltage-lockout circuit to prevent start-up until the input voltage reaches 5.5V; an internally set slow-start circuit to limit inrush currents; and a voltage feed-forward circuit to improve the transient response. Using the ENA pin, shutdown supply current is reduced to 18µA typically. Other features include an active high enable, overcurrent limiting, overvoltage protection and thermal shutdown. To reduce design complexity and external component count, the TPS5410 feedback loop is internally compensated.

The TPS5410 device is available in an easy to use 8-pin SOIC package. TI provides evaluation modules and software tools to aid in quickly achieving high-performance power supply designs to meet aggressive equipment development cycles.

Subscribe to Welllinkchips !
Your Name
* Email
Submit a request