0
TMUX6211
  • TMUX6211
  • TMUX6211
  • TMUX6211

TMUX6211

ACTIVE

36-V Low Ron, 1:1, 4 channel, multiplexer with 1.8V logic control

Texas Instruments TMUX6211 Product Info

1 April 2026 0

Parameters

Configuration

1:1 SPST

Number of channels

4

Power supply voltage - single (V)

5, 12, 16, 20, 36

Power supply voltage - dual (V)

+/-10, +/-15, +/-18, +/-5

Protocols

Analog

Ron (typ) (Ω)

2

CON (typ) (pF)

145

ON-state leakage current (max) (µA)

0.06

Supply current (typ) (µA)

35

Bandwidth (MHz)

90

Operating temperature range (°C)

-40 to 125

Features

1.8-V compatible control inputs, Break-before-make, Fail-safe logic

Input/output continuous current (max) (A)

0.37

Rating

Catalog

Drain supply voltage (max) (V)

36

Supply voltage (max) (V)

36

Negative rail supply voltage (max) (V)

-18

Package

TSSOP (PW)-16-32 mm² 5 x 6.4

Features

  • Dual supply range: ±4.5V to ±18V
  • Single supply range: 4.5V to 36V
  • Low on-resistance: 2Ω
  • High current support: 330mA (maximum) (WQFN)
  • High current support: 220mA (maximum) (TSSOP)
  • –40°C to +125°C operating temperature
  • 1.8V logic compatible
  • Integrated pull-down resistor on logic pins
  • Fail-safe logic
  • Rail-to-rail operation
  • Bidirectional operation
  • Dual supply range: ±4.5V to ±18V
  • Single supply range: 4.5V to 36V
  • Low on-resistance: 2Ω
  • High current support: 330mA (maximum) (WQFN)
  • High current support: 220mA (maximum) (TSSOP)
  • –40°C to +125°C operating temperature
  • 1.8V logic compatible
  • Integrated pull-down resistor on logic pins
  • Fail-safe logic
  • Rail-to-rail operation
  • Bidirectional operation

Description

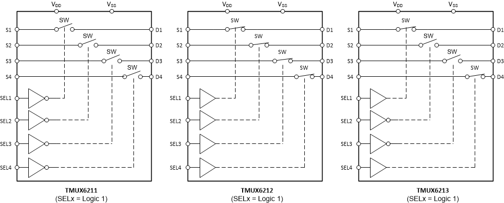
The TMUX6211, TMUX6212, and TMUX6213 are complementary metal-oxide semiconductor (CMOS) switches with four independently selectable 1:1, single-pole, single-throw (SPST) switch channels. The devices work with a single supply (4.5V to 36V), dual supplies (±4.5V to ±18V), or asymmetric supplies (such as VDD = 12V, VSS = –5V). The TMUX621x supports bidirectional analog and digital signals on the source (Sx) and drain (Dx) pins ranging from VSS to VDD.

The switches of the TMUX621x are controlled with appropriate logic control inputs on the SELx pins. The TMUX621x are part of the precision switches and multiplexers family of devices and have very low on and off leakage currents allowing them to be used in high precision measurement applications.

The TMUX6211, TMUX6212, and TMUX6213 are complementary metal-oxide semiconductor (CMOS) switches with four independently selectable 1:1, single-pole, single-throw (SPST) switch channels. The devices work with a single supply (4.5V to 36V), dual supplies (±4.5V to ±18V), or asymmetric supplies (such as VDD = 12V, VSS = –5V). The TMUX621x supports bidirectional analog and digital signals on the source (Sx) and drain (Dx) pins ranging from VSS to VDD.

The switches of the TMUX621x are controlled with appropriate logic control inputs on the SELx pins. The TMUX621x are part of the precision switches and multiplexers family of devices and have very low on and off leakage currents allowing them to be used in high precision measurement applications.

Subscribe to Welllinkchips !
Your Name
* Email
Submit a request