0
TLV716P
  • TLV716P
  • TLV716P

TLV716P

ACTIVE

150-mA, dual-channel low-dropout voltage regulator with enable

Texas Instruments TLV716P Product Info

1 April 2026 1

Parameters

Rating

Catalog

Vin (max) (V)

5.5

Vin (min) (V)

1.4

Iout (max) (A)

0.15

Output options

Dual output, Fixed Output

Vout (max) (V)

3.3

Vout (min) (V)

1.2

Fixed output options (V)

1.2, 1.8, 2.75, 2.8, 3, 3.3

Noise (µVrms)

70

PSRR at 100 KHz (dB)

18

Iq (typ) (mA)

0.05

Features

Enable, Output discharge

Thermal resistance θJA (°C/W)

149

Load capacitance (min) (µF)

0

Regulated outputs (#)

2

Accuracy (%)

1.6

Dropout voltage (Vdo) (typ) (mV)

210

Operating temperature range (°C)

-40 to 125

Package

X2SON (DPQ)-6-1.44 mm² 1.2 x 1.2

Features

  • No Input or Output Capacitors Required
  • Inrush Current Control
  • Low Crosstalk
  • Accuracy: 1.5% (–40°C to 125°C
  • Input Voltage Range: 1.4 V to 5.5 V
  • Multiple Fixed-Output Voltage Combinations
    Possible from 1 V to 3.3 V
  • Foldback Current Limit Protection
  • Package: 1.2-mm × 1.2-mm SON-6 (DPQ)
  • No Input or Output Capacitors Required
  • Inrush Current Control
  • Low Crosstalk
  • Accuracy: 1.5% (–40°C to 125°C
  • Input Voltage Range: 1.4 V to 5.5 V
  • Multiple Fixed-Output Voltage Combinations
    Possible from 1 V to 3.3 V
  • Foldback Current Limit Protection
  • Package: 1.2-mm × 1.2-mm SON-6 (DPQ)

Description

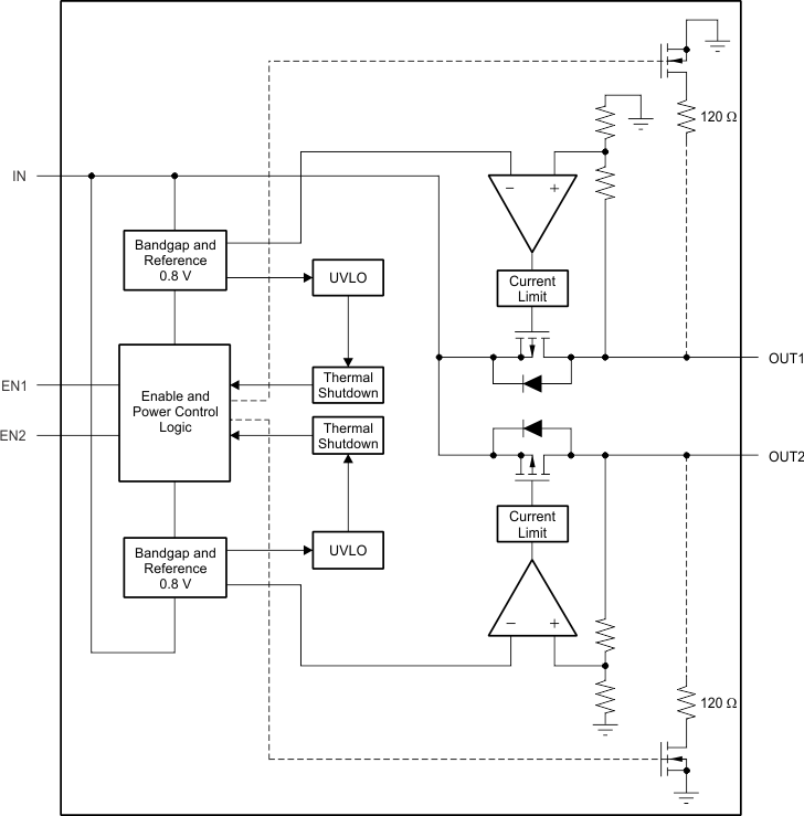
The TLV716 is a family of dual-channel, capacitor-free,150-mA, low-dropout (LDO) voltage regulators with multiple fixed-output options available from 1 V to 3.3 V. These devices provide an initial 1% accuracy and 1.5% accuracy overtemperature.

The TLV716 family is designed to be stable with or without an input or output capacitor. Eliminating the output capacitor allows for a very small solution size. The TLV716P series provides an active pulldown circuit to quickly discharge the output voltage if the application requires an output capacitor.

The device provides inrush current control during device power up and enabling. Inrush control provides constant-current charging of the output load during start-up, thereby reducing the risk of an undesired overcurrent fault from the input supply or battery.

The TLV716 family is available in a 1.2-mm × 1.2-mm SON-6 package and is ideal for space-constrained applications.

The TLV716 is a family of dual-channel, capacitor-free,150-mA, low-dropout (LDO) voltage regulators with multiple fixed-output options available from 1 V to 3.3 V. These devices provide an initial 1% accuracy and 1.5% accuracy overtemperature.

The TLV716 family is designed to be stable with or without an input or output capacitor. Eliminating the output capacitor allows for a very small solution size. The TLV716P series provides an active pulldown circuit to quickly discharge the output voltage if the application requires an output capacitor.

The device provides inrush current control during device power up and enabling. Inrush control provides constant-current charging of the output load during start-up, thereby reducing the risk of an undesired overcurrent fault from the input supply or battery.

The TLV716 family is available in a 1.2-mm × 1.2-mm SON-6 package and is ideal for space-constrained applications.

Subscribe to Welllinkchips !
Your Name
* Email
Submit a request